TOP
|
特許
|
意匠
|
商標
特許ウォッチ
Twitter
他の特許を見る
10個以上の画像は省略されています。
公開番号
2025145215
公報種別
公開特許公報(A)
公開日
2025-10-03
出願番号
2024045287
出願日
2024-03-21
発明の名称
めっき部品
出願人
マクセル株式会社
代理人
個人
,
個人
主分類
B32B
3/14 20060101AFI20250926BHJP(積層体)
要約
【課題】優れた光沢感又は透明性を持った基材を有するめっき部品であって、基材とめっき膜との密着性を向上させためっき部品を提供する。
【解決手段】めっき部品1は、基材10と、基材10の表面の一部に形成されためっき膜20とを備える。基材10は、ポリカーボネート単位とポリカーボネート単位以外の構成単位とを有する共重合体である樹脂を含む。
【選択図】図1
特許請求の範囲
【請求項1】
基材と、
前記基材の表面の一部に形成されためっき膜とを備え、
前記基材は、ポリカーボネート単位とポリカーボネート単位以外の構成単位とを有する共重合体である樹脂を含む、めっき部品。
続きを表示(約 770 文字)
【請求項2】
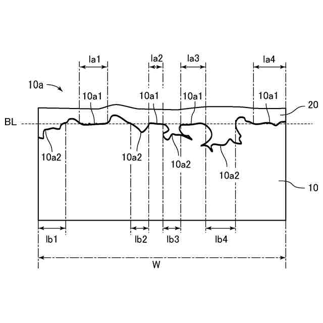
前記基材の表面において、前記めっき膜が形成されている領域であるめっき領域の表面粗さRaは、前記めっき膜が形成されていない領域である非めっき領域の表面粗さRaよりも大きい、請求項1に記載のめっき部品。
【請求項3】
前記共重合体がポリカーボネート-ポリシロキサン共重合体である、請求項1に記載のめっき部品。
【請求項4】
前記共重合体における前記ポリカーボネート単位の割合が60~98モル%である、請求項1に記載のめっき部品。
【請求項5】
前記基材の表面の前記めっき膜が形成されている領域であるめっき領域の表面粗さRaが1.0μm以上である、請求項1~4のいずれか一項に記載のめっき部品。
【請求項6】
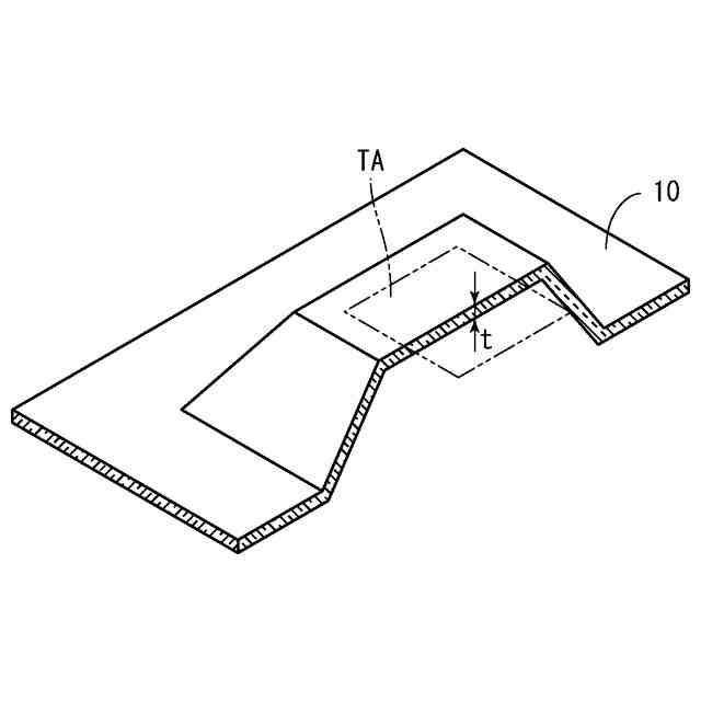
前記基材の表面のめっき膜が形成されている領域であるめっき領域は、前記基材の表面形状に沿った形状を有する平坦部と、前記平坦部から前記基材の内部に向かって窪んだ凹部とを含む断面形状を有し、
前記めっき領域における前記凹部の割合が、10~90%である、請求項1~4のいずれか一項に記載のめっき部品。
【請求項7】
前記基材が透明である、請求項1~4のいずれか一項に記載のめっき部品。
【請求項8】
前記基材の前記めっき膜が形成されていない領域である非めっき領域において、厚さ方向に光を照射したときの全光線可視光透過率が50%以上である、請求項1~4のいずれか一項に記載のめっき部品。
【請求項9】
前記基材の前記めっき膜が形成されていない領域である非めっき領域に形成され、アミド基と硫黄を含む基とを有するポリマーを含む触媒活性妨害層をさらに備える、請求項1~4のいずれか一項に記載のめっき部品。
発明の詳細な説明
【技術分野】
【0001】
本発明は、めっき部品に関し、より詳しくは、選択的にめっき膜が形成されためっき部品に関する。
続きを表示(約 1,500 文字)
【背景技術】
【0002】
三次元の樹脂成形品上に立体的に回路を形成した立体回路成形部品(MID:Molded Interconnected Device)が、スマートフォン用の内蔵アンテナを中心に市場を拡大している。MIDは、プリント基板やフレキ基板の削減、製造工程数削減等のメリットがあり、様々な製造方法が開発されている。また、自動車の内外装部品等に用いられる装飾めっき品の製造に、MIDの技術を用いることも提案されている(例えば特許文献1を参照。)。
【0003】
樹脂成形品等の絶縁性の基材上に、フォトレジストを使用せずに選択的にめっきを形成する方法として、レーザー・ダイレクト・ストラクチャリング法(以下「LDS法」という。)が知られている。LDS法では、特殊な添加剤(以下「LDS添加剤」という。)を含む樹脂成形品の表面にレーザーを照射し、レーザーを照射した部分を活性化させ、活性化させた部分にめっき膜を形成する(例えば特許文献2を参照。)。
【先行技術文献】
【特許文献】
【0004】
特開2023-16073号公報
特許第5579908号公報
【発明の概要】
【発明が解決しようとする課題】
【0005】
MIDの基材として、ポリカーボネートが用いられる場合がある。ポリカーボネートは、非晶性のエンジニアリングプラスチックであり、耐衝撃性及び寸法安定性に優れている。ポリカーボネートはまた、特有の光沢感を持つことから高意匠性樹脂として用いられるほか、高い透明度を持つことからレンズ等の光学部品の材料としても用いられる。
【0006】
絶縁性の基材の表面にめっき膜を形成する際、前処理として、6価クロム等によるエッチングが行われる場合がある。この場合、ポリカーボネートは耐薬品性が悪く、エッチングの際に白濁してしまうことから、ポリカーボネートに代えてポリカーボネートとABSとのポリマーアロイが用いられる。しかし、ABSとのポリマーアロイとすることで、ポリカーボネートの光沢感や透明性が損なわれる場合がある。
【0007】
2色成形法を用いて、めっき膜が形成される部分をABS等で形成し、めっき膜が形成されない部分をポリカーボネートで形成することも行われている。しかし、2色成形法は金型が2種類必要であるため製造コストが高くなる。また、高精細なパターンの形成が困難である。
【0008】
LDS法を用いた場合、LDS添加剤によって基材の樹脂が着色されるため、基材の透明度を高くすることが困難である。また、LDS添加剤によって、基材の光沢感が損なわれる場合がある。
【0009】
特許文献1には、LDS法とは異なる方法によって、ポリカーボネートの基材に選択的にめっき膜を形成したことが記載されている。特許文献1には、めっき膜を形成した部品(装飾めっき品)を-35℃の環境と90℃の環境とに繰り返し置くヒートショック試験を行って、所定のサイクル数までめっき膜の剥離が生じないことを確認したことが記載されている。しかし、ピール試験による密着強度の測定はされていない。
【0010】
本発明者らは、特許文献1に記載された方法でポリカーボネートの基材上にめっき膜を形成した場合、特に透明なポリカーボネートの基材上にめっき膜を形成した場合、ABS等の基材上にめっき膜を形成した場合と比較して、基材とめっき膜との密着強度が十分に高くならない場合があることを新たに知見した。
(【0011】以降は省略されています)
この特許をJ-PlatPat(特許庁公式サイト)で参照する
関連特許
マクセル株式会社
電源装置
23日前
マクセル株式会社
粘着テープ
18日前
マクセル株式会社
光学システム
3日前
マクセル株式会社
映像表示装置
8日前
マクセル株式会社
空中浮遊映像表示装置
2日前
マクセル株式会社
虚像方式映像表示装置
3日前
マクセル株式会社
空中浮遊映像表示装置
17日前
マクセル株式会社
応答出力装置およびシステム
24日前
マクセル株式会社
粉体成型体の製造方法及び製造装置
10日前
マクセル株式会社
応答出力装置および応答出力システム
18日前
マクセル株式会社
樹脂発泡糸の製造方法及びラム押出成形機
17日前
マクセル株式会社
操作方法
10日前
マクセル株式会社
情報処理端末
10日前
マクセル株式会社
伝送波の処理方法
8日前
マクセル株式会社
全固体二次電池およびその製造方法
10日前
東レ株式会社
積層体
5か月前
東レ株式会社
積層体
10か月前
東レ株式会社
積層構造体
9か月前
ユニチカ株式会社
積層体
9か月前
ユニチカ株式会社
積層体
2か月前
個人
箔転写シート
6か月前
東レ株式会社
積層フィルム
2か月前
東レ株式会社
積層フィルム
4か月前
個人
鋼材の塗膜構造
3か月前
東レ株式会社
強化繊維基材
5か月前
東レ株式会社
強化繊維基材
5か月前
東レ株式会社
積層フィルム
9か月前
東レ株式会社
積層フィルム
7か月前
東レ株式会社
光透過性表皮材
1か月前
東ソー株式会社
多層フィルム
5か月前
エスケー化研株式会社
積層体
9か月前
東レ株式会社
無配向フィルム
1か月前
ユニチカ株式会社
透明シート
3か月前
東レ株式会社
加飾用フィルム
1か月前
東洋紡株式会社
積層包装材料
3か月前
東ソー株式会社
多層フィルム
8か月前
続きを見る
他の特許を見る