TOP
|
特許
|
意匠
|
商標
特許ウォッチ
Twitter
他の特許を見る
公開番号
2025152208
公報種別
公開特許公報(A)
公開日
2025-10-09
出願番号
2024053996
出願日
2024-03-28
発明の名称
扁平形非水電解液電池およびその製造方法
出願人
マクセル株式会社
代理人
個人
,
個人
主分類
H01M
6/16 20060101AFI20251002BHJP(基本的電気素子)
要約
【課題】 放電特性に優れた扁平形非水電解液電池と、前記扁平形非水電解液電池を高い生産性で製造可能な方法とを提供する。
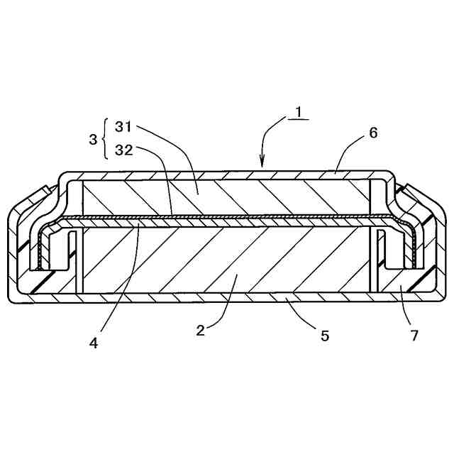
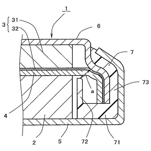
【解決手段】 本発明の扁平形非水電解液電池は、外装缶の開口をガスケットを介して封口缶で封口することで形成された電池容器を有し、負極がリチウム層を有し、リチウム層のセパレータ側に、リチウム層よりも大きな面積を有するリチウム-アルミニウム合金層が形成され、リチウム層が封口缶内に収容され、正極が外装缶内に収容されており、ガスケットは、底面が前記外装缶の内底面側に配置されるベース部と、ベース部から封口缶側へ向けて立ち上がる内壁および外壁とを有し、内壁と外壁との間には隙間が設けられていて、封口缶の周壁、セパレータの外周部およびリチウム-アルミニウム合金層の外周部が前記隙間に挿入されていることを特徴とするものである。
【選択図】 図2
特許請求の範囲
【請求項1】
外装缶の開口をガスケットを介して封口缶で封口することで形成された電池容器内に、セパレータを介して積層された正極および負極、並びに非水電解液が封入されてなる扁平形非水電解液電池であって、
前記負極は、リチウム層を有し、
前記リチウム層のセパレータ側に、前記リチウム層よりも大きな面積を有するリチウム-アルミニウム合金層が形成されており、
前記リチウム層が前記封口缶内に収容され、前記正極が前記外装缶内に収容されており、
前記ガスケットは、底面が前記外装缶の内底面側に配置されるベース部と、前記ベース部から封口缶側へ向けて立ち上がる内壁および外壁とを有し、前記内壁と前記外壁との間には隙間が設けられていて、前記封口缶の周壁、前記セパレータの外周部および前記リチウムアルミニウム合金層の外周部が前記隙間に挿入されていることを特徴とする扁平形非水電解液電池。
続きを表示(約 910 文字)
【請求項2】
前記封口缶と前記ガスケットの内壁の上端との最短距離が、0.15mm以上である請求項1に記載の扁平形非水電解液電池
【請求項3】
前記リチウム-アルミニウム合金層の面積が、前記リチウム層の面積の105%以上である請求項1に記載の扁平形非水電解液電池。
【請求項4】
前記リチウム-アルミニウム合金層の面積が、前記セパレータの面積とほぼ等しい請求項1に記載の扁平形非水電解液電池。
【請求項5】
前記セパレータの面積が、前記リチウム層の面積の105~170%である請求項1に記載の扁平形非水電解液電池。
【請求項6】
前記セパレータの面積が、前記正極の面積の105~170%である請求項1に記載の扁平形非水電解液電池。
【請求項7】
請求項1~6のいずれかに記載の扁平形非水電解液電池を製造する方法であって、
リチウム片を成形してリチウム層を形成する工程(A)と、
前記リチウム層よりも大きな面積に打ち抜いたアルミニウム箔およびセパレータを使用し、前記リチウム層が封口缶の内面と接するように配置し、前記リチウム層に、前記アルミニウム箔および前記セパレータを、前記アルミニウム箔が前記リチウム層と接し、かつ前記アルミニウム箔の前記リチウム層側の面とは反対側の面に前記セパレータが接するように重ねて配置し、正極を、前記セパレータの前記アルミニウム箔側の面とは反対側の面と外装缶の内面との間に配置し、非水電解液とともに電池容器内に封入する工程(B)とを有し、
前記工程(B)において、前記封口缶の周壁、前記アルミニウム箔の外周部および前記セパレータの外周部を、ガスケットの内壁と外壁との隙間に挿入することを特徴とする扁平形非水電解液電池の製造方法。
【請求項8】
前記工程(B)における前記アルミニウム箔および前記セパレータとして、前記アルミニウム箔と前記セパレータとを積層して作製した積層体を、前記リチウム層よりも大きな面積に打ち抜いて使用する請求項7に記載の扁平形非水電解液電池の製造方法。
発明の詳細な説明
【技術分野】
【0001】
本発明は、本発明は、放電特性に優れた扁平形非水電解液電池と、前記扁平形非水電解液電池を高い生産性で製造可能な方法とに関するものである。
続きを表示(約 2,100 文字)
【背景技術】
【0002】
コイン形やボタン形などをはじめとする扁平形の非水電解液電池においては、例えば、リチウムを負極に使用する場合、電池容器を構成する封口缶の内面にリチウム層を配置して負極とすることがある。この場合、リチウムのシートから封口缶の内面形状に合わせたリチウム片を打ち抜いて封口缶の内面に貼り付けようとすると、例えば、封口缶の内面が円形や楕円形などの形状の場合は、リチウムのシートからリチウム片をロスなく打ち抜くことができない。
【0003】
そのため、特許文献1では、多角形状のリチウム片を、隣接するリチウム片の少なくとも一辺を共通としてリチウムのシートから打ち抜き、封口缶の内面に配置した後、加圧成形することにより、封口缶の内面形状に合わせたリチウム負極が作製されている。特許文献1においては、前記の手法によってリチウム片をロスなく打ち抜くことを可能としている。
【0004】
一方、電池の貯蔵特性や放電特性の向上を目的として、リチウム金属の正極側の表面にアルミニウム箔を貼り付け、リチウム-アルミニウム合金層を形成することも行われている。特許文献2では、アルミニウム箔の打ち抜きロスをなくすため、リチウムシート上にアルミニウム箔を重ねたシート状積層体を多角形の形状に打ち抜き、得られた多角形の積層体を封口缶の内面に配置した後、加圧成形して積層体のリチウムを封口缶の内面形状に合わせた形に変形させることが提案されている。このとき、アルミニウム箔は変形せずに元の形状のままリチウム上に存在するため、リチウム層上にこれよりも面積の小さい多角形状のアルミニウム箔を有する積層体が形成される。この積層体を用いて電池を組み立てることにより、リチウム層の正極側表面にこれよりも面積の小さいリチウム-アルミニウム合金が形成された負極を有する扁平形電池が得られる。
【先行技術文献】
【特許文献】
【0005】
特公平6-30250号公報
特開2002-246014号公報
【発明の概要】
【発明が解決しようとする課題】
【0006】
リチウム層の面積よりも、その上に載置するアルミニウム箔の面積が小さくなる場合、リチウム層がアルミニウム箔と接しているところでは、リチウム層上でリチウム-アルミニウム合金が形成されるが、リチウム層上にアルミニウム箔が存在せず、リチウム層が露出している箇所では、リチウム-アルミニウム合金が形成され難いため、リチウム-アルミニウム合金層の形成による貯蔵特性や放電特性の向上効果は、リチウム層上の全体にリチウム-アルミニウム合金が形成された場合と比べ限定的となってしまう。
【0007】
本発明は、前記事情に鑑みてなされたものであり、その目的は、放電特性に優れた扁平形非水電解液電池と、前記扁平形非水電解液電池を高い生産性で製造可能な方法とを提供することにある。
【課題を解決するための手段】
【0008】
本発明の扁平形非水電解液電池は、外装缶の開口をガスケットを介して封口缶で封口することで形成された電池容器内に、セパレータを介して積層された正極および負極、並びに非水電解液が封入されてなり、前記負極は、リチウム層を有し、前記リチウム層のセパレータ側に、前記リチウム層よりも大きな面積を有するリチウム-アルミニウム合金層が形成されており、前記リチウム層が前記封口缶内に収容され、前記正極が前記外装缶内に収容されており、前記ガスケットは、底面が前記外装缶の内底面側に配置されるベース部と、前記ベース部から封口缶側へ向けて立ち上がる内壁および外壁とを有し、前記内壁と前記外壁との間には隙間が設けられていて、前記封口缶の周壁、前記セパレータの外周部および前記リチウム-アルミニウム合金層の外周部が前記隙間に挿入されていることを特徴とするものである。
【0009】
本発明の扁平形非水電解液電池は、リチウム片を成形してリチウム層を形成する工程(A)と、前記リチウム層よりも大きな面積に打ち抜いたアルミニウム箔およびセパレータを使用し、前記リチウム層が封口缶の内面と接するように配置し、前記リチウム層に、前記アルミニウム箔および前記セパレータを、前記アルミニウム箔が前記リチウム層と接し、かつ前記アルミニウム箔の前記リチウム層側の面とは反対側の面に前記セパレータが接するように重ねて配置し、正極を、前記セパレータの前記アルミニウム箔側の面とは反対側の面と外装缶の内面との間に配置し、非水電解液とともに電池容器内に封入する工程(B)とを有し、前記工程(B)において、前記封口缶の周壁、前記アルミニウム箔の外周部および前記セパレータの外周部を、ガスケットの内壁と外壁との隙間に挿入する本発明の製造方法によって製造することができる。
【発明の効果】
【0010】
本発明によれば、放電特性に優れた扁平形非水電解液電池と、前記扁平形非水電解液電池を高い生産性で製造可能な方法とを提供することができる。
【図面の簡単な説明】
(【0011】以降は省略されています)
この特許をJ-PlatPat(特許庁公式サイト)で参照する
関連特許
マクセル株式会社
郵便ポストと郵便物取集システム
5日前
マクセル株式会社
扁平形非水電解液電池およびその製造方法
6日前
マクセル株式会社
表示制御方法
1日前
マクセル株式会社
伝送波の処理方法
今日
マクセル株式会社
ヘッドライト装置
1日前
マクセル株式会社
システムおよび方法
12日前
マクセル株式会社
空間浮遊映像表示装置
1日前
マクセル株式会社
画像読み上げシステム、装置、および方法、ならびに応答出力システム
1日前
マクセル株式会社
コンテンツ保護処理方法
1日前
マクセル株式会社
コンテンツ保護処理方法
1日前
マクセル株式会社
アプリケーション起動方法
8日前
マクセル株式会社
空間浮遊映像表示システム
8日前
マクセル株式会社
デジタル放送変調波の処理方法
1日前
マクセル株式会社
情報表示装置およびその表示方法
1日前
マクセル株式会社
ヘッドマウントディスプレイ装置
1日前
マクセル株式会社
軽度認知障害スクリーニング方法、該方法を伴うコンピュータプログラム及びスクリーニング装置
5日前
マクセル株式会社
ICモジュール、並びに、このICモジュールを備えるインレット、非接触ICカード、RFIDタグ
8日前
日本発條株式会社
積層体
16日前
個人
フレキシブル電気化学素子
5日前
個人
防雪防塵カバー
16日前
ローム株式会社
半導体装置
7日前
ローム株式会社
半導体装置
14日前
ローム株式会社
半導体装置
14日前
株式会社ユーシン
操作装置
5日前
日新イオン機器株式会社
イオン源
1日前
ローム株式会社
半導体装置
12日前
ローム株式会社
半導体装置
14日前
オムロン株式会社
電磁継電器
6日前
株式会社GSユアサ
蓄電装置
16日前
株式会社GSユアサ
蓄電設備
5日前
太陽誘電株式会社
コイル部品
5日前
株式会社GSユアサ
蓄電設備
5日前
個人
半導体パッケージ用ガラス基板
15日前
太陽誘電株式会社
全固体電池
12日前
株式会社GSユアサ
蓄電装置
12日前
株式会社ホロン
冷陰極電子源
12日前
続きを見る
他の特許を見る