TOP
|
特許
|
意匠
|
商標
特許ウォッチ
Twitter
他の特許を見る
10個以上の画像は省略されています。
公開番号
2025156350
公報種別
公開特許公報(A)
公開日
2025-10-14
出願番号
2025112782,2024075645
出願日
2025-07-03,2020-02-04
発明の名称
ヘッドマウントディスプレイ装置
出願人
マクセル株式会社
代理人
青稜弁理士法人
主分類
H04N
5/64 20060101AFI20251002BHJP(電気通信技術)
要約
【課題】ヘッドマウントディスプレイ装置装着時のユーザの危険を回避可能なヘッドマウントディスプレイ装置を提供することを目的とする。
【解決手段】そのために、外界画像を第一画像入力部で取得して表示部に表示するビデオ透過型のヘッドマウントディスプレイ装置であって、装着者の両眼の状態の画像を取得する第二画像入力部と、制御部を有し、制御部は、第二画像入力部で取得した装着者の両眼の状態の画像から、所定時間以上両眼を閉じた状態が継続しない場合には装着者は覚醒状態であると判断し、所定時間以上両眼を閉じた状態が継続した場合には装着者は睡眠状態であると判断し、睡眠状態から覚醒状態になった場合、表示部に第一画像入力部で取得した外界画像を表示するように構成する。
【選択図】図4
特許請求の範囲
【請求項1】
外界画像を第一画像入力部で取得して表示部に表示するビデオ透過型のヘッドマウントディスプレイ装置であって、
装着者の両眼の状態の画像を取得する第二画像入力部と、
制御部を有し、
前記制御部は、前記第二画像入力部で取得した装着者の両眼の状態の画像から、所定時間以上両眼を閉じた状態が継続しない場合には装着者は覚醒状態であると判断し、所定時間以上両眼を閉じた状態が継続した場合には装着者は睡眠状態であると判断し、前記睡眠状態から前記覚醒状態になった場合、前記表示部に前記第一画像入力部で取得した外界画像を表示することを特徴とするヘッドマウントディスプレイ装置。
続きを表示(約 1,700 文字)
【請求項2】
請求項1に記載のヘッドマウントディスプレイ装置であって、
前記制御部は、前記覚醒状態から前記睡眠状態となった場合は、前記表示部の表示を、前記覚醒状態で表示していたアプリケーション画像から無映像画面に切り替え、その後、前記睡眠状態から前記覚醒状態になった場合、前記表示部の表示を、前記無映像画面から前記外界画像に切り替えることを特徴とするヘッドマウントディスプレイ装置。
【請求項3】
請求項1に記載のヘッドマウントディスプレイ装置であって、
前記制御部は、前記覚醒状態から前記睡眠状態となった場合は、前記表示部の表示として、前記覚醒状態で表示していたアプリケーション画像を継続表示し、その後、前記睡眠状態から前記覚醒状態になった場合、前記表示部の表示を、前記アプリケーション画像から前記外界画像に切り替えることを特徴とするヘッドマウントディスプレイ装置。
【請求項4】
請求項1に記載のヘッドマウントディスプレイ装置であって、
前記制御部は、前記覚醒状態から前記睡眠状態となった場合は、前記表示部の表示を、前記覚醒状態で表示していたアプリケーション画像から前記外界画像に切り替えることを特徴とするヘッドマウントディスプレイ装置。
【請求項5】
外界画像を第一画像入力部で取得して表示部に表示するビデオ透過型のヘッドマウントディスプレイ装置であって、
装着者の両眼の状態の画像を取得する第二画像入力部と、
制御部を有し、
前記制御部は、前記第二画像入力部で取得した装着者の両眼の状態の画像から、所定時間以上両眼を閉じた状態が継続しない場合には装着者は覚醒状態であると判断し、所定時間以上両眼を閉じた状態が継続した場合には装着者は睡眠状態であると判断し、前記睡眠状態から前記覚醒状態になった場合、前記表示部にヘッドマウントディスプレイ装置を装着中である旨を警告する警告メッセージを表示することを特徴とするヘッドマウントディスプレイ装置。
【請求項6】
請求項5に記載のヘッドマウントディスプレイ装置であって、
前記制御部は、前記覚醒状態から前記睡眠状態となった場合は、前記表示部の表示を、前記覚醒状態で表示していたアプリケーション画像から無映像画面に切り替え、その後、前記睡眠状態から前記覚醒状態になった場合、前記表示部に、前記無映像画面に前記警告メッセージを重畳表示することを特徴とするヘッドマウントディスプレイ装置。
【請求項7】
請求項5に記載のヘッドマウントディスプレイ装置であって、
前記制御部は、前記覚醒状態から前記睡眠状態となった場合は、前記表示部の表示として、前記覚醒状態で表示していたアプリケーション画像を継続表示し、その後、前記睡眠状態から前記覚醒状態になった場合、前記表示部に、前記アプリケーション画像に前記警告メッセージを重畳表示することを特徴とするヘッドマウントディスプレイ装置。
【請求項8】
請求項5に記載のヘッドマウントディスプレイ装置であって、
前記制御部は、前記覚醒状態から前記睡眠状態となった場合は、前記表示部に、前記覚醒状態で表示していたアプリケーション画像に前記警告メッセージを重畳表示することを特徴とするヘッドマウントディスプレイ装置。
【請求項9】
外界画像を第一画像入力部で取得して表示部に表示するビデオ透過型のヘッドマウントディスプレイ装置であって、
通信部と、
制御部を有し、
前記制御部は、前記通信部を介して緊急警報を受信した場合には、前記表示部の表示を、表示していたアプリケーション画像から前記第一画像入力部で取得した外界画像に切り替えることを特徴とするヘッドマウントディスプレイ装置。
【請求項10】
請求項9に記載のヘッドマウントディスプレイ装置であって、
前記制御部は、前記緊急警報の内容を知らせる警告メッセージを前記表示部に重畳表示することを特徴とするヘッドマウントディスプレイ装置。
(【請求項11】以降は省略されています)
発明の詳細な説明
【技術分野】
【0001】
本発明は、ヘッドマウントディスプレイ装置(以下、HMD:Head Mount Display、と称す)に関する。
続きを表示(約 1,500 文字)
【背景技術】
【0002】
ディスプレイを搭載し、頭部に装着して情報を視聴するHMDは、近年、ゲーム用途や作業支援の分野での利用が広がりつつある。
【0003】
本技術分野の背景技術として特許文献1がある。特許文献1には、表示画面に映像信号による映像を表示すると共に外光が透過するように成され、映像表示部分と外光透過部分との割合いを制御できるように成されかつ使用者の頭部に装着可能に成された表示手段と、使用者の見ようとする方向あるいは使用者の頭部の姿勢や頭部の位置を検出する検出手段と、検出手段の検出に応じて表示手段の表示画面における映像表示部分と外光透過部分との割合いを制御する表示制御手段とを備えた頭部装着型表示装置が開示されている。
【先行技術文献】
【特許文献】
【0004】
特開平8-328512号公報
【発明の概要】
【発明が解決しようとする課題】
【0005】
特許文献1では、ユーザがHMDを装着したままで、使用者の見ようとする方向あるいは使用者の頭部の姿勢や頭部の位置に応じて、HMDの表示画像と外界映像とを見ることが出来る。
【0006】
しかしながら、ユーザがHMDを装着したまま寝てしまい、睡眠後に覚醒、或いは半覚醒した際に、ユーザがHMDを装着していることを失念する場合が考えられる。この場合、ユーザはHMDにより視界をふさがれて周辺状況を確認できないため、自身の状況を把握できず、慌てて行動した場合などは危険な状態を引き起こす可能性がある。上記特許文献1にはこのような状況に関して考慮されていない。
【0007】
本発明は、上記課題に鑑み、HMD装着時のユーザの危険を回避可能なHMDを提供することを目的とする。
【課題を解決するための手段】
【0008】
本発明は、その一例を挙げるならば、外界画像を第一画像入力部で取得して表示部に表示するビデオ透過型のヘッドマウントディスプレイ装置であって、装着者の両眼の状態の画像を取得する第二画像入力部と、制御部を有し、制御部は、第二画像入力部で取得した装着者の両眼の状態の画像から、所定時間以上両眼を閉じた状態が継続しない場合には装着者は覚醒状態であると判断し、所定時間以上両眼を閉じた状態が継続した場合には装着者は睡眠状態であると判断し、睡眠状態から覚醒状態になった場合、表示部に第一画像入力部で取得した外界画像を表示するように構成する。
【発明の効果】
【0009】
本発明によれば、HMD装着時のユーザの危険を回避可能なHMDを提供できる。
【図面の簡単な説明】
【0010】
実施例1におけるHMDのハードウェア構成を示すブロック図である。
実施例1におけるHMDの外観および装着図である。
実施例1におけるHMDの機能構成図である。
実施例1におけるHMDの処理フローチャートである。
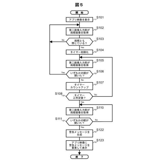
実施例2におけるHMDの処理フローチャートである。
実施例2における警告メッセージの表示例である。
実施例3におけるHMDの処理フローチャートである。
実施例4におけるHMDの処理フローチャートである。
実施例4におけるHMDの警告メッセージの表示例である。
実施例4におけるHMDの外界表示例である。
【発明を実施するための形態】
(【0011】以降は省略されています)
この特許をJ-PlatPat(特許庁公式サイト)で参照する
関連特許
マクセル株式会社
樹脂成形体
15日前
マクセル株式会社
めっき部品
11日前
マクセル株式会社
配列用マスク
26日前
マクセル株式会社
押出発泡成形体
15日前
マクセル株式会社
非接触ICカード
26日前
マクセル株式会社
非接触ICカード
26日前
マクセル株式会社
空中浮遊映像表示装置
26日前
マクセル株式会社
郵便ポストと郵便物取集システム
4日前
マクセル株式会社
扁平形非水電解液電池およびその製造方法
5日前
マクセル株式会社
システム
19日前
マクセル株式会社
放送受信装置
11日前
マクセル株式会社
情報表示装置
19日前
マクセル株式会社
表示制御方法
今日
マクセル株式会社
ヘッドライト装置
今日
マクセル株式会社
システムおよび方法
11日前
マクセル株式会社
画像読み上げシステム、装置、および方法、ならびに応答出力システム
今日
マクセル株式会社
空間浮遊映像表示装置
今日
マクセル株式会社
コンテンツ保護処理方法
11日前
マクセル株式会社
コンテンツ保護処理方法
11日前
マクセル株式会社
コンテンツ保護処理方法
11日前
マクセル株式会社
コンテンツ保護処理方法
11日前
マクセル株式会社
コンテンツ保護処理方法
今日
マクセル株式会社
コンテンツ保護処理方法
今日
マクセル株式会社
空間浮遊映像表示システム
7日前
マクセル株式会社
アプリケーション起動方法
7日前
マクセル株式会社
デジタル放送変調波の処理方法
今日
マクセル株式会社
ヘッドマウントディスプレイ装置
今日
マクセル株式会社
情報表示装置およびその表示方法
今日
マクセル株式会社
ウェアラブル端末による表示制御方法
14日前
マクセル株式会社
レンズユニットおよびカメラモジュール
27日前
マクセル株式会社
軽度認知障害スクリーニング方法、該方法を伴うコンピュータプログラム及びスクリーニング装置
4日前
マクセル株式会社
ICモジュール、並びに、このICモジュールを備えるインレット、非接触ICカード、RFIDタグ
7日前
個人
店内配信予約システム
3か月前
キーコム株式会社
光伝送線路
今日
WHISMR合同会社
収音装置
1か月前
サクサ株式会社
中継装置
6日前
続きを見る
他の特許を見る