TOP
|
特許
|
意匠
|
商標
特許ウォッチ
Twitter
他の特許を見る
10個以上の画像は省略されています。
公開番号
2025146907
公報種別
公開特許公報(A)
公開日
2025-10-03
出願番号
2025124094,2024134466
出願日
2025-07-24,2018-06-13
発明の名称
放送受信装置
出願人
マクセル株式会社
代理人
弁理士法人筒井国際特許事務所
主分類
H04N
21/435 20110101AFI20250926BHJP(電気通信技術)
要約
【課題】高度デジタル放送サービスをより好適に送信または受信する技術を提供する。
【解決手段】データキャリアと異なる変調がなされるキャリアに、伝送波が空中を伝送されるときの周波数帯を識別可能な識別情報が格納されている伝送波を受信するチューナと、制御部と、を備え、前記制御部は、前記チューナで受信した伝送波に含まれる前記識別情報を用いて、前記伝送波が空中を伝送されるときの周波数帯を識別するように構成する。
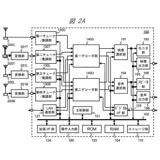
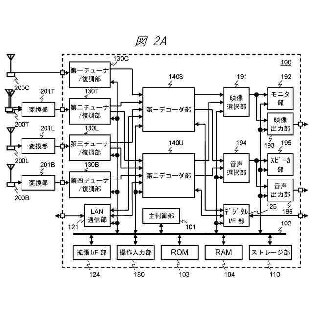
【選択図】図2A
特許請求の範囲
【請求項1】
同一周波数帯で送信電力の異なる上側階層変調波と下側階層変調波を合成した伝送波を受信する放送受信装置であって、
前記上側階層変調波と前記下側階層変調波を合成した前記伝送波を受信し、前記上側階層変調波と前記下側階層変調波を合成した前記伝送波について復調処理を行うことによりストリームを生成するチューナ・復調部と、
制御部と、
を備え、
前記制御部は、前記チューナ・復調部が受信する前記伝送波に含まれている識別情報に基づいて、前記上側階層変調波と前記下側階層変調波とを識別し、それぞれの変調波に対応する前記復調処理を行うように前記チューナ・復調部を制御する、
放送受信装置。
続きを表示(約 110 文字)
【請求項2】
請求項1に記載の放送受信装置において、
前記識別情報は、前記チューナ・復調部が受信する前記伝送波において、TMCCキャリアおよび/またはACキャリアに格納されている、
放送受信装置。
発明の詳細な説明
【技術分野】
【0001】
本発明は、放送送信技術または放送受信技術に関する。
続きを表示(約 1,300 文字)
【背景技術】
【0002】
従来のアナログ放送サービスに替わり、1990年代後半より各国でデジタル放送サービスが開始された。デジタル放送サービスは、誤り訂正技術を用いた放送品質の向上、圧縮符号化技術を用いた多チャンネル化及びHD(High Definition)化、BML(Broadcast Markup Language)やHTML5(Hyper Text Markup Langueag version5)を用いたサービスのマルチメディア化、等を実現した。
【0003】
近年では、さらなる周波数使用効率の向上、高解像度化や高機能化を目的として、各国において、高度デジタル放送方式の検討が進められている。
【先行技術文献】
【特許文献】
【0004】
特開2016-14420号公報
【発明の概要】
【発明が解決しようとする課題】
【0005】
現行のデジタル放送はサービスを開始してから既に10年以上を経過しており、現行のデジタル放送サービスを受信可能な放送受信装置が充分に普及している。このため、現在検討を進めている高度デジタル放送サービスを開始するにあたっては、現行のデジタル放送サービスとの互換性を考慮する必要がある。即ち、現行のデジタル放送サービスの視聴環境を維持しつつ、映像信号のUHD(Ultra High Definition)化等を実現することが好ましい。
【0006】
デジタル放送サービスでUHD放送を実現する技術として特許文献1に記載のシステムがある。しかしながら、特許文献1に記載のシステムは現行のデジタル放送に置き換えるものであり、現行のデジタル放送サービスの視聴環境の維持を考慮したものではない。
【0007】
本発明の目的は、現行のデジタル放送サービスとの互換性も考慮した、より高機能な高度デジタル放送サービスをより好適に送信または受信する技術を提供することである。
【課題を解決するための手段】
【0008】
前記課題を解決するための手段として、特許請求の範囲に記載の技術を用いる。
【0009】
一例を挙げるならば、同一周波数帯で送信電力の異なる上側階層変調波と下側階層変調波を合成した伝送波を受信する放送受信装置であって、前記上側階層変調波と前記下側階層変調波を合成した前記伝送波を受信し、前記上側階層変調波と前記下側階層変調波を合成した前記伝送波について復調処理を行うことによりストリームを生成するチューナ・復調部と、制御部と、を備え、前記制御部は、前記チューナ・復調部が受信する前記伝送波に含まれている識別情報に基づいて、前記上側階層変調波と前記下側階層変調波とを識別し、それぞれの変調波に対応する前記復調処理を行うように前記チューナ・復調部を制御する、放送受信装置を用いる。
【発明の効果】
【0010】
本発明によれば、高度デジタル放送サービスをより好適に送信または受信する技術を提供することができる。
【図面の簡単な説明】
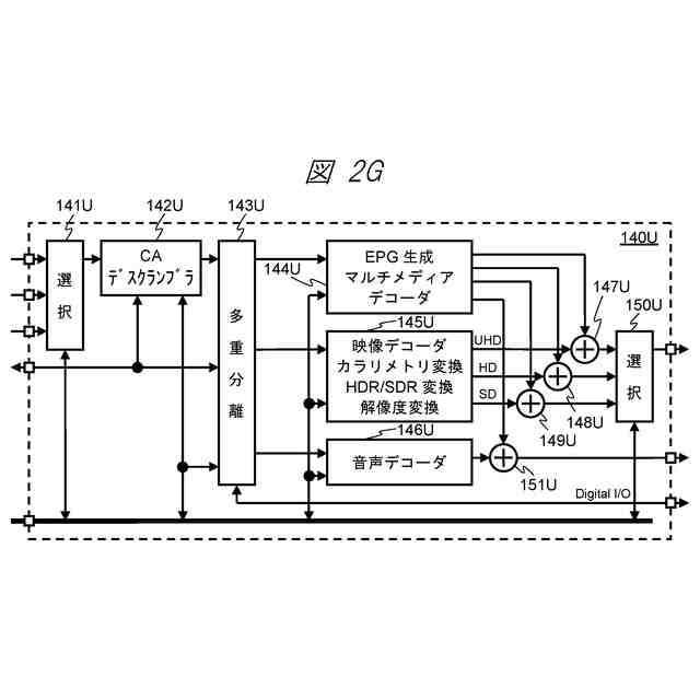
(【0011】以降は省略されています)
この特許をJ-PlatPat(特許庁公式サイト)で参照する
関連特許
マクセル株式会社
めっき部品
1日前
マクセル株式会社
樹脂成形体
5日前
マクセル株式会社
配列用マスク
16日前
マクセル株式会社
押出発泡成形体
5日前
マクセル株式会社
非接触ICカード
16日前
マクセル株式会社
非接触ICカード
16日前
マクセル株式会社
空中浮遊映像表示装置
25日前
マクセル株式会社
空中浮遊映像表示装置
16日前
マクセル株式会社
認証システム及び認証方法
23日前
マクセル株式会社
システム
9日前
マクセル株式会社
放送受信装置
25日前
マクセル株式会社
配列用マスク
23日前
マクセル株式会社
情報表示装置
9日前
マクセル株式会社
放送受信装置
1日前
マクセル株式会社
システムおよび方法
1日前
マクセル株式会社
コンテンツ保護処理方法
1日前
マクセル株式会社
コンテンツ保護処理方法
1日前
マクセル株式会社
コンテンツ保護処理方法
17日前
マクセル株式会社
コンテンツ保護処理方法
1日前
マクセル株式会社
コンテンツ保護処理方法
1日前
マクセル株式会社
ウェアラブル端末による表示制御方法
4日前
マクセル株式会社
レンズユニットおよびカメラモジュール
17日前
個人
店内配信予約システム
2か月前
サクサ株式会社
中継装置
2か月前
WHISMR合同会社
収音装置
23日前
キヤノン株式会社
電子機器
2か月前
キヤノン株式会社
撮像装置
3か月前
アイホン株式会社
電気機器
17日前
キヤノン株式会社
撮像装置
1か月前
株式会社リコー
画像形成装置
1か月前
キヤノン電子株式会社
モバイル装置
2か月前
キヤノン電子株式会社
画像読取装置
24日前
日本精機株式会社
画像投映システム
2か月前
ヤマハ株式会社
信号処理装置
3か月前
株式会社リコー
画像形成装置
1か月前
電気興業株式会社
無線中継器
3か月前
続きを見る
他の特許を見る