TOP
|
特許
|
意匠
|
商標
特許ウォッチ
Twitter
他の特許を見る
10個以上の画像は省略されています。
公開番号
2025142227
公報種別
公開特許公報(A)
公開日
2025-09-30
出願番号
2025121822,2024528143
出願日
2025-07-22,2022-06-21
発明の名称
ウェアラブル端末による表示制御方法
出願人
マクセル株式会社
代理人
弁理士法人武和国際特許事務所
主分類
G06F
3/01 20060101AFI20250919BHJP(計算;計数)
要約
【課題】画面を他人が覗き見することを抑止して情報のセキュリティ性を向上させる。
【解決手段】ウェアラブル端末から非ウェアラブル端末に対して、場所に関する情報や情報漏洩媒体に関する情報に基づいて、非ウェアラブル端末のディスプレイに表示された表示データを非表示にさせる制御信号を送信すると、非ウェアラブル端末のディスプレイにおいて表示データを非表示にすると共に当該表示データをウェアラブル端末に送信する。ウェアラブル端末は、非ウェアラブル端末から表示データを受信すると、ウェアラブル端末に備えられたディスプレイに表示データを表示する。
【選択図】図4
特許請求の範囲
【請求項1】
ディスプレイと、非ウェアラブル端末の表示データを受信する通信機と、メモリと、プロセッサと、を備えるウェアラブル端末による表示制御方法であって、
前記プロセッサが、前記メモリに保存した、場所に関する情報又は情報漏洩媒体に関する情報に基づいて、前記通信機を介して前記非ウェアラブル端末に対して受信した前記表示データを非表示にさせる制御信号を送信し、前記非ウェアラブル端末の表示データを受信して前記ディスプレイに前記表示データを表示する代替表示制御を実行するステップ、
を含むウェアラブル端末による表示制御方法。
続きを表示(約 1,800 文字)
【請求項2】
請求項1に記載のウェアラブル端末による表示制御法であって、
前記ウェアラブル端末は、
位置情報を検出する測位センサと、
周辺環境を撮像するカメラと、を更に備え、
前記プロセッサが、前記場所に関する情報として、前記測位センサが検出した位置情報又は前記カメラが撮像した画像を保存するステップ、
を含むウェアラブル端末による表示制御方法。
【請求項3】
請求項2に記載のウェアラブル端末による表示制御方法であって、
前記プロセッサが、
前記測位センサが検出した位置情報又は前記カメラが撮像した画像を、前記代替表示制御を実行するための事前登録情報として保存するステップと、
ユーザの位置する場所が前記事前登録情報に記録されていない場合、前記代替表示制御を実行するステップと、
を含むウェアラブル端末による表示制御方法。
【請求項4】
請求項2に記載のウェアラブル端末による表示制御方法であって、
前記プロセッサが、
前記カメラが撮像した画像を解析して前記非ウェアラブル端末の前記ディスプレイの周辺に位置する遮蔽物を認識するステップと、
前記遮蔽物の高さ、透明度、又は前記非ウェアラブル端末に対する前記遮蔽物の位置の少なくとも一つに応じて前記非ウェアラブル端末のディスプレイにおいて非表示にする画面領域を決定するステップと、
を含むウェアラブル端末による表示制御方法。
【請求項5】
請求項1に記載のウェアラブル端末による表示制御方法であって、
前記ウェアラブル端末は、カメラを更に備え、
前記プロセッサが、
前記情報漏洩媒体に関する情報に基づいて、前記カメラが撮像した画像及び前記非ウェアラブル端末に搭載されたカメラが撮像した画像の少なくとも一つ以上を解析して前記非ウェアラブル端末の前記ディスプレイの周辺に位置する情報漏洩媒体を認識するステップと、
前記情報漏洩媒体の前記非ウェアラブル端末に対する位置、向きの少なくとも一つに応じて前記代替表示制御を実行するステップと、
を含むウェアラブル端末による表示制御方法。
【請求項6】
請求項5に記載のウェアラブル端末による表示制御方法であって、
前記情報漏洩媒体は、監視カメラ、又は前記ウェアラブル端末のユーザとは異なる他人である、
ウェアラブル端末による表示制御方法。
【請求項7】
請求項5に記載のウェアラブル端末による表示制御方法であって、
前記プロセッサが、
前記ウェアラブル端末のユーザが所属する組織と当該組織に属する他人の識別情報とを関連付けたユーザ情報を保存するステップと、
前記カメラが撮像した画像を解析して当該カメラに撮像された人物と前記ユーザ情報に含まれる前記ユーザが所属する組織に属する前記他人との同一性を判断し、当該判断結果に基づいて前記代替表示制御を実行するステップと、
を含むウェアラブル端末による表示制御方法。
【請求項8】
請求項5に記載のウェアラブル端末による表示制御方法であって、
前記プロセッサが、
前記ウェアラブル端末のユーザが所属する組織と当該組織に属する他人の識別情報とを関連付けたユーザ情報を保存するステップと、
前記カメラが撮像した画像を解析して当該カメラに撮像された人物と前記ユーザ情報とを照合し、前記ユーザが所属する組織と前記カメラに撮像された人物が所属する組織との同一性を判断し、当該判断結果に基づいて前記代替表示制御を実行するステップと、
を含むウェアラブル端末による表示制御方法。
【請求項9】
請求項5に記載のウェアラブル端末による表示制御方法であって、
前記プロセッサが、
前記ウェアラブル端末を管理する組織と当該組織に属する他人の識別情報とを関連付けた使用機器の所属情報を保存するステップと、
前記カメラが撮像した画像を解析して当該カメラに撮像された人物と前記使用機器の所属情報を照合し、前記ウェアラブル端末を管理する組織と前記カメラに撮像された人物が所属する組織との同一性を判断し、当該判断結果に基づいて前記代替表示制御を実行するステップと、
を含むウェアラブル端末による表示制御方法。
発明の詳細な説明
【技術分野】
【0001】
本発明は、ウェアラブル端末による表示制御方法に係り、特にウェアラブル型の表示端末と非ウェアラブル型の表示端末とを連係させた表示技術に関する。
続きを表示(約 2,700 文字)
【背景技術】
【0002】
複数のディスプレイを用いた連係表示システムとして、特許文献1には「第1のディスプレイ及び画像センサと結合された第1のデバイスは、第1のディスプレイとは異なる第2のディスプレイを有する第2のデバイスからの出力データを受信する。出力データは、第2のディスプレイ上に第2のデバイスによって表示可能なコンテンツを表す。第1のデバイスは、画像センサを使用して、第1のデバイスに対する第2のディスプレイの位置を判定し、第2のデバイスから受信した出力データ、及び第1のデバイスに対する第2のディスプレイの判定された位置に基づいて、第1のディスプレイにコンテンツを表示させる。(要約抜粋)」との記載がある。
【先行技術文献】
【特許文献】
【0003】
特表2020-536311号公報
【発明の概要】
【発明が解決しようとする課題】
【0004】
デスクトップパソコンやノートパソコン、タブレットといった非ウェアラブル端末に備えられたディスプレイの画面は、当該非ウェアラブル端末のユーザ以外の他人が画面を覗き見ることができる。それを防止するための覗き見防止フィルターもあるが、画面を覗き見する角度によってはフィルター越しに画面の情報を読み取ることができるため、情報漏洩を効果的に防止したいという要望がある。
【0005】
そこで特許文献1の表示技術を用いることも考えられるが、特許文献1ではユーザが任意選択した場合、又はHMDを使用してPCや携帯端末を見ていると判定した場合は、PCや携帯端末の画面の映像をPCや携帯端末の画面位置に合わせるようにHMDの画面に代替表示するだけであり、ユーザがPC等の非ウェアラブル端末を使用する場所や周辺の状況に応じて情報漏洩を防止するという観点については考慮されていない。よって、単に第1のデバイスの出力データを第2のデバイスに表示するだけでは、セキュリティを維持することはできない。
【0006】
本発明は上記の点を鑑みてなされたものであり、画面を他人が覗き見することを抑止して情報のセキュリティ性を向上させることを目的とする。
【課題を解決するための手段】
【0007】
上記課題を解決するために、本発明は特許請求の範囲に記載の構成を備える。
【発明の効果】
【0008】
本発明によれば、画面を他人が覗き見することを抑止して情報のセキュリティ性を向上させる。上述した以外の目的、構成、効果については、以下の実施形態において明らかにされる。
【図面の簡単な説明】
【0009】
本実施形態に係る代替表示システムの概略構成図である。
非ウェアラブル端末の概略構成図である。
ウェアラブル端末の外観図であり、(a)はHMD、(b)はARグラスを示す。
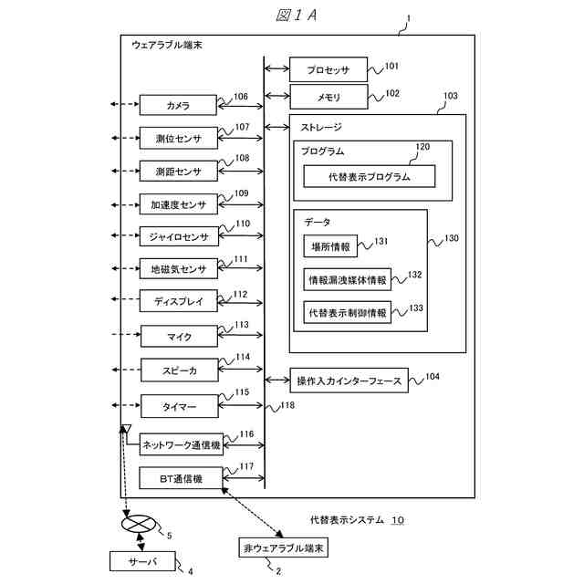
代替表示システムの機能ブロック図である。
非ウェアラブル端末としてノートパソコンを用いた場合の代替表示中の他人及びユーザの視界を示す図である。
非ウェアラブル端末としてデスクトップパソコンを用いた場合の代替表示中の他人及びユーザの視界を示す図である。
非ウェアラブル端末として携帯端末を用いた場合の代替表示中の他人及びユーザの視界を示す図である。
場所に関する情報として場所の位置情報や周辺環境に関する情報を基準とする代替表示制御例を示す図であり、(a)は、非プライベート・オフィス空間、(b)は自部屋、(c)はオフィスでの使用例を示す。
場所に関する情報として場所の位置情報や周辺環境に関する情報を基準とする代替表示制御の変形例であり、遮蔽物の有無に応じた代替表示制御例を示す図である。
遮蔽物の高さに応じた代替表示制御例を示す図であり、(a)は遮蔽物が十分高くない場合、(b)はユーザの視界を示す。
遮蔽物の奥行きの大きさに応じた代替表示制御例を示す図であり、(a)は遮蔽物が手前までない場合、(b)はユーザの視界を示す。
情報漏洩媒体として監視カメラが設置された空間における代替表示制御例を示す図であり、(a)は代替表示を行う例、(b)は代替表示を行わない例である。
図11と同じ空間において監視カメラが設置されていない状況を示す図である。
情報漏洩媒体としてユーザ以外の他人を基準とする代替表示制御例を示す図である。
第1距離よりも遠い場所に他人がいる場合の代替表示制御例を示す図であり(a)は代替表示を行う例、(b)は代替表示を行わない例である。
第1距離よりも遠い場所に他人がおり、代替表示を行わない例を示す図である。
代替表示機能のユーザ設定画面例を示す。
詳細な代替表示機能のユーザ設定画面である。
所属情報登録設定画面である。
代替表示制御ルール情報例を示す図である。
本実施形態に係る代替表示システムの処理の流れを示すフローチャート(前半)である。
本実施形態に係る代替表示システムの処理の流れを示すフローチャート(後半)である。
場所に関する情報として、場所の位置情報や周辺環境に関する情報を基準とする代替表示制御の処理の流れを示すフローチャートである。
情報漏洩媒体として監視カメラを基準とする代替表示制御の処理の流れを示すフローチャートである。
情報漏洩媒体としてユーザ以外の他人を基準とする代替表示制御の処理の流れを示すフローチャートである。
人物の所属を基準とする代替表示制御の処理の流れを示すフローチャートである。
人物の所属を基準とする代替表示制御の処理の流れを示すフローチャートである。
【発明を実施するための形態】
【0010】
本発明は、非ウェアラブル端末に表示される情報の漏洩防止に役立つことから本発明を適用した非ウェアラブル端末の商品価値を高めることができる。よって、国連の提唱する持続可能な開発目標(SDGs:Sustainable Development Goals)の8.2(商品やサービスの価値をより高める産業や、労働集約型の産業を中心に、多様化、技術の向上、イノベーションを通じて、経済の生産性をあげる)に貢献することが期待できる。
(【0011】以降は省略されています)
この特許をJ-PlatPat(特許庁公式サイト)で参照する
関連特許
マクセル株式会社
めっき部品
1日前
マクセル株式会社
樹脂成形体
5日前
マクセル株式会社
配列用マスク
16日前
マクセル株式会社
押出発泡成形体
5日前
マクセル株式会社
非接触ICカード
16日前
マクセル株式会社
非接触ICカード
16日前
マクセル株式会社
空中浮遊映像表示装置
25日前
マクセル株式会社
空中浮遊映像表示装置
16日前
マクセル株式会社
認証システム及び認証方法
23日前
マクセル株式会社
システム
9日前
マクセル株式会社
放送受信装置
25日前
マクセル株式会社
配列用マスク
23日前
マクセル株式会社
情報表示装置
9日前
マクセル株式会社
放送受信装置
1日前
マクセル株式会社
システムおよび方法
1日前
マクセル株式会社
コンテンツ保護処理方法
1日前
マクセル株式会社
コンテンツ保護処理方法
1日前
マクセル株式会社
コンテンツ保護処理方法
17日前
マクセル株式会社
コンテンツ保護処理方法
1日前
マクセル株式会社
コンテンツ保護処理方法
1日前
マクセル株式会社
ウェアラブル端末による表示制御方法
4日前
マクセル株式会社
レンズユニットおよびカメラモジュール
17日前
個人
裁判のAI化
2か月前
個人
フラワーコートA
1か月前
個人
情報処理システム
2か月前
個人
工程設計支援装置
1か月前
個人
地球保全システム
3日前
個人
検査システム
2か月前
個人
介護情報提供システム
2か月前
個人
冷凍食品輸出支援構造
1か月前
個人
為替ポイント伊達夢貯
1か月前
個人
設計支援システム
2か月前
個人
設計支援システム
2か月前
個人
携帯情報端末装置
1か月前
個人
表変換編集支援システム
23日前
個人
知財出願支援AIシステム
1か月前
続きを見る
他の特許を見る