TOP
|
特許
|
意匠
|
商標
特許ウォッチ
Twitter
他の特許を見る
10個以上の画像は省略されています。
公開番号
2025148433
公報種別
公開特許公報(A)
公開日
2025-10-07
出願番号
2025115607,2021148657
出願日
2025-07-09,2021-09-13
発明の名称
空間浮遊映像表示システム
出願人
マクセル株式会社
代理人
弁理士法人筒井国際特許事務所
主分類
G02B
30/56 20200101AFI20250930BHJP(光学)
要約
【課題】空間の外部に対して好適に映像を表示すること。本発明は、持続可能な開発目標の「3すべての人に健康と福祉を」、「9産業と技術革新の基盤をつくろう」、「11住み続けられるまちづくりを」への貢献に関連する。
【解決手段】空間浮遊映像表示システムは、映像を表示する表示パネルと、表示パネルに光を供給する光源装置と、表示パネルからの映像光を反射させ、反射した光により空中に実像の空間浮遊映像を表示せしめる光学板と、空間浮遊映像を含む領域をマトリックス状に分割してセンシングするセンサと、を備える。センサがセンシングするセンシング領域は、空間浮遊映像の長辺の方向および短辺の方向に対してそれぞれ平行な方向に並ぶことによりマトリックス状に構成されている。
【選択図】図6
特許請求の範囲
【請求項1】
空間浮遊映像表示システムであって、
映像を表示する表示パネルと、
前記表示パネルに光を供給する光源装置と、
前記表示パネルからの映像光を反射させ、反射した光により空中に実像の空間浮遊映像を表示せしめる光学板と、
前記空間浮遊映像を含む領域をマトリックス状に分割してセンシングするセンサと、を備え、
前記センサがセンシングするセンシング領域は、前記空間浮遊映像の長辺の方向および短辺の方向に対してそれぞれ平行な方向に並ぶことによりマトリックス状に構成されている、
空間浮遊映像表示システム。
続きを表示(約 810 文字)
【請求項2】
請求項1に記載の空間浮遊映像表示システムにおいて、
前記マトリックス状のセンシング領域はユーザから見て縦方向および横方向にそれぞれ複数分割されている、
空間浮遊映像表示システム。
【請求項3】
請求項1に記載の空間浮遊映像表示システムにおいて、
前記センサのセンシング結果は、それぞれが対応するセンシング領域に対するユーザの操作の検出に用いられる、
空間浮遊映像表示システム。
【請求項4】
請求項1に記載の空間浮遊映像表示システムにおいて、
前記光源装置は、
点状または面状の光源と、
前記光源からの光を反射させるリフレクタと、
前記リフレクタからの光を前記表示パネルに向けて導光する導光体と、を備える、
空間浮遊映像表示システム。
【請求項5】
請求項4に記載の空間浮遊映像表示システムにおいて、
前記リフレクタの反射面は、前記光源の出射光の光軸に対して非対称な形状である、
空間浮遊映像表示システム。
【請求項6】
請求項4に記載の空間浮遊映像表示システムにおいて、
前記導光体は、前記導光体の表面にある反射面での反射により光を導光する反射型導光体である、
空間浮遊映像表示システム。
【請求項7】
請求項4に記載の空間浮遊映像表示システムにおいて、
前記導光体からの光を拡散する拡散板と、
前記導光体と前記拡散板との空間を挟むように配置される側壁と、を備える、
空間浮遊映像表示システム。
【請求項8】
請求項4に記載の空間浮遊映像表示システムにおいて、
前記リフレクタは、プラスチック材料またはガラス材料または金属材料を用いる、
空間浮遊映像表示システム。
発明の詳細な説明
【技術分野】
【0001】
本発明は、空間浮遊映像情報表示システムおよびそれに用いられる立体センシング装置に関する。
続きを表示(約 3,000 文字)
【背景技術】
【0002】
空間浮遊情報表示システムとして、直接外部に向かって映像を表示する映像表示装置と空間画面として表示される表示法は既に知られている。また、表示された空間像の操作面における操作に対する誤検知を低減する検知システムについても、例えば、特許文献1に開示されている。
【先行技術文献】
【特許文献】
【0003】
特開2019-128722号公報
【発明の概要】
【発明が解決しようとする課題】
【0004】
しかしながら、上述した従来技術の空間浮遊映像情報表示システムや空間像を高精度に三次元操作する方法として、空間浮遊映像の映像源となる映像表示装置の光源を含む設計の最適化技術については考慮されていない。
【0005】
本発明の目的は、空間浮遊情報表示システムまたは空間浮遊映像表示装置において、視認性(見た目の解像度やコントラスト)が高く、表示されている空間像を高精度に三次元操作する方法と誤検知を低減させた好適な映像を表示することが可能な技術を提供することにある。
【課題を解決するための手段】
【0006】
上記課題を解決するために、例えば特許請求の範囲に記載の構成を採用する。本願は上記課題を解決する手段を複数含んでいるが、その一例としての空間浮遊映像表示装置を以下に挙げる。本願の一例としての空間浮遊映像表示システムは、映像を表示する表示パネルと、表示パネルに光を供給する光源装置と、表示パネルからの映像光を反射させ、反射した光により空中に実像の空間浮遊映像を表示せしめる光学板と、空間浮遊映像を含む領域をマトリックス状に分割してセンシングするセンサと、を備え、センサがセンシングするセンシング領域は、空間浮遊映像の長辺の方向および短辺の方向に対してそれぞれ平行な方向に並ぶことによりマトリックス状に構成されている。
【発明の効果】
【0007】
本発明によれば、好適に空間浮遊映像情報を表示することができ、誤検知が少ない三次元センシング機能を有する空間浮遊情報表示システムまたは空間浮遊映像表示装置を実現できる。上記以外の課題、構成および効果は、以下の実施形態の説明により明らかにされる。
【図面の簡単な説明】
【0008】
本発明の一実施例に係る空間浮遊映像情報表示システムの使用形態の一例を示す図である。
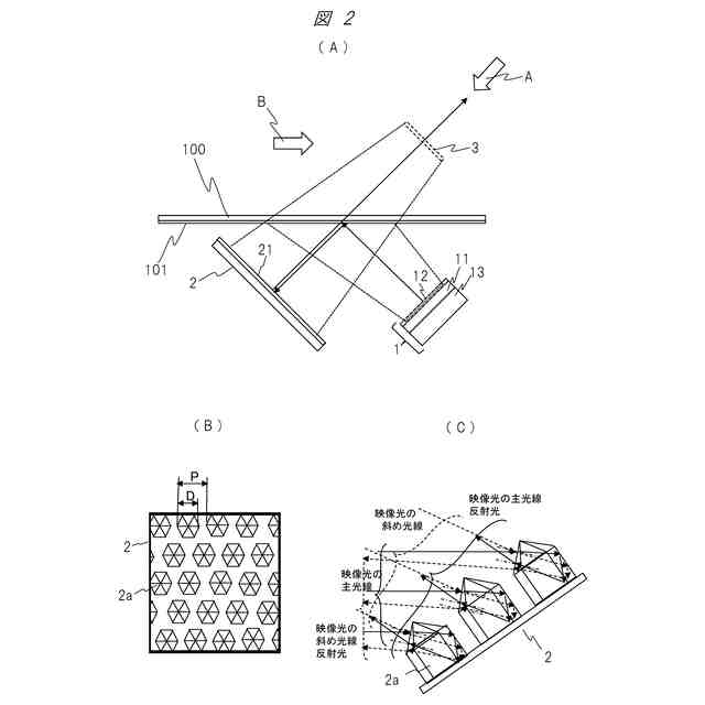
本発明の一実施例に係る空間浮遊映像情報表示システムの主要部構成と再帰反射部構成の一例を示す図である。
本発明の一実施例に係る空間浮遊映像情報表示システムの主要部構成と再帰反射部構成の他の例を示す図である。
本発明の一実施例に係る再帰反射で発生する異常光線を遮る部材の配置を示す図である。
本発明の一実施例に係る再帰反射部で発生する異常光線を遮る部材の配置を示す断面図である。
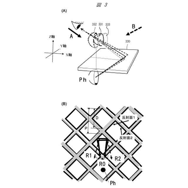
空間浮遊映像情報表示システムで用いるセンシング装置の機能を説明するための説明図である。
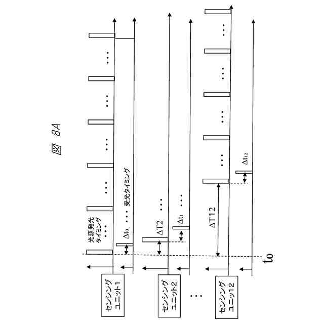
空間浮遊映像情報表示システムで用いる3次元センシングシステムの原理の説明図である。
空間浮遊映像情報表示システムで用いるセンシング装置の動作を説明するための説明図である。
空間浮遊映像情報表示システムで用いるセンシング装置の動作を説明するための説明図である。
太陽光の分光放射照度を示す特性図である。
屈折率1.5の媒質に入射する偏光光の光線入射角度に対する反射特性を示す特性図である。
本発明の一実施例に係る空間浮遊映像情報表示システムの主要部構成を示す図である。
本発明の一実施例に係る他の空間浮遊映像情報表示システムの主要部構成を示す図である。
本発明の一実施例に係る他の空間浮遊映像情報表示システムの主要部構成を示す図である。
本発明の実施例に係る空間浮遊映像情報表示システムへの効果的な映像表示例を示す図である。
映像表示装置の光源拡散特性を説明するための説明図である。
映像表示装置の光源拡散特性を説明するための説明図である。
液晶パネルの視覚特性を測定する座標系を示す図である。
一般的な液晶パネルの輝度角度特性(上下方向)を示す図である。
一般的な液晶パネルのコントラストの角度特性(上下方向)を示す図である。
一般的な液晶パネルの輝度角度特性(左右方向)を示す図である。
一般的な液晶パネルのコントラストの角度特性(左右方向)を示す図である。
光源装置の具体的な構成の例を示す断面図である。
光源装置の具体的な構成の例を示す構造図である。
別方式の光源装置の具体的な構成の例を示す図である。
別方式の光源装置の具体的な構成の別の例を示す図である。
別方式の光源装置の具体的な構成の別の例を示す図である。
別方式の光源装置の具体的な構成の別の例を示す構造図である。
別方式の光源装置の具体的な構成の別の例の一部を抜粋した図である。
別方式の光源装置の具体的な構成の別の例の一部を抜粋した図である。
別方式の光源装置の具体的な構成の別の例の一部を抜粋した図である。
別方式の光源装置の具体的な構成の別の例を示す構造図である。
別方式の光源装置の具体的な構成の別の例を示す図である。
光源装置の具体的な構成の別の例の導光体拡散部の表面形状を示す構造図である。
光源装置の具体的な構成の別の例の導光体拡散部の表面形状を示す拡大図である。
映像表示装置の拡散特性を説明するための図である。
映像表示装置の拡散特性を説明するための図である。
【発明を実施するための形態】
【0009】
以下、本発明の実施の形態を、図面を参照して詳細に説明する。なお、本発明は、以下に説明する実施形態(以下、「本開示」ともいう)の内容に限定されるものではない。本発明は、発明の精神ないし特許請求の範囲に記載された技術的思想の範囲またはその均等範囲物にも及ぶ。また、以下に説明する実施形態(実施例)の構成は、あくまで例示に過ぎないのであって、本明細書に開示される技術的思想の範囲において、当業者による様々な変更および修正が可能である。
【0010】
また、本発明を説明するための図面において、同一または類似の機能を有するものには、同一の符号を付与し、適宜、異なる名称を使用する一方で、機能等の繰り返しの説明を省略する場合がある。なお、以下の実施形態の説明において、空間に浮遊する映像を「空間浮遊映像」という用語で表現している。この用語の代わりに、「空中像」、「空間像」、「空中浮遊映像」、「表示映像の空間浮遊光学像」、「表示映像の空中浮遊光学像」などと表現してもかまわない。実施形態の説明で主として用いる「空間浮遊映像」の用語は、これらの用語の代表例として用いている。
(【0011】以降は省略されています)
この特許をJ-PlatPat(特許庁公式サイト)で参照する
関連特許
マクセル株式会社
電源装置
16日前
マクセル株式会社
粘着テープ
11日前
マクセル株式会社
映像表示装置
1日前
マクセル株式会社
空中浮遊映像表示装置
10日前
マクセル株式会社
応答出力装置およびシステム
17日前
マクセル株式会社
粉体成型体の製造方法及び製造装置
3日前
マクセル株式会社
応答出力装置および応答出力システム
11日前
マクセル株式会社
樹脂発泡糸の製造方法及びラム押出成形機
10日前
マクセル株式会社
操作方法
3日前
マクセル株式会社
情報処理端末
3日前
マクセル株式会社
伝送波の処理方法
1日前
マクセル株式会社
全固体二次電池およびその製造方法
3日前
カンタツ株式会社
光学系
24日前
住友化学株式会社
偏光板
29日前
株式会社シグマ
結像光学系
8日前
株式会社シグマ
結像光学系
18日前
住友化学株式会社
垂直偏光板
29日前
東レ株式会社
貼合体の製造方法
1か月前
東レ株式会社
赤外線遮蔽構成体
1か月前
日本精機株式会社
ミラーユニット
17日前
古河電気工業株式会社
融着機
24日前
日本電気株式会社
光モジュール
18日前
株式会社コシナ
投射ズームレンズ
1日前
日東電工株式会社
導光部材
8日前
個人
多方向視差効果のための微細穴加工
19日前
日東電工株式会社
光学積層体
10日前
個人
眼鏡装着位置変更具および眼鏡
1か月前
京セラ株式会社
光学系
16日前
三菱電機株式会社
レンズモジュール
29日前
AGC株式会社
インフィニティミラー
25日前
日本精機株式会社
ヘッドアップディスプレイ
11日前
日本精機株式会社
ヘッドアップディスプレイ
8日前
住友化学株式会社
光学積層体
1か月前
新光電気工業株式会社
光導波路部品
29日前
新光電気工業株式会社
光導波路部品
29日前
日本精機株式会社
ヘッドアップディスプレイ装置
8日前
続きを見る
他の特許を見る