TOP
|
特許
|
意匠
|
商標
特許ウォッチ
Twitter
他の特許を見る
公開番号
2025141315
公報種別
公開特許公報(A)
公開日
2025-09-29
出願番号
2024041194
出願日
2024-03-15
発明の名称
蓄電装置
出願人
株式会社GSユアサ
代理人
個人
主分類
H01M
50/50 20210101AFI20250919BHJP(基本的電気素子)
要約
【課題】簡易な構成で信頼性が向上された外装体を備える蓄電装置を提供する。
【解決手段】蓄電装置1は、蓄電素子100を備える蓄電ユニット101と、蓄電ユニットを収容する外装体10と、蓄電ユニットに電気的に接続された導電部材200と、を備え、外装体は、蓄電ユニットと離間し、かつ、蓄電ユニットと対向する壁部21を備え、導電部材は、バスバーを210備え、バスバーは、蓄電ユニットに固定される第一固定部211と、壁部に固定される第二固定部215と、第二固定部とは異なる位置において壁部の内面と接触する接触部218と、を備える。
【選択図】図3
特許請求の範囲
【請求項1】
蓄電素子を備える蓄電ユニットと、
前記蓄電ユニットを収容する外装体と、
前記蓄電ユニットに電気的に接続された導電部材と、を備え、
前記外装体は、前記蓄電ユニットと離間し、かつ、前記蓄電ユニットと対向する壁部を備え、
前記導電部材は、バスバーを備え、
前記バスバーは、
前記蓄電ユニットに固定される第一固定部と
前記壁部に固定される第二固定部と、
前記第二固定部とは異なる位置において前記壁部の内面と接触する接触部と、を備える、
蓄電装置。
続きを表示(約 440 文字)
【請求項2】
前記導電部材はさらに、前記バスバーと接続され、かつ、前記第一固定部と前記第二固定部との間に配置される電気機器を備える、
請求項1に記載の蓄電装置。
【請求項3】
前記接触部は、前記第一固定部と前記電気機器との間に配置される、
請求項2に記載の蓄電装置。
【請求項4】
前記バスバーは、第一バスバー及び第二バスバーを備え、
前記第一バスバーは、前記第一バスバーの一端に前記第一固定部を備え、
前記電気機器は、前記第一バスバーの他端に接続され、
前記第二バスバーは、前記第二バスバーの一端に前記第二固定部を備え、
前記電気機器は、前記第二バスバーの他端に接続される、
請求項2または3に記載の蓄電装置。
【請求項5】
前記接触部は、前記バスバーの一部であって、前記壁部に向けて突出するように曲げられた部分である、
請求項1~3のいずれか一項に記載の蓄電装置。
発明の詳細な説明
【技術分野】
【0001】
本発明は、蓄電装置に関する。
続きを表示(約 1,800 文字)
【背景技術】
【0002】
特許文献1には、蓄電モジュールが開示されている。この蓄電モジュールは、端面に端子部を有する蓄電デバイスと、蓄電デバイスが保持されるホールドケースと、端子部に接続されるバスバーと、ホールドケースに設けられ、バスバーが固定される固定部とを備える。バスバーは、端子部に接続される第1端子接続部と、固定部に固定される本体部と、第2端子接続部と、を含む。第2端子接続部は、本体部に対して第1端子接続部と反対側に位置する。第1端子接続は蓄電デバイスの端子部に溶接され、第2端子接続部はホールドケースが備える外部出力端子に溶接される。
【先行技術文献】
【特許文献】
【0003】
国際公開第2020/203734号
【発明の概要】
【発明が解決しようとする課題】
【0004】
上記従来の蓄電モジュールでは、バスバーの本体部は、ホールドケースの固定部が有する孔部に圧入されることで固定部に固定される。つまり、バスバーの本体部の移動を制限するためには、バスバーの本体部を孔部に圧入する必要がある。このことは、蓄電モジュールの構成または/及び製造工程の煩雑化等の要因となる。
【0005】
本発明は、本願発明者が上記課題に新たに着目してなされたものであり、簡易な構成で信頼性が向上された外装体を備える蓄電装置を提供することを目的とする。
【課題を解決するための手段】
【0006】
本発明の一態様に係る蓄電装置は、蓄電素子を備える蓄電ユニットと、前記蓄電ユニットを収容する外装体と、前記蓄電ユニットに電気的に接続された導電部材と、を備え、前記外装体は、前記蓄電ユニットと離間し、かつ、前記蓄電ユニットと対向する壁部を備え、前記導電部材は、バスバーを備え、前記バスバーは、前記蓄電ユニットに固定される第一固定部と、前記壁部に固定される第二固定部と、前記第二固定部とは異なる位置において前記壁部の内面と接触する接触部と、を備える。
【発明の効果】
【0007】
本発明によれば、簡易な構成で信頼性が向上された外装体を備える蓄電装置を提供できる。
【図面の簡単な説明】
【0008】
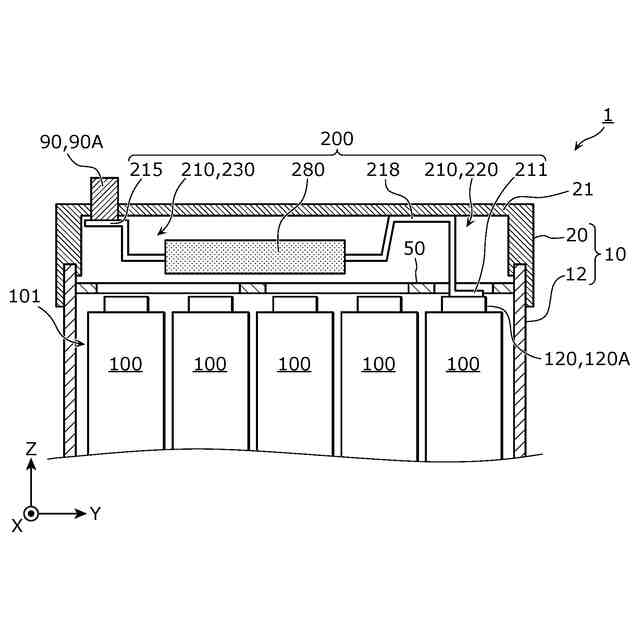
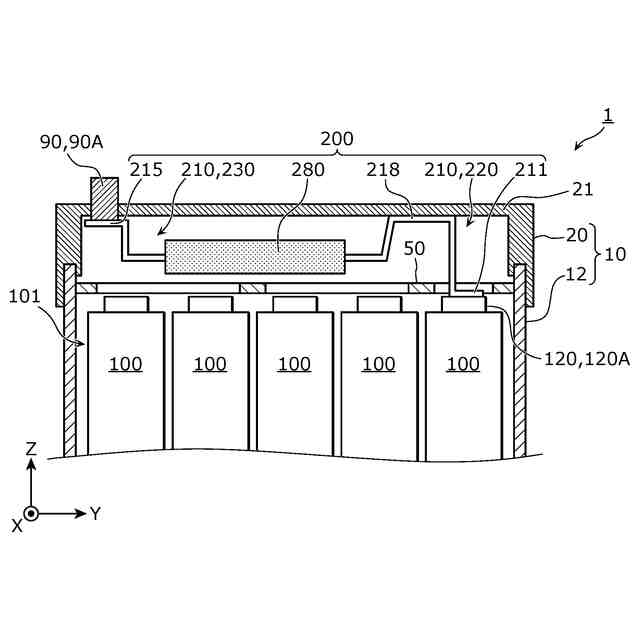
図1は、実施の形態に係る蓄電装置の外観を示す斜視図である。
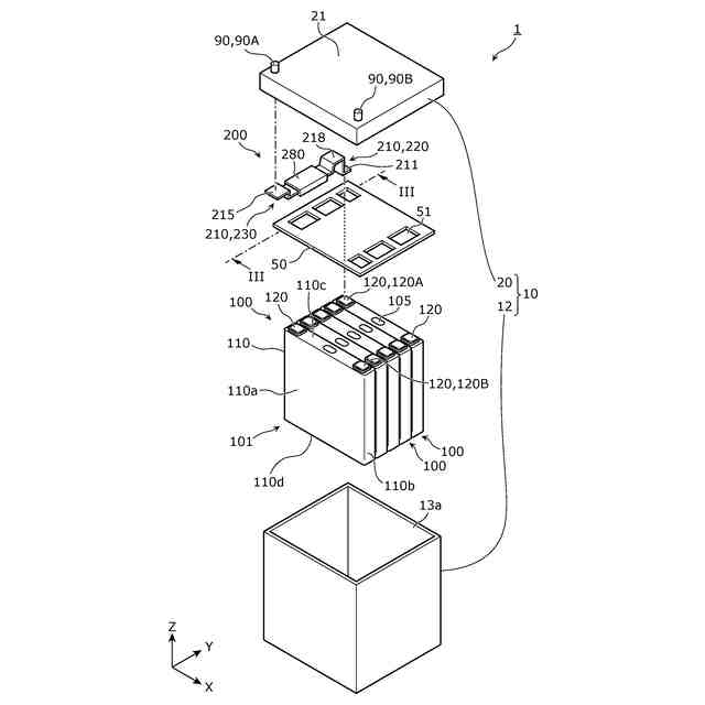
図2は、実施の形態に係る蓄電装置の分解斜視図である。
図3は、実施の形態に係る導電部材及びその周辺の構成を示す図である。
図4は、実施の形態の変形例1に係る導電部材及びその周辺の構成を示す図である。
図5は、実施の形態の変形例2に係る導電部材及びその周辺の構成を示す図である。
図6は、実施の形態の変形例3に係る導電部材及びその周辺の構成を示す図である。
図7は、実施の形態の変形例4に係る導電部材及びその周辺の構成を示す図である。
図8は、実施の形態の変形例5に係る導電部材及びその周辺の構成を示す図である。
【発明を実施するための形態】
【0009】
(1)本発明の一態様に係る蓄電装置は、蓄電素子を備える蓄電ユニットと、前記蓄電ユニットを収容する外装体と、前記蓄電ユニットに電気的に接続された導電部材と、を備え、前記外装体は、前記蓄電ユニットと離間し、かつ、前記蓄電ユニットと対向する壁部を備え、前記導電部材は、バスバーを備え、前記バスバーは、前記蓄電ユニットに固定される第一固定部と、前記壁部に固定される第二固定部と、前記第二固定部とは異なる位置において前記壁部の内面と接触する接触部と、を備える。
【0010】
本発明の一態様に係る蓄電装置によれば、導電部材は、蓄電ユニット及び外装体の壁部に固定され、かつ、壁部との固定位置(第二固定部)とは異なる位置において壁部の内面と接触する接触部を有する。従って、導電部材における第一固定部と第二固定部との間の部分の変形が抑制される。これにより、振動または衝撃等に起因する導電部材の劣化または損傷が抑制される。このように、本態様に係る蓄電装置は、簡易な構成で信頼性が向上された蓄電装置である。
(【0011】以降は省略されています)
この特許をJ-PlatPat(特許庁公式サイト)で参照する
関連特許
株式会社GSユアサ
蓄電装置
2日前
株式会社GSユアサ
蓄電素子用の正極活物質、蓄電素子用の正極及び蓄電素子
8日前
株式会社GSユアサ
蓄電素子
10日前
株式会社GSユアサ
鉛蓄電池用正極集電体、および鉛蓄電池用集電体の製造方法
9日前
株式会社GSユアサ
蓄電情報処理方法、コンピュータプログラム及び蓄電情報処理装置
4日前
株式会社GSユアサ
充放電ステーション
11日前
株式会社GSユアサ
情報処理装置及び端末装置
11日前
株式会社GSユアサ
蓄電装置、組電池の異常検出方法
11日前
株式会社GSユアサ
回収支援装置、回収支援システム及び回収支援方法
11日前
株式会社GSユアサ
硫化物固体電解質の製造方法、硫化物固体電解質、全固体電池、及び硫化物固体電解質の製造に用いる原料化合物の選択方法
10日前
APB株式会社
蓄電セル
1日前
東ソー株式会社
絶縁電線
3日前
個人
フレキシブル電気化学素子
15日前
株式会社ユーシン
操作装置
15日前
ローム株式会社
半導体装置
2日前
ローム株式会社
半導体装置
22日前
日新イオン機器株式会社
イオン源
11日前
ローム株式会社
半導体装置
17日前
太陽誘電株式会社
コイル部品
15日前
株式会社ホロン
冷陰極電子源
22日前
株式会社ホロン
冷陰極電子源
9日前
オムロン株式会社
電磁継電器
16日前
株式会社GSユアサ
蓄電設備
15日前
株式会社GSユアサ
蓄電設備
15日前
株式会社GSユアサ
蓄電装置
22日前
太陽誘電株式会社
全固体電池
22日前
トヨタ自動車株式会社
蓄電装置
15日前
北道電設株式会社
配電具カバー
1日前
日本特殊陶業株式会社
保持装置
4日前
サクサ株式会社
電池の固定構造
15日前
日東電工株式会社
積層体
16日前
ノリタケ株式会社
熱伝導シート
15日前
トヨタ自動車株式会社
バッテリ
16日前
TDK株式会社
電子部品
22日前
トヨタ自動車株式会社
バッテリ
1日前
日本特殊陶業株式会社
保持装置
22日前
続きを見る
他の特許を見る