TOP
|
特許
|
意匠
|
商標
特許ウォッチ
Twitter
他の特許を見る
10個以上の画像は省略されています。
公開番号
2025157847
公報種別
公開特許公報(A)
公開日
2025-10-16
出願番号
2024060137
出願日
2024-04-03
発明の名称
鉛蓄電池用正極集電体、および鉛蓄電池用集電体の製造方法
出願人
株式会社GSユアサ
代理人
弁理士法人暁合同特許事務所
主分類
H01M
4/64 20060101AFI20251008BHJP(基本的電気素子)
要約
【課題】集電体の歩留まり低下を抑制する。
【解決手段】本開示の第1正極集電体32は、鉛蓄電池10に用いられる第1正極集電体32であって、第1正極集電体32の外周部分を構成する枠骨33と、枠骨33内において格子状に架け渡された内骨34と、を備え、第1正極集電体32は、縞状組織を有する圧延材RMにより形成され、内骨34は補強骨35を含み、補強骨35の延伸方向に垂直な断面の面積は、枠骨33の延伸方向に垂直な断面の面積よりも大きい。
【選択図】図5
特許請求の範囲
【請求項1】
鉛蓄電池に用いられる正極集電体であって、
前記正極集電体の外周部分を構成する枠骨と、
前記枠骨内において格子状に架け渡された内骨と、を備え、
前記正極集電体は、縞状組織を有する圧延材により形成され、
前記内骨は補強骨を含み、
前記補強骨の延伸方向に垂直な断面の面積は、前記枠骨の延伸方向に垂直な断面の面積よりも大きい、鉛蓄電池用正極集電体。
続きを表示(約 1,100 文字)
【請求項2】
鉛蓄電池に用いられる正極集電体であって、
前記正極集電体の外周部分を構成する枠骨と、
前記枠骨内において格子状に架け渡された内骨と、を備え、
前記正極集電体は、圧延材を打ち抜き加工した打ち抜き格子とされ、
前記内骨は補強骨を含み、
前記補強骨の延伸方向に垂直な断面の面積は、前記枠骨の延伸方向に垂直な断面の面積よりも大きい、鉛蓄電池用正極集電体。
【請求項3】
前記補強骨の延伸方向は前記圧延材の圧延方向と垂直であり、
前記補強骨は縞状組織を有し、
前記縞状組織が前記補強骨の外周面に沿った面方向に延びる第1の外周部と、前記縞状組織が前記補強骨の外周面に交差する深さ方向に延びる第2の外周部と、を備え、
前記補強骨の延伸方向に垂直な断面において、前記第2の外周部の長さは、前記断面の全周の40%以下で ある、請求項1または請求項2に記載の鉛蓄電池用正極集電体。
【請求項4】
前記補強骨は、前記枠骨に隣り合う位置に配されている、請求項1または請求項2に記載の鉛蓄電池用正極集電体。
【請求項5】
前記枠骨は全体として矩形状をなし、縦方向にのびる一対の縦枠骨と、横方向にのびる一対の横枠骨と、を備え、
一方の前記横枠骨から前記枠骨外に突出した耳部を備え、
前記内骨は、一方の前記横枠骨のうち前記耳部が形成された部分と他方の前記横枠骨とを接続する集電骨を備え、
一方の前記縦枠骨と前記集電骨との間に位置する前記補強骨は、前記集電骨よりも一方の前記縦枠骨に近い位置に配されている、請求項1または請求項2に記載の鉛蓄電池用正極集電体。
【請求項6】
前記補強骨は、前記縦枠骨に隣り合う位置に配されている、請求項5に記載の鉛蓄電池用正極集電体。
【請求項7】
前記正極集電体の厚みが2.0mm以下である、請求項1または請求項2に記載の鉛蓄電池用正極集電体。
【請求項8】
鉛または鉛合金により形成された圧延材に対して、打ち抜き加工を行うことで集電体群を形成する打ち抜き工程と、前記集電体群を切断することで複数の集電体を個別に切り出す切り出し工程と、を含む鉛蓄電池用集電体の製造方法であって、
前記集電体は、前記集電体の外周部分を構成する枠骨と、前記枠骨内において格子状に架け渡された内骨と、を備え、
前記内骨は補強骨を含み、
前記打ち抜き工程では、前記補強骨が前記圧延材の圧延方向と垂直な方向に延伸するように前記圧延材を打ち抜く、鉛蓄電池用集電体の製造方法。
発明の詳細な説明
【技術分野】
【0001】
本開示は、鉛蓄電池用正極集電体、および鉛蓄電池用集電体の製造方法に関する。
続きを表示(約 1,600 文字)
【背景技術】
【0002】
鉛蓄電池用正極集電体として、例えば特開2014-235844号公報(下記特許文献1)に記載の格子が知られている。この格子は、矩形状をなす枠骨と、枠骨の四辺のうち第1辺部から枠外に突出した耳部と、第1辺部と第1辺部に対向する第2辺部とを接続するメイン骨と、少なくともメイン骨から分岐し、メイン骨を軸とした両側に向かい、且つ、第2辺部側に向かって斜めにのびる複数の第1サブ骨と、を備え、複数の第1サブ骨のうち少なくとも一部が、屈曲している。
【先行技術文献】
【特許文献】
【0003】
特開2014-235844号公報
【発明の概要】
【発明が解決しようとする課題】
【0004】
上記の格子では、格子ロールから各格子を切り出す際、切断する位置が隣り合う二つの格子のそれぞれの枠骨の境界となる。その際に、それぞれの枠骨の幅が均等となるように切断することが好ましいが、切断精度が低いと、枠骨の幅がばらつくことになり、格子の歩留まり低下の一因になる。
【0005】
本開示は上記のような事情に基づいて完成されたものであって、集電体の歩留まり低下を抑制することを目的とする。
【課題を解決するための手段】
【0006】
本発明の一側面の鉛蓄電池用正極集電体は、鉛蓄電池に用いられる正極集電体であって、前記正極集電体の外周部分を構成する枠骨と、前記枠骨内において格子状に架け渡された内骨と、を備え、前記正極集電体は、縞状組織を有する圧延材により形成され、前記内骨は補強骨を含み、前記補強骨の延伸方向に垂直な断面の面積は、前記枠骨の延伸方向に垂直な断面の面積よりも大きい、鉛蓄電池用正極集電体である。
【0007】
本発明の他の一側面の鉛蓄電池用正極集電体は、鉛蓄電池に用いられる正極集電体であって、前記正極集電体の外周部分を構成する枠骨と、前記枠骨内において格子状に架け渡された内骨と、を備え、前記正極集電体は、圧延材を打ち抜き加工した打ち抜き格子とされ、前記内骨は補強骨を含み、前記補強骨の延伸方向に垂直な断面の面積は、前記枠骨の延伸方向に垂直な断面の面積よりも大きい、鉛蓄電池用正極集電体である。
【発明の効果】
【0008】
本開示によれば、集電体の歩留まり低下を抑制できる。
【図面の簡単な説明】
【0009】
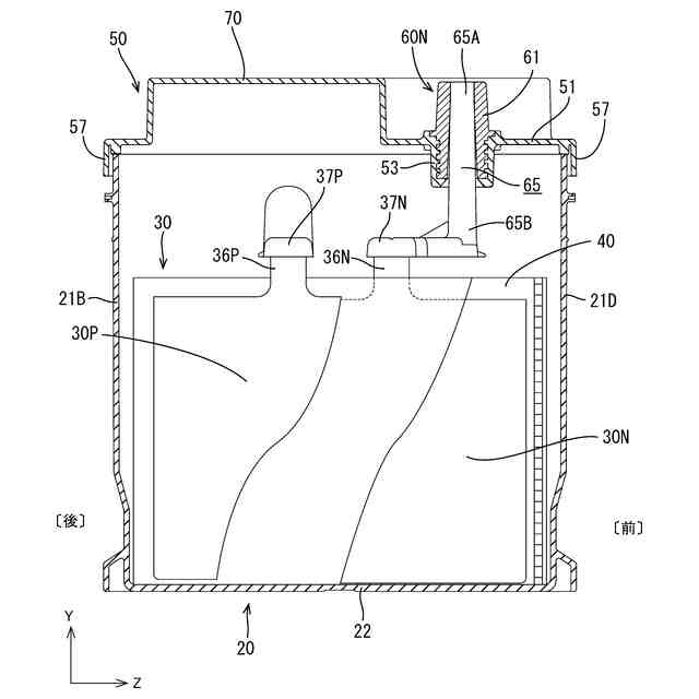
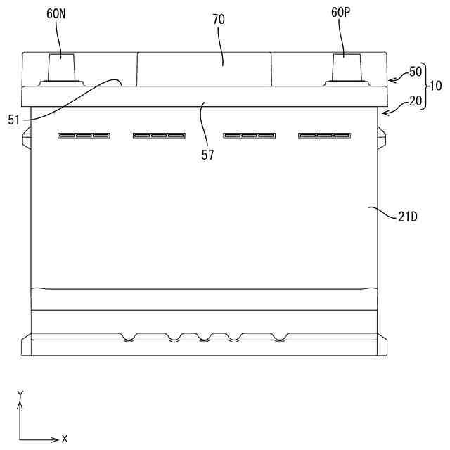
本開示の実施形態に係る鉛蓄電池の斜視図である。
鉛蓄電池の正面図である。
電槽の平面図である。
鉛蓄電池の垂直断面図(図1のA-A断面図)である。
第1正極集電体の正面図である。
第1正極板の断面図である。
第2正極集電体の正面図である。
第3正極集電体の正面図である。
第4正極集電体の正面図である。
集電体の製造方法の前半部分を説明した図である。
集電体の製造方法の後半部分を説明した図である。
図5の補強骨の断面(図5のB-Bの位置における断面)の撮像画像を示す説明図である。
図12における補強骨の断面の一部分を拡大して示す説明図である。
【発明を実施するための形態】
【0010】
(本実施形態の概要)
(1)本発明の一側面の正極集電体は、鉛蓄電池に用いられる正極集電体であって、前記正極集電体の外周部分を構成する枠骨と、前記枠骨内において格子状に架け渡された内骨と、を備え、前記正極集電体は、縞状組織を有する圧延材により形成され、前記内骨は補強骨を含み、前記補強骨の延伸方向に垂直な断面の面積は、前記枠骨の延伸方向に垂直な断面の面積よりも大きい。
(【0011】以降は省略されています)
この特許をJ-PlatPat(特許庁公式サイト)で参照する
関連特許
他の特許を見る