TOP
|
特許
|
意匠
|
商標
特許ウォッチ
Twitter
他の特許を見る
公開番号
2025157893
公報種別
公開特許公報(A)
公開日
2025-10-16
出願番号
2024060220
出願日
2024-04-03
発明の名称
電動車両
出願人
トヨタ自動車株式会社
代理人
弁理士法人酒井国際特許事務所
主分類
B60L
55/00 20190101AFI20251008BHJP(車両一般)
要約
【課題】車載充電器に瞬間的に大電流が流れることを抑制することができる電動車両を提供すること。
【解決手段】電動車両は、外部へ給電を行うための車載充電器と、給電時にユーザによって操作される操作部と、操作部が接触することにより、車載充電器と車載バッテリとを接続する切替部と、電動車両の高電圧系システムの動作に使用される第一リレー機構が接続されている場合に、操作部と前記切替部との接触を規制する規制部と、を備える。
【選択図】図2
特許請求の範囲
【請求項1】
外部へ給電を行うための車載充電器と、
給電時にユーザによって操作される操作部と、
前記操作部が接触することにより、前記車載充電器と車載バッテリとを接続する切替部と、
電動車両の高電圧系システムの動作に使用される第一リレー機構が接続されている場合に、前記操作部と前記切替部との接触を規制する規制部と、
を備える電動車両。
続きを表示(約 180 文字)
【請求項2】
前記規制部は、
前記電動車両の低電圧系システムの動作に使用される第二リレー機構がオンである場合に通電される電磁コイルと、
前記電磁コイルが通電された場合に前記操作部と前記切替部との接触を規制し、前記電磁コイルが通電されていない場合に前記操作部と前記切替部との接触を規制しない移動部と、
を備える請求項1に記載の電動車両。
発明の詳細な説明
【技術分野】
【0001】
本開示は、電動車両に関する。
続きを表示(約 1,200 文字)
【背景技術】
【0002】
特許文献1には、外部給電を開始するための切り替えスイッチを備える電動車両が開示されている。
【先行技術文献】
【特許文献】
【0003】
特開2018-069832号公報
【発明の概要】
【発明が解決しようとする課題】
【0004】
特許文献1のように、車載バッテリと車載充電器との接続を切り替えスイッチで切り替えている場合、車両側のリレー機構がオンの状態で切替スイッチを操作すると、車載充電器に瞬間的に大電流が流れるおそれがある。
【0005】
本開示は、上記に鑑みてなされたものであって、車載充電器に瞬間的に大電流が流れることを抑制することができる電動車両を提供することを目的とする。
【課題を解決するための手段】
【0006】
本開示に係る電動車両は、外部へ給電を行うための車載充電器と、給電時にユーザによって操作される操作部と、前記操作部が接触することにより、前記車載充電器と車載バッテリとを接続する切替部と、電動車両の高電圧系システムの動作に使用される第一リレー機構が接続されている場合に、前記操作部と前記切替部との接触を規制する規制部と、を備える。
【発明の効果】
【0007】
本開示によれば、第一リレー機構がオンである場合(接続されている場合)に操作部と切替部との接触(接続)を規制する規制部を備えることにより、車載充電器に瞬間的に大電流が流れることを抑制することができる。
【図面の簡単な説明】
【0008】
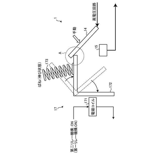
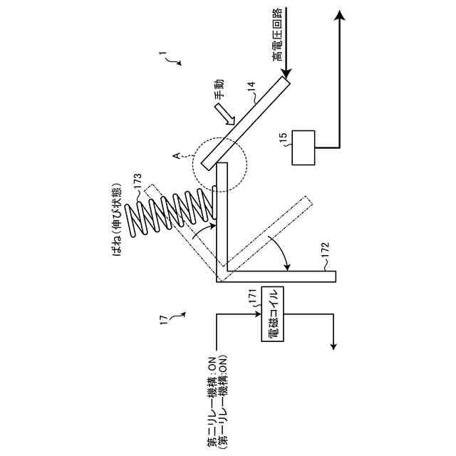
図1は、実施形態に係る電動車両において、車載バッテリと車載充電器とを含む回路の構成を示す概略図である。
図2は、実施形態に係る電動車両において、第二リレー機構がオンである場合の規制部の動作を示す概略図である。
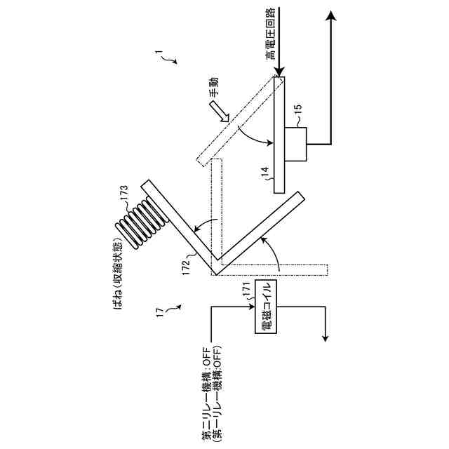
図3は、実施形態に係る電動車両において、第二リレー機構がオフである場合の規制部の動作を示す概略図である。
【発明を実施するための形態】
【0009】
本開示の実施形態に係る電動車両について、図面を参照しながら説明する。なお、下記実施形態における構成要素には、当業者が置換可能かつ容易なもの、あるいは実質的に同一のものが含まれる。
【0010】
実施形態に係る電動車両は、例えば燃料電池車(FCEV:Fuel Cell Electric Vehicle)である。この電動車両では、自車両で発電した電力を、車載充電器を通じて、外部の電動車両(例えば電気自動車(BEV:Battery Electric Vehicle))へと供給する。これにより、電動車両では、電欠の電動車両に対する救援充電を行うことができる。
(【0011】以降は省略されています)
この特許をJ-PlatPat(特許庁公式サイト)で参照する
関連特許
個人
前輪キャスター
3か月前
個人
上部一体型自動車
2か月前
個人
空間形成装置
1か月前
個人
タイヤ脱落防止構造
3か月前
個人
ルーフ付きトライク
4か月前
日本精機株式会社
表示装置
4か月前
個人
マスタシリンダ
2か月前
日本精機株式会社
表示装置
4か月前
日本精機株式会社
表示装置
4か月前
日本精機株式会社
照明装置
1か月前
日本精機株式会社
表示装置
3か月前
個人
常設収納型サンバイザー
1か月前
個人
回転窓ワイパー装置
1か月前
株式会社ニフコ
照明装置
3か月前
日本精機株式会社
車載表示装置
2か月前
日本精機株式会社
車載表示装置
1か月前
株式会社豊田自動織機
産業車両
1か月前
日本精機株式会社
車載表示装置
1か月前
株式会社ニフコ
収納装置
2か月前
日本精機株式会社
車室演出装置
3か月前
日本精機株式会社
車載表示装置
1か月前
日本精機株式会社
画像投映装置
2か月前
株式会社豊田自動織機
産業車両
4か月前
井関農機株式会社
作業車両
2か月前
個人
聴覚と触覚を利用する速度計
2日前
極東開発工業株式会社
車両
4か月前
日本精機株式会社
車両用表示装置
2か月前
個人
音による速度計とプログラム
1か月前
日本精機株式会社
車両用表示装置
4か月前
日本精機株式会社
車両用報知装置
1か月前
日本精機株式会社
車両用投射装置
2か月前
日本精機株式会社
車両用投影装置
2か月前
株式会社SUBARU
車両
1か月前
日本化薬株式会社
ガス発生器
2日前
日本化薬株式会社
ガス発生器
2か月前
エムケー精工株式会社
車両処理装置
2か月前
続きを見る
他の特許を見る