TOP
|
特許
|
意匠
|
商標
特許ウォッチ
Twitter
他の特許を見る
公開番号
2025144681
公報種別
公開特許公報(A)
公開日
2025-10-03
出願番号
2024044477
出願日
2024-03-21
発明の名称
回転子
出願人
トヨタ自動車株式会社
代理人
個人
主分類
H02K
1/276 20220101AFI20250926BHJP(電力の発電,変換,配電)
要約
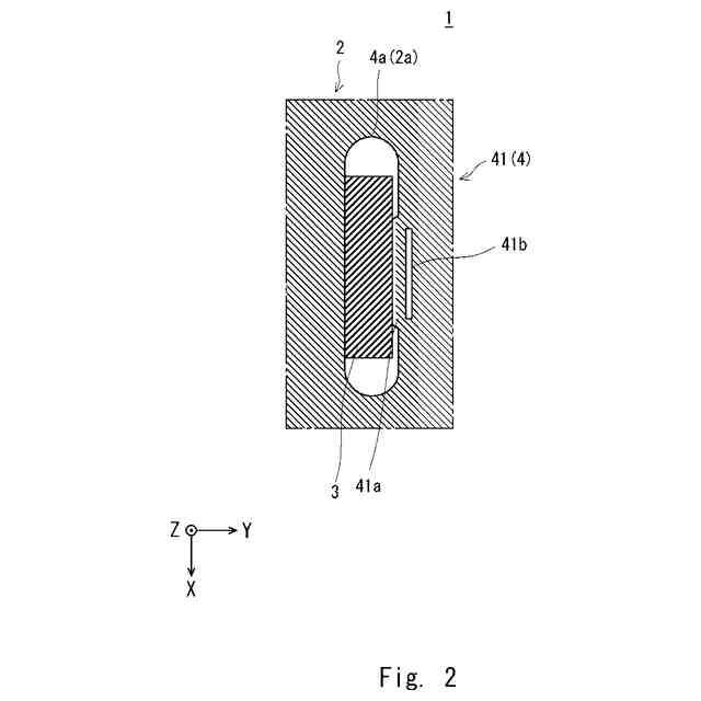
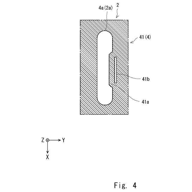
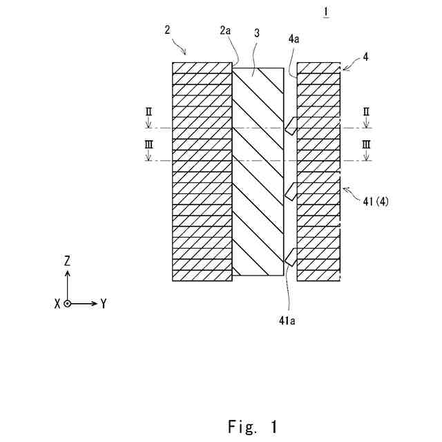
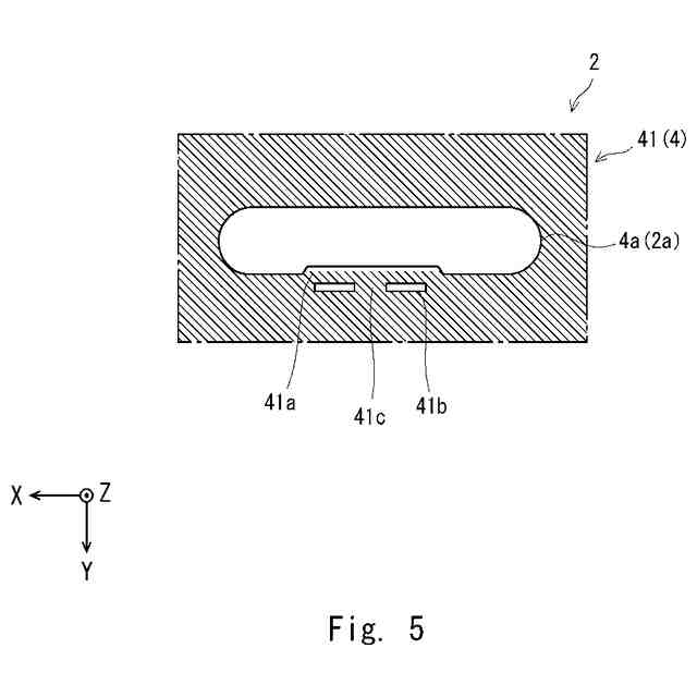
【課題】永久磁石をコアのスロット部に挿入した際の電磁鋼板へのストレスを抑制しつつ、永久磁石をコアのスロット部に固定可能な回転子を実現する。
【解決手段】本開示の一形態に係る回転子(1)は、電磁鋼板(4)が積層されて成るコア(2)と、コア(2)のスロット部(2a)に挿入される永久磁石(3)と、を有する回転子であって、電磁鋼板(41)のスロット部(2a)を構成する貫通部から永久磁石(3)の側に突出して当該永久磁石(3)に電磁鋼板(4)の積層方向に対して直交する方向で線接触し、永久磁石(3)をスロット部(2a)の周面に押し込む押し込み部(41a)と、押し込み部(41a)における電磁鋼板(4)の積層方向への曲げ剛性を低減するために、電磁鋼板(41)に形成されるスリット部(41b)と、を備える。
【選択図】図1
特許請求の範囲
【請求項1】
電磁鋼板が積層されて成るコアと、前記コアのスロット部に挿入される永久磁石と、を有する回転子であって、
前記電磁鋼板の前記スロット部を構成する貫通部から前記永久磁石の側に突出して当該永久磁石に前記電磁鋼板の積層方向に対して直交する方向で線接触し、前記永久磁石を前記スロット部の周面に押し込む押し込み部と、
前記押し込み部における前記電磁鋼板の積層方向への曲げ剛性を低減するために、前記電磁鋼板に形成されるスリット部と、
を備える、回転子。
続きを表示(約 280 文字)
【請求項2】
前記押し込み部は、前記永久磁石における前記スリット部への挿入方向に傾斜している、請求項1に記載の回転子。
【請求項3】
前記押し込み部は、前記電磁鋼板の積層方向に等しい間隔で配置されている、請求項1又は2に記載の回転子。
【請求項4】
前記押し込み部は、前記コアの外周側に前記永久磁石を押し込むように配置されている、請求項1又は2に記載の回転子。
【請求項5】
前記スリット部における前記押し込み部が前記貫通部から突出する方向で向かい合う縁部を接続するリブを備える、請求項1又は2に記載の回転子。
発明の詳細な説明
【技術分野】
【0001】
本開示は、回転子に関し、例えば、電磁鋼板が積層されて成るコアと、当該コアのスロット部に挿入される永久磁石と、を有する回転子に関する。
続きを表示(約 1,200 文字)
【背景技術】
【0002】
例えば、IPM(Interior Permanent Magnet)モータなどの回転子は、電磁鋼板が積層されて成るコアのスロット部に永久磁石が挿入された構成である。このとき、特許文献1の回転子は、電磁鋼板におけるスロット部を構成する部分から突出する突起状の支持部を永久磁石の一対の肩部に当該電磁鋼板の積層方向で線接触させることで、永久磁石をコアに固定した構成である。
【先行技術文献】
【特許文献】
【0003】
特開2020-72529号公報
【発明の概要】
【発明が解決しようとする課題】
【0004】
本出願人は、以下の課題を見出した。特許文献1の回転子において、電磁鋼板の支持部は、突起状であるため、曲げ剛性が高く、永久磁石をコアのスロット部に挿入した際に支持部が永久磁石に強く接触して電磁鋼板が引っ張られ、電磁鋼板の間に隙間が生じる場合がある。このように電磁鋼板の間に隙間が生じると磁束による電磁斥力が発生して電磁鋼板へのストレスになる課題を有する。
【0005】
本開示は、このような問題点に鑑みてなされたものであり、永久磁石をコアのスロット部に挿入した際の電磁鋼板へのストレスを抑制しつつ、永久磁石をコアのスロット部に固定可能な回転子を実現する。
【課題を解決するための手段】
【0006】
本開示の一態様に係る回転子は、電磁鋼板が積層されて成るコアと、前記コアのスロット部に挿入される永久磁石と、を有する回転子であって、
前記電磁鋼板の前記スロット部を構成する貫通部から前記永久磁石の側に突出して当該永久磁石に前記電磁鋼板の積層方向に対して直交する方向で線接触し、前記永久磁石を前記スロット部の周面に押し込む押し込み部と、
前記押し込み部における前記電磁鋼板の積層方向への曲げ剛性を低減するために、前記電磁鋼板に形成されるスリット部と、
を備える。
【0007】
上述の回転子において、前記押し込み部は、前記永久磁石における前記スリット部への挿入方向に傾斜していることが好ましい。
【0008】
上述の回転子において、前記押し込み部は、前記電磁鋼板の積層方向に等しい間隔で配置されていることが好ましい。
【0009】
上述の回転子において、前記押し込み部は、前記コアの外周側に前記永久磁石を押し込むように配置されていることが好ましい。
【0010】
上述の回転子は、前記スリット部における前記押し込み部が前記貫通部から突出する方向で向かい合う縁部を接続するリブを備えることが好ましい。
【発明の効果】
(【0011】以降は省略されています)
この特許をJ-PlatPat(特許庁公式サイト)で参照する
関連特許
トヨタ自動車株式会社
モータ
2日前
トヨタ自動車株式会社
路側装置
2日前
トヨタ自動車株式会社
路側装置
2日前
トヨタ自動車株式会社
制御装置
2日前
トヨタ自動車株式会社
蓄電装置
2日前
トヨタ自動車株式会社
電動車両
2日前
トヨタ自動車株式会社
路側装置
2日前
トヨタ自動車株式会社
路側装置
2日前
トヨタ自動車株式会社
推定装置
2日前
トヨタ自動車株式会社
制御装置
2日前
トヨタ自動車株式会社
鋳造装置
2日前
トヨタ自動車株式会社
電動車両
2日前
トヨタ自動車株式会社
動力伝達装置
2日前
トヨタ自動車株式会社
電力システム
2日前
トヨタ自動車株式会社
情報処理装置
2日前
トヨタ自動車株式会社
車両前部構造
2日前
トヨタ自動車株式会社
車両の制御装置
2日前
トヨタ自動車株式会社
アンケート装置
2日前
トヨタ自動車株式会社
車両用充電設備
2日前
トヨタ自動車株式会社
オイル塗布装置
2日前
トヨタ自動車株式会社
車両用制御装置
2日前
トヨタ自動車株式会社
水電解システム
2日前
トヨタ自動車株式会社
車両の制御装置
2日前
トヨタ自動車株式会社
制御装置及び車両
2日前
トヨタ自動車株式会社
制御装置及び車両
2日前
トヨタ自動車株式会社
バッテリおよび車両
2日前
トヨタ自動車株式会社
フレックス燃料車両
2日前
トヨタ自動車株式会社
内燃機関の制御装置
2日前
トヨタ自動車株式会社
支援装置及び支援方法
2日前
トヨタ自動車株式会社
支援装置及び支援方法
2日前
トヨタ自動車株式会社
冷却用電動ファン制御装置
2日前
トヨタ自動車株式会社
ハイブリッド車両の制御装置
2日前
株式会社デンソー
摺動機構
2日前
株式会社デンソー
摺動機構
2日前
トヨタ自動車株式会社
空気清浄装置及び空気清浄方法
2日前
トヨタ自動車株式会社
情報処理装置及び情報処理方法
2日前
続きを見る
他の特許を見る