TOP
|
特許
|
意匠
|
商標
特許ウォッチ
Twitter
他の特許を見る
公開番号
2025159940
公報種別
公開特許公報(A)
公開日
2025-10-22
出願番号
2024062823
出願日
2024-04-09
発明の名称
燃料電池
出願人
トヨタ自動車株式会社
代理人
弁理士法人 快友国際特許事務所
主分類
H01M
8/0258 20160101AFI20251015BHJP(基本的電気素子)
要約
【課題】ガス流路の一部に断面積が小さい絞り部が設けられた燃料電池において、生成水の排水速度の低下を抑制する技術を提案する。
【解決手段】燃料電池では、ガス拡散層と、ガス拡散層に接し、ガス拡散層に接する表面に第1凹部と第2凹部が設けられているセパレータと、第1凹部とガス拡散層に囲まれた第1ガス流路と、第2凹部とガス拡散層に囲まれた第2ガス流路と、を有し、セパレータが、第1ガス流路の壁面のうちの第1壁面と、第1ガス流路の壁面のうちの第1壁面に対向する第2壁面、を有し、第1壁面に、第1凸部が設けられており、第2壁面に、前記第1凸部よりも下流側に位置する第2凸部が設けられており、第1凸部の先端が、第2凸部の先端よりも第2壁面に近い位置に配置されており、第1凸部と第2凸部の間の間隔が、第1壁面と第2壁面の間の間隔よりも狭い。
【選択図】図3
特許請求の範囲
【請求項1】
燃料電池であって、
ガス拡散層と、
前記ガス拡散層に接し、前記ガス拡散層に接する表面に第1凹部と前記第1凹部に沿って伸びる第2凹部が設けられているセパレータと、
前記第1凹部と前記ガス拡散層に囲まれた第1ガス流路と、
前記第2凹部と前記ガス拡散層に囲まれた第2ガス流路と、
を有し、
前記セパレータが、
前記第1ガス流路の壁面のうちの第1壁面と、
前記第1ガス流路の壁面のうちの前記第1壁面に対向する第2壁面、
を有し、
前記第1壁面に、第1凸部が設けられており、
前記第2壁面に、前記第1凸部よりも下流側に位置する第2凸部が設けられており、
前記第1凸部の先端が、前記第2凸部の先端よりも前記第2壁面に近い位置に配置されており、
前記第1凸部と前記第2凸部の間の間隔が、前記第1壁面と前記第2壁面の間の間隔よりも狭い、
燃料電池。
発明の詳細な説明
【技術分野】
【0001】
本明細書に開示の技術は、燃料電池に関する。
続きを表示(約 2,000 文字)
【背景技術】
【0002】
特許文献1には、2つのセパレータの間に膜電極ガス拡散層接合体が挟まれた構造を有する燃料電池が開示されている。膜電極ガス拡散層接合体は、2つのガス拡散層の間に膜電極接合体が挟まれた構造を有している。各セパレータは、ガス拡散層に接している。2つのセパレータのガス拡散層側の表面に複数の凹部がそれぞれ設けられている。ガス拡散層と凹部に囲まれた空間には、ガスが流れるガス流路が設けられている。ガス流路には、流路断面積が部分的に小さくされた絞り部が設けられている。この燃料電池では、一方のセパレータのガス流路には、水素ガスが流れる。水素ガスは、水素ガス流路からガス拡散層を介して、膜電極接合体に供給される。また、他方のセパレータのガス流路には、空気が流れる。空気は、空気ガス流路からガス拡散層を介して、膜電極接合体に供給される。膜電極接合体で水素と空気(すなわち、酸素)が反応することによって、電力が生成される。ガス流路に絞り部が設けられていると、各ガスがガス拡散層を介して膜電極接合体へ流れやすく、効率的に発電が行われる。
【先行技術文献】
【特許文献】
【0003】
特開2017-59439号公報
【発明の概要】
【発明が解決しようとする課題】
【0004】
また、水素と空気が反応するときに、膜電極接合体内部で水(以下、生成水という)が生成される。生成水は、膜電極接合体からガス流路を介して燃料電池外部へと排出される。特許文献1の技術では、絞り部においてガス流路の断面積が小さいので、生成水の排水速度が低い。本明細書では、ガス流路の一部に断面積が小さい絞り部が設けられた燃料電池において、生成水の排水速度の低下を抑制する。
【課題を解決するための手段】
【0005】
(態様1)
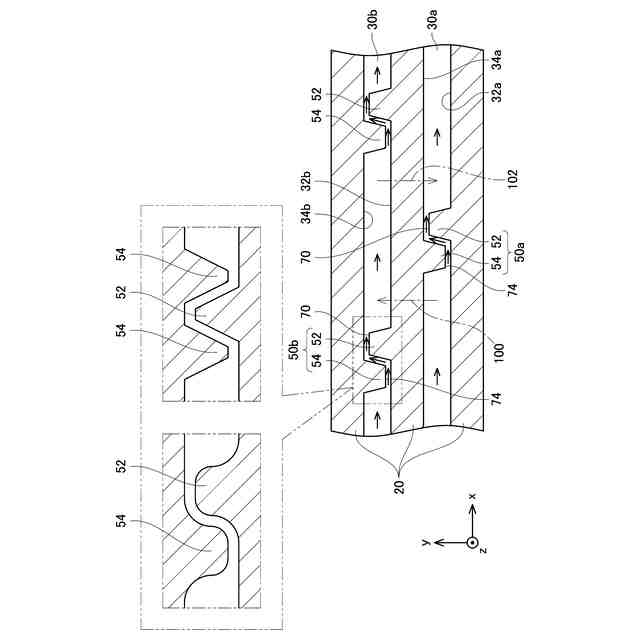
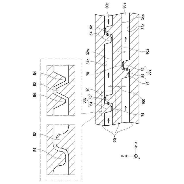
本明細書が開示する燃料電池では、ガス拡散層と、前記ガス拡散層に接し、前記ガス拡散層に接する表面に第1凹部と前記第1凹部に沿って伸びる第2凹部が設けられているセパレータと、前記第1凹部と前記ガス拡散層に囲まれた第1ガス流路と、前記第2凹部と前記ガス拡散層に囲まれた第2ガス流路と、を有し、前記セパレータが、前記第1ガス流路の壁面のうちの第1壁面と、前記第1ガス流路の壁面のうちの前記第1壁面に対向する第2壁面、を有し、前記第1壁面に、第1凸部が設けられており、前記第2壁面に、前記第1凸部よりも下流側に位置する第2凸部が設けられており、前記第1凸部の先端が、前記第2凸部の先端よりも前記第2壁面に近い位置に配置されており、前記第1凸部と前記第2凸部の間の間隔が、前記第1壁面と前記第2壁面の間の間隔よりも狭い。
【0006】
上記の燃料電池では、第1凸部と第2凸部の間において流路が曲がっているので、流路が曲がっていない場合に比べて流路長を長くできる。したがって、第1凸部と第2凸部の間において流路断面積が比較的広くても、ガス流れの抵抗を高くでき、発電効率が上昇する。また、第1凸部と第2凸部の間において流路断面積が比較的広くできるので、生成水の排水速度の低下を抑制できる。
【図面の簡単な説明】
【0007】
燃料電池セルの平面図である。
図1のA-A断面図である。
燃料電池セルの空気ガス流路の平面図である。
【0008】
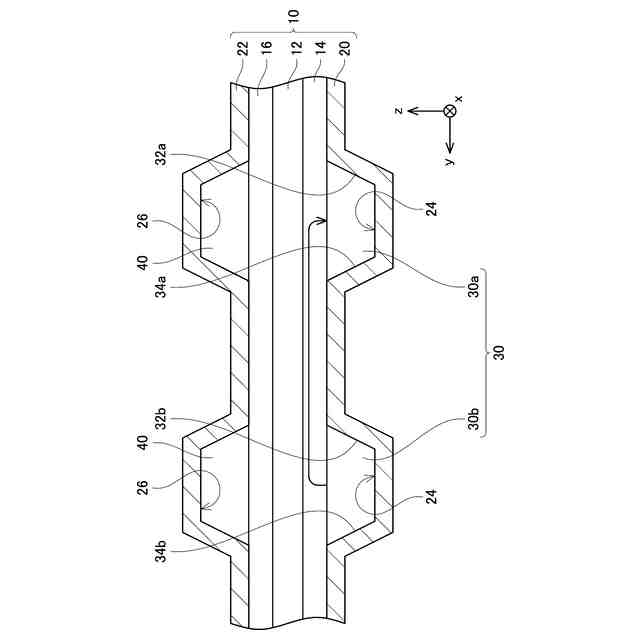
燃料電池は、例えば、燃料電池を電源とする燃料電池車に搭載されている。図1、2に示すように、燃料電池は、板状のセル10を有している。なお、以下では、セル10の厚さ方向をz方向といい、セル10の表面に沿う一方向をx方向といい、セル10の表面に沿うとともにx方向に直交する方向をy方向という。セル10は、膜電極接合体12、ガス拡散層14、16、セパレータ20及びセパレータ22を有している。膜電極接合体12は、水素と酸素を反応させて電力を生成する。膜電極接合体12は、図示しないが、電解質膜を2つの電極層で挟んだ構造を備えている。
【0009】
ガス拡散層14、16は、例えば、炭素繊維により構成されている。ガス拡散層14とガス拡散層16との間に、膜電極接合体12が挟まれている。すなわち、ガス拡散層14は、膜電極接合体12の一方の表面に接している。ガス拡散層16は、膜電極接合体12の他方の表面に接している。
【0010】
セパレータ20、22は、ガス不透過の導電性材料で構成されている。セパレータ20、22の材料としては、例えば、ステンレス鋼などの金属材料や炭素材料を用いることができる。セパレータ20とセパレータ22との間に、膜電極接合体12とガス拡散層14、16が挟まれている。セパレータ20は、ガス拡散層14の表面に接している。セパレータ22は、ガス拡散層16の表面に接している。
(【0011】以降は省略されています)
この特許をJ-PlatPat(特許庁公式サイト)で参照する
関連特許
東ソー株式会社
絶縁電線
27日前
APB株式会社
蓄電セル
25日前
個人
フレキシブル電気化学素子
1か月前
マクセル株式会社
電源装置
19日前
株式会社東芝
端子台
19日前
ローム株式会社
半導体装置
26日前
株式会社ユーシン
操作装置
1か月前
日新イオン機器株式会社
イオン源
1か月前
株式会社GSユアサ
蓄電設備
1か月前
オムロン株式会社
電磁継電器
1か月前
株式会社GSユアサ
蓄電装置
20日前
株式会社GSユアサ
蓄電装置
20日前
三菱電機株式会社
回路遮断器
6日前
太陽誘電株式会社
コイル部品
1か月前
株式会社ホロン
冷陰極電子源
1か月前
株式会社GSユアサ
蓄電装置
12日前
株式会社GSユアサ
蓄電設備
1か月前
日本特殊陶業株式会社
保持装置
28日前
トヨタ自動車株式会社
バッテリ
1か月前
トヨタ自動車株式会社
冷却構造
27日前
日本特殊陶業株式会社
保持装置
11日前
日新イオン機器株式会社
基板処理装置
22日前
トヨタ自動車株式会社
バッテリ
25日前
日東電工株式会社
積層体
1か月前
サクサ株式会社
電池の固定構造
1か月前
ノリタケ株式会社
熱伝導シート
1か月前
北道電設株式会社
配電具カバー
25日前
トヨタ自動車株式会社
蓄電装置
20日前
トヨタ自動車株式会社
蓄電装置
1か月前
日本無線株式会社
レーダアンテナ
13日前
住友電装株式会社
コネクタ
27日前
東レエンジニアリング株式会社
実装装置
1か月前
ベストテック株式会社
装置支持具
1か月前
株式会社レゾナック
冷却器
6日前
甲神電機株式会社
変流器及び零相変流器
13日前
株式会社トクヤマ
シリコンエッチング液
1か月前
続きを見る
他の特許を見る