TOP
|
特許
|
意匠
|
商標
特許ウォッチ
Twitter
他の特許を見る
10個以上の画像は省略されています。
公開番号
2025154732
公報種別
公開特許公報(A)
公開日
2025-10-10
出願番号
2024057902
出願日
2024-03-29
発明の名称
車両構造
出願人
トヨタ自動車株式会社
代理人
弁理士法人太陽国際特許事務所
主分類
B62D
25/18 20060101AFI20251002BHJP(鉄道以外の路面車両)
要約
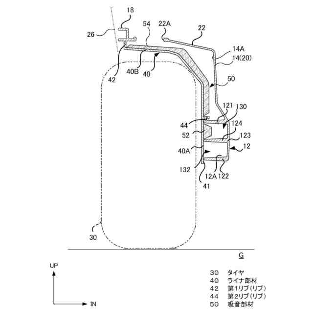
【課題】デッドスペースを有効活用でき、かつ吸音効果を得ることができる車両構造を得る。
【解決手段】車両構造は、ダイキャストにより一体成形され、少なくとも一方向に開口12Aが設けられた開断面形状を有する骨格部材12と、骨格部材12とタイヤ30との間に配設され、骨格部材12の少なくとも一部の開断面の部位とで閉断面又は準閉断面を形成するように骨格部材12に取り付けられたライナ部材40と、閉断面内又は準閉断面内に配設された吸音部材50と、を備える。
【選択図】図3
特許請求の範囲
【請求項1】
ダイキャストにより一体成形され、少なくとも一方向に開口が設けられた開断面形状を有する骨格部材と、
前記骨格部材とタイヤとの間に配設され、前記骨格部材の少なくとも一部の前記開断面の部位とで閉断面又は準閉断面を形成するように前記骨格部材に取り付けられたライナ部材と、
前記閉断面内又は前記準閉断面内に配設された吸音部材と、
を備える車両構造。
続きを表示(約 600 文字)
【請求項2】
前記吸音部材は、前記ライナ部材に取り付けられている請求項1に記載の車両構造。
【請求項3】
前記吸音部材は、前記骨格部材に取り付けられている請求項1に記載の車両構造。
【請求項4】
前記吸音部材は、前記ライナ部材と前記骨格部材の両方に取り付けられている請求項1に記載の車両構造。
【請求項5】
前記吸音部材は、上面視で前記タイヤと重なる位置に配設されている請求項1に記載の車両構造。
【請求項6】
前記骨格部材は、ホイールハウス内において車両前後方向に沿って延在する骨格部である請求項1に記載の車両構造。
【請求項7】
前記骨格部材は、リブによって区画された部屋を車両上下方向に少なくとも2個以上有しており、
前記吸音部材は、2個以上の前記部屋のうち少なくとも車両上下方向の最も上側に位置する部屋を含む上側の部屋に配設されている請求項6に記載の車両構造。
【請求項8】
前記骨格部材は、リブによって区画された部屋を車両上下方向に2個有しており、
前記吸音部材は、車両上下方向の上側に位置する部屋に配設されている請求項7に記載の車両構造。
【請求項9】
前記ライナ部材は、前記吸音部材が取り付けられる側の面にリブを備えている請求項2に記載の車両構造。
発明の詳細な説明
【技術分野】
【0001】
本発明は、車両構造に関する。
続きを表示(約 1,400 文字)
【背景技術】
【0002】
特許文献1には、フェンダーライナーに貫通孔を設け、タイヤと反対側のフェンダーライナーの一面に、当該貫通孔を覆うように膜状又は板状の振動体が振動可能に固着された車両構造が開示されている。特許文献1に記載の車両構造においては、振動体とフェンダーライナーとで囲まれた空気室内で音を共鳴させることにより吸音が行われている。
【先行技術文献】
【特許文献】
【0003】
特開2012-8458号公報
【発明の概要】
【発明が解決しようとする課題】
【0004】
従来の内燃機関による振動及びエンジンノイズがモーターノイズに換わり、高周波の音が支配的になる一方、静粛性の向上によってタイヤからの音がより目立つようになってきている。他方、従来構造ではタイヤの切れ角増加による最小回転半径の低減という商品力が優先され、スペース的に吸音構造に使える空間が限られている。特許文献1に記載の車両構造では、新たに空気室を設けるためのスペースが必要となってしまい、吸音に使用するスペースにおいて改善の余地がある。
【0005】
本発明は係る事情に鑑みてなされたものであり、デッドスペースを有効活用でき、かつ吸音効果を得ることができる車両構造を提供することを目的とする。
【課題を解決するための手段】
【0006】
第1の態様に係る車両構造は、ダイキャストにより一体成形され、少なくとも一方向に開口が設けられた開断面形状を有する骨格部材と、前記骨格部材とタイヤとの間に配設され、前記骨格部材の少なくとも一部の前記開断面の部位とで閉断面又は準閉断面を形成するように前記骨格部材に取り付けられたライナ部材と、前記閉断面内又は前記準閉断面内に配設された吸音部材と、を備える。
【0007】
第1の態様に係る車両構造では、骨格部材とタイヤとの間において、骨格部材にライナ部材が取り付けられた際に、骨格部材の開断面の部位とで形成される閉断面又は準閉断面内に吸音部材が配設されているので、吸音部材を配設するための新たなスペースが不要となる。そのため、骨格部材にライナ部材が取り付けられた際に形成されるデッドスペースを有効活用でき、かつタイヤからのノイズ等を吸音する吸音効果を得ることができる。なお、ここでいう「準閉断面」とは、骨格部材の開断面部位とライナ部材とで閉断面を形成する構造を採った場合に、必ずしも完全な閉断面構造にはなっていなく、一部に隙間や開口等が形成されるものの、全体としては閉断面構造を構成しているものをいう。
【0008】
第2の態様に係る車両構造は、上記第1の態様に記載の構成において、吸音部材は、前記ライナ部材に取り付けられている。
【0009】
第2の態様に係る車両構造では、吸音部材がライナ部材に取り付けられているので、ノイズがタイヤ、ライナ部材、骨格部材の開断面の順に伝播する中で、ライナ部材と骨格部材の開断面とで形成された閉断面又は準閉断面内での共鳴や振動をより早く低減することができる。
【0010】
第3の態様に係る車両構造は、上記第1の態様に記載の構成において、前記吸音部材は、前記骨格部材に取り付けられている。
(【0011】以降は省略されています)
この特許をJ-PlatPat(特許庁公式サイト)で参照する
関連特許
トヨタ自動車株式会社
車体
15日前
トヨタ自動車株式会社
電池
19日前
トヨタ自動車株式会社
方法
14日前
トヨタ自動車株式会社
車両
14日前
トヨタ自動車株式会社
車両
13日前
トヨタ自動車株式会社
方法
13日前
トヨタ自動車株式会社
車両
6日前
トヨタ自動車株式会社
車両
今日
トヨタ自動車株式会社
車両
6日前
トヨタ自動車株式会社
方法
13日前
トヨタ自動車株式会社
車両
12日前
トヨタ自動車株式会社
治具
7日前
トヨタ自動車株式会社
電池
12日前
トヨタ自動車株式会社
方法
12日前
トヨタ自動車株式会社
電池
今日
トヨタ自動車株式会社
車両
19日前
トヨタ自動車株式会社
車両
8日前
トヨタ自動車株式会社
電動機
12日前
トヨタ自動車株式会社
正極層
12日前
トヨタ自動車株式会社
モータ
20日前
トヨタ自動車株式会社
モータ
9日前
トヨタ自動車株式会社
モータ
14日前
トヨタ自動車株式会社
サーバ
9日前
トヨタ自動車株式会社
自動車
13日前
トヨタ自動車株式会社
飛行体
19日前
トヨタ自動車株式会社
充電装置
14日前
トヨタ自動車株式会社
冷却構造
14日前
トヨタ自動車株式会社
蓄電セル
12日前
トヨタ自動車株式会社
燃料電池
14日前
トヨタ自動車株式会社
蓄電セル
12日前
トヨタ自動車株式会社
バッテリ
12日前
トヨタ自動車株式会社
蓄電装置
12日前
トヨタ自動車株式会社
蓄電装置
6日前
トヨタ自動車株式会社
報知装置
14日前
トヨタ自動車株式会社
蓄電セル
12日前
トヨタ自動車株式会社
通知装置
12日前
続きを見る
他の特許を見る