TOP
|
特許
|
意匠
|
商標
特許ウォッチ
Twitter
他の特許を見る
公開番号
2025144818
公報種別
公開特許公報(A)
公開日
2025-10-03
出願番号
2024044678
出願日
2024-03-21
発明の名称
電動車両
出願人
トヨタ自動車株式会社
代理人
個人
主分類
B60K
1/00 20060101AFI20250926BHJP(車両一般)
要約
【課題】衝突荷重によって電力変換器が受けるダメージを抑制し、電力変換器を保護することができる電動車両を提供すること。
【解決手段】電動車両は、車両のフロントコンパートメントに配置された第1ケースに収容された走行用のモータと、車両の前後方向に並ぶフロントブラケット及びリアブラケットによって第1ケースの上に固定された第2ケースに収容され、モータに電力を供給する電力変換器と、車両の後方に向かう衝突荷重を受けた時に、第1ケースに対する第2ケースの前後方向への相対変位を規制する規制部と、を有する。
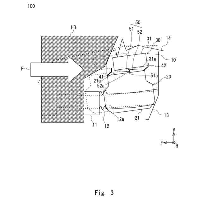
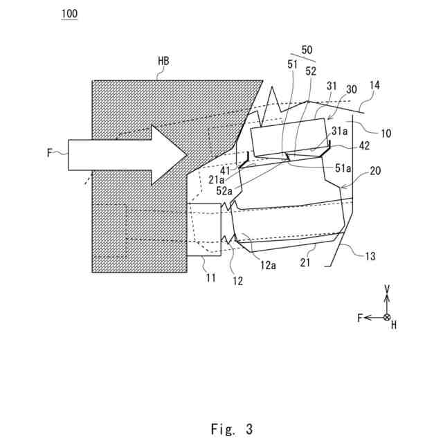
【選択図】図3
特許請求の範囲
【請求項1】
車両のフロントコンパートメントに配置された第1ケースに収容された走行用のモータと、
前記車両の前後方向に並ぶフロントブラケット及びリアブラケットによって前記第1ケースの上に固定された第2ケースに収容され、前記モータに電力を供給する電力変換器と、
前記車両の後方に向かう衝突荷重を受けた時に、前記第1ケースに対する前記第2ケースの前記前後方向への相対変位を規制する規制部と、
を有する電動車両。
続きを表示(約 280 文字)
【請求項2】
前記規制部は、
前記第1ケースの前記第2ケースと対向する上面に前記第2ケース側へ突出するように設けられた第1規制部と、
前記第2ケースの前記第1ケースと対向する下面に前記第1ケース側へ突出するように設けられた第2規制部と、
を有し、
前記衝突荷重を受けた時に、前記第1規制部の接触面に対し前記第2規制部の接触面が接触可能な請求項1に記載の電動車両。
【請求項3】
前記規制部は、
前記衝突荷重を受けた時に、前記第1規制部に対し前記第2規制部が嵌合可能な請求項2に記載の電動車両。
発明の詳細な説明
【技術分野】
【0001】
本開示は電動車両に関し、特にフロントコンパートメントに電力変換器が配置された電動車両に関する。
続きを表示(約 1,500 文字)
【背景技術】
【0002】
電動車両は、電源電力を走行用のモータに適した電力に変換してそのモータに供給する電力変換器を有する。このような電力変換器は、車両の前部に設けられるフロントコンパートメントに配置されることが多い。例えば、特許文献1のように、フロントコンパートメント内において走行用のモータを収容したモータケースの上に電力変換器を固定した技術が知られている。
【0003】
特許文献1には、走行用のモータに電力を供給する電力変換器の搭載構造であり、電力変換器が、フロントコンパートメント内にて、車両前後方向に並んでいるフロントブラケットとリアブラケットによってモータケースの上に固定されており、電力変換器は、モータケースとの間に隙間を有するとともに前下がりとなるように固定されており、リアブラケットは、モータケースとの締結箇所から車両後方へ伸びており、後方にて上方へ屈曲し、上端が電力変換器の後部に連結されており、当該リアブラケットの屈曲部の下方に空間が確保されている記載される電力変換器の搭載構造が開示されている。
【0004】
特許文献1に記載の技術によれば、リアブラケットが屈曲部の下方の空間に移動できるので、前方から障害物が衝突した時に、リアブラケットの変形とともに後下方に移動する電力変換器が移動できる距離が長くなる。このような構造によって、衝突時の衝撃から電力変換器を保護することができることが記載されている。
【先行技術文献】
【特許文献】
【0005】
特開2016-60262号公報
【発明の概要】
【発明が解決しようとする課題】
【0006】
しかしながら、特許文献1に記載の技術では、車両の前面衝突時に、モータケースの上に固定された電力変換器が、車両の後方に向かう衝突荷重(衝撃)を受けて車両の後方へ長い距離を移動し得る。そのため、電力変換器の後部にコネクタ等の高電圧部品が配置されていると、後退した電力変換器が電力変換器の後方に配置されたダッシュパネル等に接触して電力変換器の高電圧部品がダメージを受ける虞があるという問題があった。
【0007】
本開示は、このような問題を解決するためになされたものであり、衝突荷重によって電力変換器が受けるダメージを抑制し、電力変換器を保護することができる電動車両を提供することを目的とするものである。
【課題を解決するための手段】
【0008】
一実施の形態にかかる電動車両は、車両のフロントコンパートメントに配置された第1ケースに収容された走行用のモータと、車両の前後方向に並ぶフロントブラケット及びリアブラケットによって第1ケースの上に固定された第2ケースに収容され、モータに電力を供給する電力変換器と、車両の後方に向かう衝突荷重を受けた時に、第1ケースに対する第2ケースの前後方向への相対変位を規制する規制部と、を有する。
【発明の効果】
【0009】
本開示により、衝突荷重によって電力変換器が受けるダメージを抑制し、電力変換器を保護することができる電動車両を提供することを提供することができる。
【図面の簡単な説明】
【0010】
実施の形態1にかかる車両の前部の構成を示す平面図である。
図1の側面図である。
図1に示す車両が前面衝突した時の車両の前部を示す側面図である。
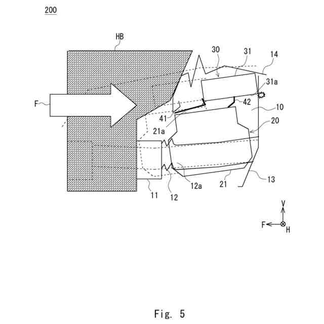
比較例にかかる車両の前部の構成を示す側面図である。
図4に示す車両が前面衝突した時の車両の前部を示す側面図である。
【発明を実施するための形態】
(【0011】以降は省略されています)
この特許をJ-PlatPat(特許庁公式サイト)で参照する
関連特許
トヨタ自動車株式会社
サーバ装置
4日前
トヨタ自動車株式会社
電池パック
4日前
トヨタ自動車株式会社
全固体電池
4日前
トヨタ自動車株式会社
情報処理装置
4日前
トヨタ自動車株式会社
シールド構造
4日前
トヨタ自動車株式会社
電池監視装置
4日前
トヨタ自動車株式会社
車両後部構造
4日前
トヨタ自動車株式会社
情報処理装置
4日前
トヨタ自動車株式会社
車両用シート
4日前
トヨタ自動車株式会社
車両前部構造
4日前
トヨタ自動車株式会社
異常診断装置
4日前
トヨタ自動車株式会社
電力システム
4日前
トヨタ自動車株式会社
リレーユニット
4日前
トヨタ自動車株式会社
ハイブリッド車
4日前
トヨタ自動車株式会社
蓄電モジュール
4日前
トヨタ自動車株式会社
蓄電モジュール
4日前
トヨタ自動車株式会社
車両の制御装置
4日前
トヨタ自動車株式会社
バイポーラ電池
4日前
トヨタ自動車株式会社
車両用制御装置
4日前
トヨタ自動車株式会社
ロボットハンド
4日前
トヨタ自動車株式会社
車両の制御装置
4日前
トヨタ自動車株式会社
ハイブリッド車
4日前
トヨタ自動車株式会社
蓄電量推定装置
4日前
トヨタ自動車株式会社
車両照合システム
4日前
トヨタ自動車株式会社
内燃機関の制御装置
4日前
トヨタ自動車株式会社
ダイキャストマシン
4日前
トヨタ自動車株式会社
水素エンジンの制御装置
4日前
トヨタ自動車株式会社
蓄電システムの制御装置
4日前
トヨタ自動車株式会社
飛行体の輸送時の配置方法
4日前
トヨタ自動車株式会社
サーバ装置及びプログラム
4日前
トヨタ自動車株式会社
プログラム及び情報処理装置
4日前
トヨタ自動車株式会社
積層電極体および蓄電モジュール
4日前
株式会社デンソー
圧電デバイス
4日前
トヨタ自動車株式会社
積層電極体および蓄電モジュール
4日前
トヨタ自動車株式会社
航路計画生成システム及び発電浮体
4日前
トヨタ自動車株式会社
移動体および遠隔サポートシステム
4日前
続きを見る
他の特許を見る