TOP
|
特許
|
意匠
|
商標
特許ウォッチ
Twitter
他の特許を見る
公開番号
2025148798
公報種別
公開特許公報(A)
公開日
2025-10-08
出願番号
2024049100
出願日
2024-03-26
発明の名称
ケース
出願人
トヨタ自動車株式会社
代理人
弁理士法人 快友国際特許事務所
主分類
H05K
5/03 20060101AFI20251001BHJP(他に分類されない電気技術)
要約
【課題】 ピンの破損を抑制しながら容易に開くことが可能なケースを提案する。
【解決手段】 ケースであって、開口を有する箱体と、前記箱体の前記開口を塞いでおり、前記箱体に対して接着剤により接着されている蓋、を有する。前記箱体と前記蓋の境界に、前記境界のうちの第1辺に設けられた第1切欠部と、前記境界のうちの前記第1辺に対向する第2辺に設けられた第2切欠部が設けられている。前記蓋が、第1孔と第2孔を有する。前記箱体が、前記第1孔に挿通されている第1ピンと、前記第2孔に挿通されている第2ピンを有する。前記第1ピンが前記第2ピンよりも前記第1切欠部に近い位置に配置されている。前記第2ピンが前記第1ピンよりも前記第2切欠部に近い位置に配置されている。前記第2ピンと前記第2孔の間の隙間が、前記第1ピンと前記第1孔の間の隙間よりも大きい。
【選択図】図2
特許請求の範囲
【請求項1】
ケースであって、
開口を有する箱体と、
前記箱体の前記開口を塞いでおり、前記箱体に対して接着剤により接着されている蓋、
を有し、
前記箱体と前記蓋の境界に、前記境界のうちの第1辺に設けられた第1切欠部と、前記境界のうちの前記第1辺に対向する第2辺に設けられた第2切欠部が設けられており、
前記蓋が、第1孔と第2孔を有し、
前記箱体が、前記第1孔に挿通されている第1ピンと、前記第2孔に挿通されている第2ピンを有し、
前記第1ピンが前記第2ピンよりも前記第1切欠部に近い位置に配置されており、
前記第2ピンが前記第1ピンよりも前記第2切欠部に近い位置に配置されており、
前記第2ピンと前記第2孔の間の隙間が、前記第1ピンと前記第1孔の間の隙間よりも大きい、ケース。
発明の詳細な説明
【技術分野】
【0001】
本明細書に開示の技術は、ケースに関する。
続きを表示(約 2,200 文字)
【0002】
特許文献1には、接着剤によって蓋が箱体に接着された構造を有するケースが開示されている。
【先行技術文献】
【特許文献】
【0003】
特開2001-245394号公報
【発明の概要】
【発明が解決しようとする課題】
【0004】
接着剤によって蓋が箱体に接着された構造は、さまざまなケースにおいて採用されている。例えば、電子部品を収容したケースが車両に搭載される場合がある。車載用のケースでは、接着剤によって蓋を箱体に接着することで、ケースを密閉し、内部の部品を衝撃や塩害から保護することができる。この種のケースにおいて、修理やメンテナンスのためにケースを開く必要が生じる場合がある。例えば、車載用のケースでは、ケース内の部品が不調となった場合に、ケースを含むモジュール単位で部品交換を行うと費用が高くなる。このため、車載用のケースでは、ケースを開いて内部の部品を交換する場合がある。
【0005】
この種のケースでは、箱体に位置決め用のピンが設けられている場合がある。位置決め用のピンは、蓋に設けられた孔に挿通されている。ピンを孔に挿通することで、蓋を箱体に対して位置決めすることができる。このように、位置決め用のピンを有するケースにおいては、ケースを開くときに蓋がピンと干渉してピンが破損する場合がある。本明細書では、ピンの破損を抑制しながら容易に開くことが可能なケースを提案する。
【課題を解決するための手段】
【0006】
本明細書が開示するケースは、開口を有する箱体と、前記箱体の前記開口を塞いでいるとともに前記箱体に対して接着剤により接着されている蓋、を有する。前記箱体と前記蓋の境界に、前記境界のうちの第1辺に設けられた第1切欠部と、前記境界のうちの前記第1辺に対向する第2辺に設けられた第2切欠部が設けられている。前記蓋が、第1孔と第2孔を有する。前記箱体が、前記第1孔に挿通されている第1ピンと、前記第2孔に挿通されている第2ピンを有する。前記第1ピンが前記第2ピンよりも前記第1切欠部に近い位置に配置されている。前記第2ピンが前記第1ピンよりも前記第2切欠部に近い位置に配置されている。前記第2ピンと前記第2孔の間の隙間が、前記第1ピンと前記第1孔の間の隙間よりも大きい。
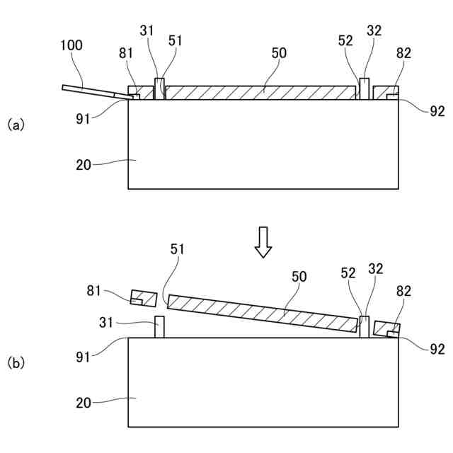
【0007】
このケースを開く場合には、まず、第1切欠部に工具を挿入して、第1辺の側から蓋をケースから引き離す。このとき、第2辺を支点として蓋がケースに対して傾斜する。このように蓋がケースに対して傾斜すると、第1孔は第1ピンから離脱する一方で、第2孔は第2ピンから離脱しない。このため、蓋の傾斜によって第2孔と第2ピンの間の間隔が狭くなる。しかしながら、蓋を開く前の状態において第2ピンと第2孔の間の隙間が大きいので、第2孔と第2ピンの干渉が防止される。その後、第2切欠部に工具を挿入して、第2辺の側から蓋をケースから引き離す。これにより、蓋をケースから分離させることができる。すなわち、ケースを開くことができる。このように、このケースでは、第1切欠部側から蓋をケースから引き離し、その後、第2切欠部側から蓋をケースから引き離すことで、ピンの破損を抑制しながらケースを容易に開くことができる。
【図面の簡単な説明】
【0008】
ケースの斜視図。
ケースを開く工程の説明図。
ケースを開く工程の説明図。
【発明を実施するための形態】
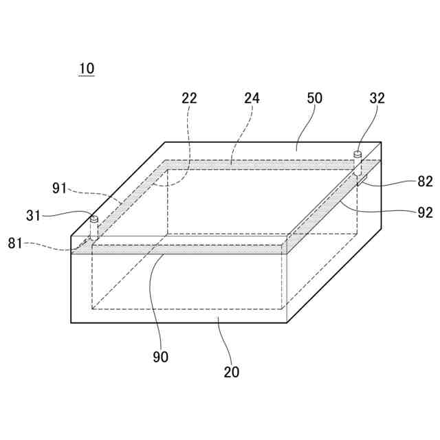
【0009】
図1に示す実施形態のケース10は、車両に搭載されている。図示していないが、ケース10の内部には、電子回路(例えば、車両制御用の回路)が配置されている。ケース10は、箱体20と蓋50を有している。箱体20は、上部に開口22を有する容器であり、ほぼ直方体の形状を有している。蓋50は、箱体20の上部に配置されており、開口22を塞いでいる。蓋50は、図示しないネジによって箱体20に固定されている。箱体20の上端には、開口22の周囲に沿って伸びる外周縁部24が設けられている。外周縁部24は、開口22の周囲を環状に取り囲んでいる。図1において、ハッチングされた領域は、接着剤(例えば、FIPG: Formed In Place Gasket)を示している。外周縁部24には、その全周に亘って接着剤が設けられている。蓋50は、接着剤によって箱体20に接着されている。接着剤によって、蓋50と箱体20の界面がシールされている。このため、ケース10は密閉されている。
【0010】
ケース10の側面には、箱体20と蓋50の境界90が現れている。境界90は、ケース10の形状に沿った四角形の形状を有している。境界90のうちの第1辺91には、第1切欠部81が設けられている。境界90のうちの第1辺91に対向する第2辺92には、第2切欠部82が設けられている。なお、図1では第2切欠部82が第1切欠部81に対して対角の位置に配置されているが、第2辺92上であれば第2切欠部82はどこに配置されていてもよい。図2、3に示すように、第1切欠81部及び第2切欠部82は、工具を挿入可能な凹部である。
(【0011】以降は省略されています)
この特許をJ-PlatPat(特許庁公式サイト)で参照する
関連特許
日星電気株式会社
面状ヒータ
23日前
株式会社デンソー
電子装置
9日前
日産自動車株式会社
電子機器
17日前
日本精機株式会社
車両表示装置用回路基板
2日前
TDK株式会社
接合構造
9日前
豊田合成株式会社
制御ユニット
9日前
株式会社羽野製作所
プリント配線板
17日前
象印マホービン株式会社
電磁調理器
4日前
象印マホービン株式会社
電磁調理器
4日前
象印マホービン株式会社
電磁調理器
4日前
象印マホービン株式会社
電磁調理器
4日前
株式会社SUBARU
電波吸収体の製造方法
23日前
株式会社指月電機製作所
ケース、コンデンサ
2日前
三菱電機株式会社
電気機器
17日前
日本特殊陶業株式会社
加熱装置
2日前
株式会社FUJI
テープガイド
23日前
東京エレクトロン株式会社
プラズマ処理装置及び整合器
2日前
信越ポリマー株式会社
配線基板及びその製造方法
17日前
矢崎総業株式会社
接続回路及びその製造方法
10日前
株式会社ミクニ
制御回路ユニット
17日前
FICT株式会社
多層基板
9日前
株式会社ミクニ
制御回路ユニット
17日前
株式会社TMEIC
電気機器の冷却構造
1か月前
株式会社ミクニ
制御回路ユニット
17日前
日東電工株式会社
ヒータモジュール、およびロボット
10日前
メクテック株式会社
電装品及び補強板
2日前
イビデン株式会社
電子部品内蔵基板
1か月前
リウ チョー アン
縁石用電子装置
2日前
日東電工株式会社
フレキシブル多層回路基板
17日前
ヤマハ発動機株式会社
ノズル収容構造体および部品実装機
17日前
イビデン株式会社
配線基板の製造方法
23日前
ヤマハ発動機株式会社
ワーク搭載装置
1か月前
ニッタン株式会社
バックボード接続構造
1か月前
スタンレー電気株式会社
制御装置、照明装置及び車両用灯具
2日前
株式会社TISM
回路基板及び電子基板
9日前
三菱電機株式会社
冷却構造および電子機器
9日前
続きを見る
他の特許を見る