TOP
|
特許
|
意匠
|
商標
特許ウォッチ
Twitter
他の特許を見る
公開番号
2025152101
公報種別
公開特許公報(A)
公開日
2025-10-09
出願番号
2024053841
出願日
2024-03-28
発明の名称
固定子
出願人
トヨタ自動車株式会社
代理人
個人
主分類
H02K
3/04 20060101AFI20251002BHJP(電力の発電,変換,配電)
要約
【課題】リード部分と変形ブレードとの干渉を抑制する固定子を提供する。
【解決手段】本開示に係る固定子500は、固定子コア400に設けられたスロットに挿入されると共に固定子コア400の端面410からリード部分100が突出するコイル200を備え、コイル200は、コイル200間に差し込まれる変形ブレード300によって変形加工され、リード部分100は、先端に設けられた面取り部分110にR形状120を有する。
【選択図】図2
特許請求の範囲
【請求項1】
固定子コアに設けられたスロットに挿入されると共に前記固定子コアの端面からリード部分が突出するコイルを備える固定子であって、
前記コイルは、コイル間に差し込まれる変形ブレードによって変形加工され、
前記リード部分は、先端に設けられた面取り部分にR形状を有する、
固定子。
発明の詳細な説明
【技術分野】
【0001】
本開示は、固定子に関する。
続きを表示(約 1,200 文字)
【背景技術】
【0002】
コイル間に変形ブレードを差し込んで変形させる固定子が知られている。
例えば、特許文献1には、コイル先端のリード部から変形ブレードを差し込む固定子が開示されている。
【先行技術文献】
【特許文献】
【0003】
特開2013-121296号公報
【発明の概要】
【発明が解決しようとする課題】
【0004】
発明者らは、固定子に関し、以下の課題を見出した。
変形ブレードを差し込みやすくするために、コイルのリード部分に面取り加工を行うことがある。しかしながら、面取り部分とその他の部分との境界において変形ブレードから受ける応力が大きくなり、リード部分と変形ブレードとが干渉する虞があった。
【0005】
本開示は、このような課題に鑑みなされたものであり、リード部分と変形ブレードとの干渉を抑制する固定子を提供することを目的とする。
【課題を解決するための手段】
【0006】
上記目的を達成するための一態様は、
固定子コアに設けられたスロットに挿入されると共に前記固定子コアの端面からリード部分が突出するコイルを備える固定子であって、
前記コイルは、コイル間に差し込まれる変形ブレードによって変形加工され、
前記リード部分は、先端に設けられた面取り部分にR形状を有する。
【発明の効果】
【0007】
本開示によれば、リード部分と変形ブレードとの干渉を抑制する固定子を提供することができる。
【図面の簡単な説明】
【0008】
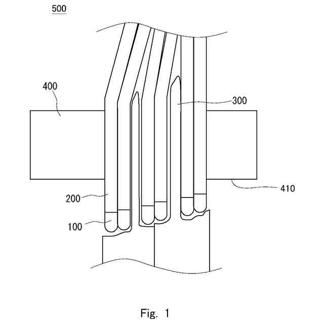
実施の形態に係る固定子の構成を示す模式図である。
リード部分の拡大模式図である。
【発明を実施するための形態】
【0009】
以下では、本開示の実施の形態について、図面を参照しながら詳細に説明する。各図面において、同一又は対応する要素には同一の符号が付されており、説明の明確化のため、必要に応じて重複説明は省略される。また、理解の容易のため、図面における各部の縮尺は、実際とは異なる場合がある。
【0010】
図1は、実施の形態に係る固定子500の構成例を示す模式図である。固定子500は、コイル200と、変形ブレード300と、固定子コア400と、を備える。固定子500は、自動車駆動用モーターに好適である。コイル200は、U字状のセグメントコイルであり、固定子コア400に設けられたスロットに複数挿入される。変形ブレード300は、コイル200間に挿入され、コイル200を変形させる部材である。固定子500の詳細な構成については、特開2013-121296号公報を参照してもよい。
(【0011】以降は省略されています)
この特許をJ-PlatPat(特許庁公式サイト)で参照する
関連特許
トヨタ自動車株式会社
電池
3日前
トヨタ自動車株式会社
電池
4日前
トヨタ自動車株式会社
車両
1日前
トヨタ自動車株式会社
車両
2日前
トヨタ自動車株式会社
ケース
3日前
トヨタ自動車株式会社
固定子
2日前
トヨタ自動車株式会社
電動車
4日前
トヨタ自動車株式会社
電動車
8日前
トヨタ自動車株式会社
加熱器
1日前
トヨタ自動車株式会社
電動車
8日前
トヨタ自動車株式会社
電動車
8日前
トヨタ自動車株式会社
二次電池
2日前
トヨタ自動車株式会社
制御装置
3日前
トヨタ自動車株式会社
製造装置
2日前
トヨタ自動車株式会社
監視装置
2日前
トヨタ自動車株式会社
バッテリ
2日前
トヨタ自動車株式会社
バッテリ
2日前
トヨタ自動車株式会社
蓄電装置
3日前
トヨタ自動車株式会社
塗工装置
2日前
トヨタ自動車株式会社
ロボット
4日前
トヨタ自動車株式会社
蓄電装置
1日前
トヨタ自動車株式会社
路側装置
3日前
トヨタ自動車株式会社
車両構造
1日前
トヨタ自動車株式会社
車載装置
1日前
トヨタ自動車株式会社
制御装置
1日前
トヨタ自動車株式会社
通話装置
1日前
トヨタ自動車株式会社
電池パック
4日前
トヨタ自動車株式会社
シフト機構
8日前
トヨタ自動車株式会社
ガスタンク
1日前
トヨタ自動車株式会社
三角表示板
1日前
トヨタ自動車株式会社
電池パック
4日前
トヨタ自動車株式会社
電池交換装置
2日前
トヨタ自動車株式会社
車両前部構造
2日前
トヨタ自動車株式会社
制御システム
1日前
トヨタ自動車株式会社
情報処理装置
8日前
トヨタ自動車株式会社
被膜形成装置
2日前
続きを見る
他の特許を見る