TOP
|
特許
|
意匠
|
商標
特許ウォッチ
Twitter
他の特許を見る
公開番号
2025162029
公報種別
公開特許公報(A)
公開日
2025-10-27
出願番号
2024065117
出願日
2024-04-15
発明の名称
固体電池
出願人
トヨタ自動車株式会社
代理人
個人
,
個人
,
個人
主分類
H01M
10/0585 20100101AFI20251020BHJP(基本的電気素子)
要約
【課題】電池の体積に対する絶縁体が占める体積を低く抑えて体積効率を高めることができる固体電池を提供する。
【解決手段】正極集電体、正極活物質層、電解質層、負極活物質層、及び負極集電体、を積層した電極積層体を有する固体電池であって、電極積層体の端面に粒状の付着物を有し、付着物を含む電極積層体の端面に絶縁層が積層されている。
【選択図】図3
特許請求の範囲
【請求項1】
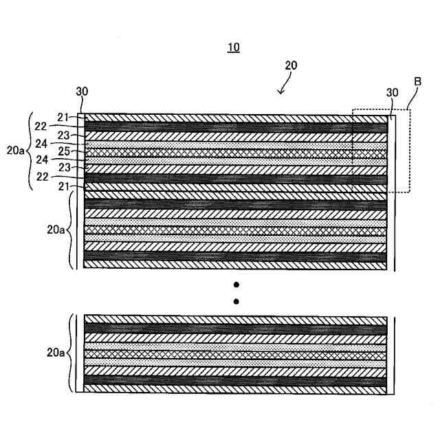
正極集電体、正極活物質層、電解質層、負極活物質層、及び負極集電体、を積層した電極積層体を有する固体電池であって、
前記電極積層体の端面に粒状の付着物を有し、前記付着物を含む前記電極積層体の端面に絶縁層が積層されている、
固体電池。
続きを表示(約 400 文字)
【請求項2】
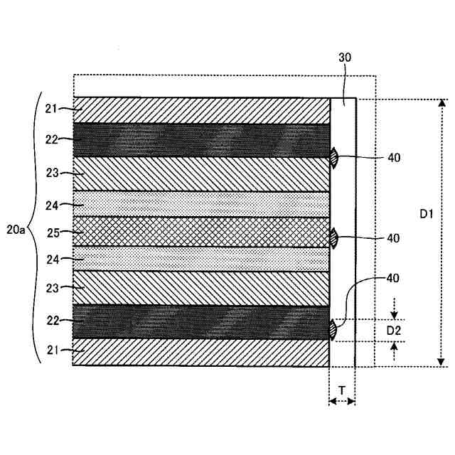
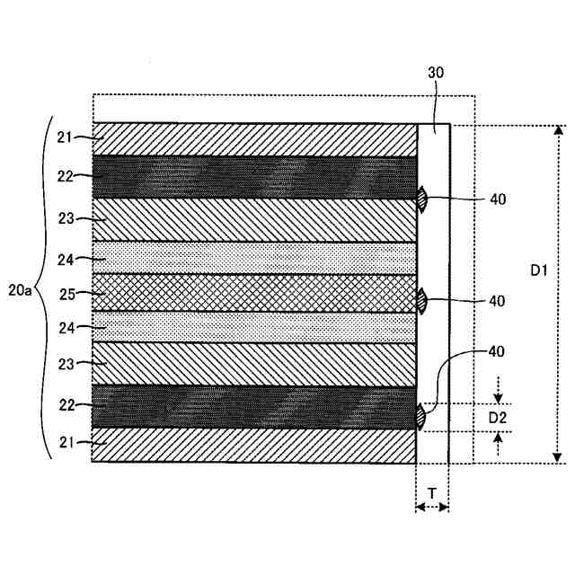
前記電極積層体において、前記正極集電体、前記正極活物質層、前記電解質層、前記負極活物質層、前記負極集電体、前記負極活物質層、前記電解質層、前記正極活物質層、及び、前記正極集電体をこの順に有する積層体を単位積層体とし、
前記単位積層体の厚みをD1(mm)、前記付着物の大きさのうち前記単位積層体の積層方向の大きさをD2(mm)としたとき、D2/D1が0.112よりも小さい、請求項1に記載の固体電池。
【請求項3】
前記付着物は、前記正極活物質層、前記負極活物質層、及び、前記電解質層の少なくとも1つに起因する粒状物であり、前記付着物の大きさのうち前記電極積層体の積層方向の大きさが15μm未満である、請求項1に記載の固体電池。
【請求項4】
前記絶縁層の厚みは、0.1μm~15μmである、請求項1~3のいずれかに記載の固体電池。
発明の詳細な説明
【技術分野】
【0001】
本発明は固体電池に関する。
続きを表示(約 1,200 文字)
【背景技術】
【0002】
特許文献1には、電極積層体の側面を絶縁性フィルムで被覆した全固体電池が開示されている。絶縁性フィルムは、積層体の積層方向の端面よりも延出している延長部を、電極積層体の端面に向かって折り曲げて配置されている。
特許文献2には、積層体の側部に絶縁体が配置されることが開示されている。
【先行技術文献】
【特許文献】
【0003】
特開2020-13729号公報
特開2015-162353号公報
【発明の概要】
【発明が解決しようとする課題】
【0004】
特許文献1に記載の全固体電池では絶縁性フィルムの密着性を確保するために、折り曲げて被覆しているため、絶縁性フィルムが占める体積がその分大きくなり体積効率(電池全体の体積に占める絶縁フィルム(絶縁体)が占める体積の比率が小さい方が体積効率が高い。)が低下するという問題がある。
また特許文献2では絶縁体が厚く形成されており、やはり絶縁体が占める体積が大きくなり体積効率が低下する問題がある。
【0005】
本開示は上記問題に鑑み、電池の体積に対する絶縁体が占める体積を低く抑えて体積効率を高めることができる固体電池を提供することを目的とする。
【課題を解決するための手段】
【0006】
発明者は、絶縁体(絶縁層)を電極積層体の端面に配置する構造において、絶縁層と電極積層体との密着性を高めることで折り曲げるための部分を不要としたり、絶縁層を薄くしたりすることができ、体積効率を高めることが可能であるとの知見を得た。そしてより具体的に電極積層体と絶縁層との間に微小な粒状の付着物を介することで両者の密着性が向上することを得て本発明を完成させた。
【0007】
本願は、正極集電体、正極活物質層、電解質層、負極活物質層、及び負極集電体、を積層した電極積層体を有する固体電池であって、電極積層体の端面に粒状の付着物を有し、付着物を含む電極積層体の端面に絶縁層が積層されている、固体電池を開示する。
【0008】
電極積層体において、正極集電体、正極活物質層、電解質層、負極活物質層、負極集電体、負極活物質層、電解質層、正極活物質層、及び、正極集電体をこの順に有する積層体を単位積層体とし、単位電極積層体の厚みをD1(mm)、付着物の大きさのうち単位電極積層体の積層方向の大きさをD2(mm)としたとき、D2/D1が0.112よりも小さくなるように構成してもよい。
【0009】
付着物は、正極活物質層、負極活物質層、及び、電解質層の少なくとも1つに起因する粒状物であり、付着物の大きさのうち電極積層体の積層方向の大きさが15μm未満としてもよい。
【0010】
絶縁層の厚みは、0.1μm~15μmとしてもよい。
【発明の効果】
(【0011】以降は省略されています)
この特許をJ-PlatPat(特許庁公式サイト)で参照する
関連特許
APB株式会社
蓄電セル
1か月前
東ソー株式会社
絶縁電線
1か月前
個人
フレキシブル電気化学素子
1か月前
株式会社東芝
端子台
24日前
マクセル株式会社
電源装置
24日前
日新イオン機器株式会社
イオン源
1か月前
株式会社ユーシン
操作装置
1か月前
ローム株式会社
半導体装置
1か月前
株式会社GSユアサ
蓄電装置
25日前
株式会社GSユアサ
蓄電装置
3日前
株式会社GSユアサ
蓄電装置
17日前
株式会社GSユアサ
蓄電設備
1か月前
株式会社ホロン
冷陰極電子源
1か月前
株式会社GSユアサ
蓄電設備
1か月前
三菱電機株式会社
回路遮断器
11日前
オムロン株式会社
電磁継電器
1か月前
富士電機株式会社
電磁接触器
3日前
太陽誘電株式会社
コイル部品
1か月前
株式会社GSユアサ
蓄電装置
25日前
北道電設株式会社
配電具カバー
1か月前
トヨタ自動車株式会社
バッテリ
1か月前
日本特殊陶業株式会社
保持装置
16日前
トヨタ自動車株式会社
蓄電装置
1か月前
トヨタ自動車株式会社
冷却構造
1か月前
日新イオン機器株式会社
基板処理装置
27日前
日東電工株式会社
積層体
1か月前
日本特殊陶業株式会社
保持装置
1か月前
ノリタケ株式会社
熱伝導シート
1か月前
トヨタ自動車株式会社
バッテリ
1か月前
トヨタ自動車株式会社
蓄電装置
25日前
サクサ株式会社
電池の固定構造
1か月前
株式会社トクヤマ
シリコンエッチング液
1か月前
矢崎総業株式会社
コネクタ
3日前
東レエンジニアリング株式会社
実装装置
1か月前
株式会社トクヤマ
シリコンエッチング液
1か月前
住友電装株式会社
コネクタ
1か月前
続きを見る
他の特許を見る