TOP
|
特許
|
意匠
|
商標
特許ウォッチ
Twitter
他の特許を見る
10個以上の画像は省略されています。
公開番号
2025149168
公報種別
公開特許公報(A)
公開日
2025-10-08
出願番号
2024049645
出願日
2024-03-26
発明の名称
荷積込装置
出願人
NTN株式会社
代理人
個人
,
個人
主分類
B65G
57/10 20060101AFI20251001BHJP(運搬;包装;貯蔵;薄板状または線条材料の取扱い)
要約
【課題】コンパクトでありながら、荷の積込処理能力に優れた荷積込装置を実現する。
【解決手段】前進位置と後退位置の二位置間を移動可能な荷支持部20を有する整列台4と、前進位置に位置する荷支持部20の直下で荷役台としてのパレットPを昇降可能に水平支持するパレット台2とを備え、荷支持部20が前進位置から後退位置に移動するのに伴って荷支持部20上に載置された複数の荷BがパレットPに順次積み込まれる荷積込装置1である。荷支持部20は、その移動方向に沿って間隔を空けて並列配置された複数のフリーローラ23の協働により形成される。荷支持部20が前進位置から後退位置に移動するのに伴って隣り合う2つのローラ23の中心間距離がWa→Wbとなるように徐々に減少すると共に、荷支持部20が後退位置から前進位置に移動するのに伴って隣り合う2つのローラ23の中心間距離がWb→Waとなるように徐々に拡大する。
【選択図】図2
特許請求の範囲
【請求項1】
前進位置と後退位置の二位置間を移動可能な荷支持部を有する整列台と、前進位置に位置する前記荷支持部の直下で荷役台を昇降可能に水平支持する荷役台支持部と、を備え、前記荷支持部が前進位置から後退位置に移動するのに伴って前記荷役台の上方空間内での前記荷支持部の占有面積が徐々に減少することにより、前記荷支持部上に載置された複数の荷が前記荷役台に順次積み込まれる荷積込装置であって、
前記荷支持部は、その移動方向に沿って間隔を空けて並列配置された複数の荷支持部形成部材の協働により形成され、
前記荷支持部が前進位置から後退位置に移動するのに伴って隣り合う2つの荷支持部形成部材の中心間距離が徐々に減少すると共に、前記荷支持部が後退位置から前進位置に移動するのに伴って隣り合う2つの荷支持部形成部材の中心間距離が徐々に拡大することを特徴とする荷積込装置。
続きを表示(約 330 文字)
【請求項2】
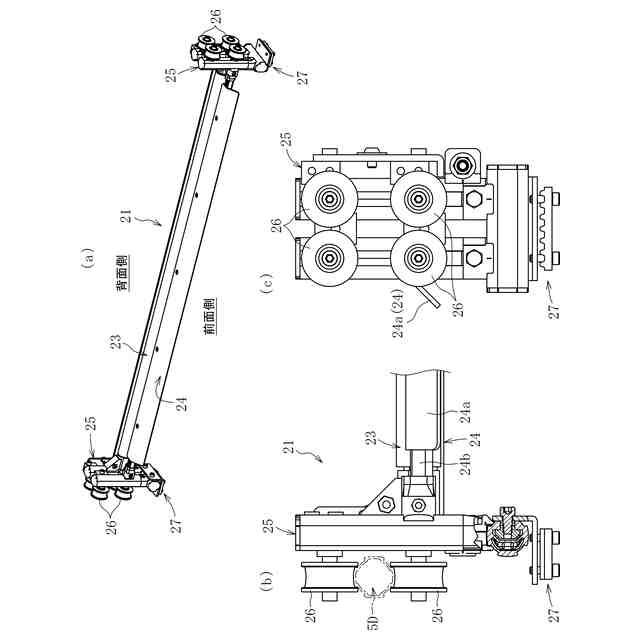
前記荷支持部形成部材が、前記荷支持部の移動方向と直交する水平軸回りに回転可能なフリーローラからなる請求項1に記載の荷積込装置。
【請求項3】
前記荷支持部は、前記荷役台に積み込まれる荷を前記荷役台に向けて滑落させるスロープ部材を有する請求項1に記載の荷積込装置。
【請求項4】
前記整列台は、前記荷支持部上の任意位置で荷を位置決めするためのガイド部材を有する請求項1に記載の荷積込装置。
【請求項5】
複数の荷支持部形成部材のうち最も前記荷支持部への荷投入口側に配置された荷支持部形成部材のみに前記荷支持部を前記二位置間で移動させるための移動力が入力される請求項1に記載の荷積込装置。
発明の詳細な説明
【技術分野】
【0001】
本発明は、複数の荷を整列状態でパレット等の荷役台に積み込むことができる荷積込装置に関する。
続きを表示(約 2,300 文字)
【背景技術】
【0002】
例えば下記の特許文献1には、前進位置及び後退位置の二位置間を移動可能な移動テーブルと、前進位置に位置する移動テーブルの直下でパレット等の荷役台を昇降可能に水平支持する荷役台支持部と、を備えた荷積込装置が記載されている。係る構成の荷積込装置では、前進位置にて複数の荷を整列状態で載置した移動テーブルが後退位置に移動するのに伴って荷役台の上方空間内での移動テーブルの占有面積が徐々に減少することにより、移動テーブル上に載置されていた複数の荷が順次荷役台に積み込まれる。また、上記の荷積込装置では、上記した複数の荷の整列作業及び積込作業を1セット実行する毎に、荷役台支持部による荷役台の支持高さを低位にシフトさせると、荷役台上に荷を段積みすることが可能となる。
【0003】
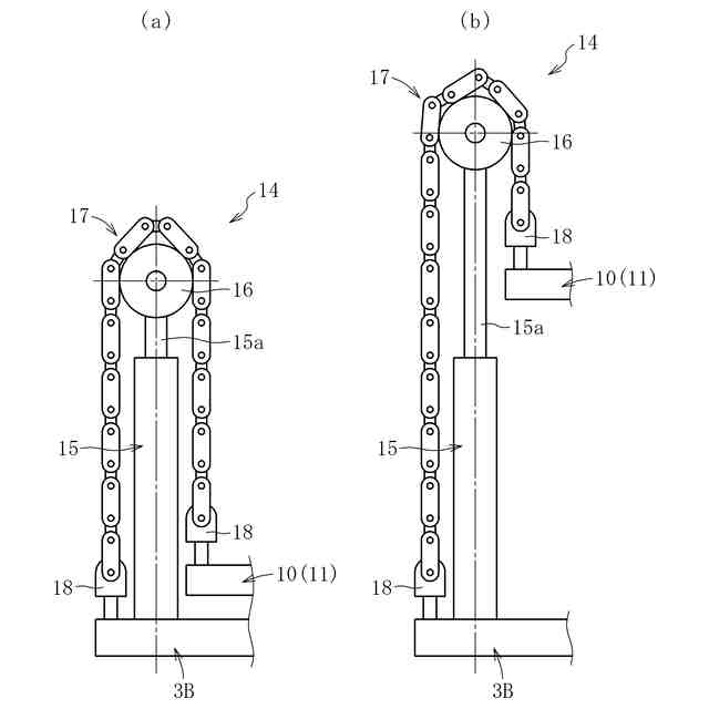
特許文献1の荷積込装置において、移動テーブルは、その移動方向に沿って並列配置された複数の金属スラットを屈曲自在に連結したもので構成される。この移動テーブルの幅方向両端部(金属スラットの長手方向両端部)は移動テーブルの移動方向に沿って設けられた案内レールに支持され、移動テーブルの幅方向端部は案内レールに沿って張られたテーブル駆動用のチェーンに連結されている。案内レール(及びチェーン)は、例えば、荷役台の上方に水平姿勢で配された水平部と、荷役台の後方あるいは側方に略垂直姿勢で配された垂直部とを有する。
【0004】
この場合、移動テーブルが案内レールの水平部に支持される位置においては移動テーブルが水平姿勢となることから移動テーブル上に荷を整列状態で支持することが可能であり、移動テーブル(の大半)が案内レールの垂直部に支持される位置においては移動テーブルが略垂直姿勢になることから移動テーブルで荷を支持することができない。このため、移動テーブルが案内レールの水平部に支持される位置が上記の前進位置に相当し、移動テーブル(の大半)が案内レールの垂直部に支持される位置が上記の後退位置に相当する。
【先行技術文献】
【特許文献】
【0005】
特開平7-232827号公報
【発明の概要】
【発明が解決しようとする課題】
【0006】
特許文献1の荷積込装置では、移動テーブルの移動方向における移動テーブルの全長が変化しない。この場合、移動テーブルを後退位置に位置させるには大きなスペースが必要になることから、荷積込装置が全体として大掛かりになるという課題がある。例えば、金属スラットの連結数を減少するなどして移動テーブルの全長を短縮すれば、移動テーブルを後退位置に位置させるのに必要となるスペースも小さくすることができるが、特許文献1の移動テーブルの構成上、移動テーブルの全長を短縮すると、荷役台の全長もそれに応じて短縮等する必要があるため、荷の積込量(積込処理能力)が低下してしまう。
【0007】
かかる実情に鑑み、本発明は、コンパクトでありながら、荷の積込処理能力に優れた荷積込装置を実現することを目的とする。
【課題を解決するための手段】
【0008】
上記の目的を達成するために創案された本発明は、
前進位置と後退位置の二位置間を移動可能な荷支持部を有する整列台と、前進位置に位置する荷支持部の直下で荷役台を昇降可能に水平支持する荷役台支持部と、を備え、荷支持部が前進位置から後退位置に移動するのに伴って荷役台の上方空間内での荷支持部の占有面積が徐々に減少することにより、荷支持部上に載置された複数の荷が荷役台に順次積み込まれる荷積込装置であって、
荷支持部は、その移動方向に沿って間隔を空けて並列配置された複数の荷支持部形成部材の協働により形成され、
荷支持部が前進位置から後退位置に移動するのに伴って隣り合う2つの荷支持部形成部材の中心間距離が徐々に減少すると共に、荷支持部が後退位置から前進位置に移動するのに伴って隣り合う2つの荷支持部形成部材の中心間距離が徐々に拡大することを特徴とする。
【0009】
上記の構成を有する本発明に係る荷積込装置では、荷支持部が、荷支持部の移動方向に沿って並列配置された複数の荷支持部形成部材の協働により形成され、荷支持部が後退位置に位置しているときには、前進位置に位置しているときよりも隣り合う2つの荷支持部形成部材の中心間距離(隣り合う2つの荷支持部形成部材間の間隔)が小さくなる。要するに、本発明に係る荷積込装置では整列台を構成する荷支持部の移動方向における全長が可変とされ、荷支持部の全長は、前進位置に位置しているときよりも後退位置に位置しているときの方が短くなる。これにより、前進位置に位置しているときの荷支持部の全長(荷支持部における荷の支持可能量。換言すると、荷役台に対する荷の積込可能量。)を減少させることなく、荷支持部を後退位置に位置させる際に必要なスペースを小さくすることができる。よって、コンパクトでありながら、荷役台に対する荷の積込処理能力に優れた荷積込装置を実現することができる。
【0010】
荷支持部形成部材は、荷支持部の移動方向と直交する水平軸回りに回転可能なフリーローラで構成することができる。この場合、荷支持部と荷とを荷支持部の移動方向で滑らかに相対移動させることができる。これにより、荷支持部上で複数の荷を整列させる整列作業、さらには荷支持部上で整列させた荷を荷役台に積み込む積込作業を簡便にかつ楽に実行することができる。
(【0011】以降は省略されています)
この特許をJ-PlatPat(特許庁公式サイト)で参照する
関連特許
NTN株式会社
玉軸受
1か月前
NTN株式会社
軸受装置
1か月前
NTN株式会社
焼結軸受
1か月前
NTN株式会社
軸受装置
1か月前
NTN株式会社
軸受装置
1か月前
NTN株式会社
焼成軸受
1か月前
NTN株式会社
焼成軸受
1か月前
NTN株式会社
軸受装置
1か月前
NTN株式会社
密封装置
1か月前
NTN株式会社
転がり軸受
1か月前
NTN株式会社
荷積込装置
1か月前
NTN株式会社
ボールねじ
24日前
NTN株式会社
焼入れ方法
23日前
NTN株式会社
転がり軸受
1か月前
NTN株式会社
回転伝達装置
1か月前
NTN株式会社
回転伝達装置
1か月前
NTN株式会社
ボールねじ装置
24日前
NTN株式会社
リンク作動装置
1か月前
NTN株式会社
ボールねじ装置
24日前
NTN株式会社
車輪用軸受装置
1か月前
NTN株式会社
円すいころ軸受
24日前
NTN株式会社
軸受装置及び間座
1か月前
NTN株式会社
密封装置付き軸受
21日前
NTN株式会社
等速自在継手用ブーツ
1か月前
NTN株式会社
転動部材及び転動部品
今日
NTN株式会社
ブーツ付等速自在継手
1か月前
NTN株式会社
転がり軸受の設計方法
29日前
NTN株式会社
シェル形針状ころ軸受
1か月前
NTN株式会社
軸受装置および機械装置
1か月前
NTN株式会社
環状部品の抜け止め構造
24日前
NTN株式会社
等速自在継手の外側継手部材
1か月前
NTN株式会社
連結機構及びこれを備えた研削盤
1か月前
NTN株式会社
軸受装置および異常検知システム
1か月前
NTN株式会社
軸受装置および異常検知システム
1か月前
NTN株式会社
転がり軸受の耐電食性能評価方法
29日前
NTN株式会社
転がり軸受の耐電食性能評価方法
29日前
続きを見る
他の特許を見る