TOP
|
特許
|
意匠
|
商標
特許ウォッチ
Twitter
他の特許を見る
10個以上の画像は省略されています。
公開番号
2025149109
公報種別
公開特許公報(A)
公開日
2025-10-08
出願番号
2024049561
出願日
2024-03-26
発明の名称
回転伝達装置
出願人
NTN株式会社
代理人
個人
,
個人
,
個人
,
個人
主分類
F16D
41/08 20060101AFI20251001BHJP(機械要素または単位;機械または装置の効果的機能を生じ維持するための一般的手段)
要約
【課題】回転伝達装置の性能のばらつきを抑える。
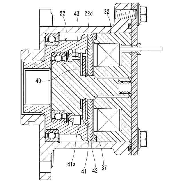
【解決手段】内方部材1と外方部材2とを相対回転自在に支持する非分離形転がり軸受3、外方部材2を取り囲みかつクラッチ機構を収容するケース4を備える。クラッチ機構は、外方部材1と内方部材2間の係合子6を保持して係合位置と当該係合を解除する解放位置との間を周方向に移動する保持器7、ケース4に取り付けられた電磁石9、内方部材1又は外方部材2で直接又は間接的に軸方向に支えられるセット位置から電磁石9に吸引されるアーマチュア10、アーマチュア10を電磁石9から離反する方へ付勢する離反ばね11を有する。内方部材1と外方部材2のいずれか一方の部材2とケース4との間で一方の部材2を軸方向へ押している弾性部材17をさらに備え、その弾性反発に基づく軸方向への押し力が一方の部材2から転がり軸受3、一方の部材2とは異なる方の部材1を経由してケース4に受けられている。
【選択図】図1
特許請求の範囲
【請求項1】
内方部材と、前記内方部材を取り囲む外方部材と、前記内方部材と前記外方部材とを相対回転自在に支持する転がり軸受と、回転トルクの伝達と遮断を行うクラッチ機構と、前記外方部材を取り囲みかつ前記クラッチ機構を収容するケースと、を備え、
前記クラッチ機構が、前記外方部材と前記内方部材との間に配置された係合子と、前記係合子を保持して前記外方部材と前記内方部材に係合させる係合位置と当該係合を解除する解放位置との間を周方向に移動可能に配置された保持器と、前記ケースに取り付けられた電磁石と、前記内方部材又は前記外方部材で直接又は間接的に軸方向に支えられるセット位置から前記電磁石によって軸方向に吸引されるアーマチュアと、前記アーマチュアを前記電磁石から離反する方へ付勢する離反ばねとを有し、かつ前記電磁石又は前記離反ばねによる前記アーマチュアの軸方向移動に応じて前記回転トルクの伝達と遮断を切り替えるように設けられている回転伝達装置において、
前記内方部材と前記外方部材のいずれか一方の部材と前記ケースとの間に配置された状態で前記一方の部材を軸方向へ押している弾性部材をさらに備え、
前記弾性部材の弾性反発に基づく前記軸方向への押し力が、前記一方の部材から前記転がり軸受と、前記一方の部材とは異なる前記外方部材又は前記内方部材とを経由して前記ケースに受けられていることを特徴とする回転伝達装置。
続きを表示(約 1,100 文字)
【請求項2】
前記一方の部材が前記外方部材であり、
前記外方部材が、前記ケースに対して回り止めされた状態に配置されている請求項1に記載の回転伝達装置。
【請求項3】
前記ケースが、前記外方部材を径方向に支持する嵌め合い部と、前記嵌め合い部から軸方向に寄った位置で周方向に延びる溝部とを有し、
前記外方部材が、前記溝部と径方向に対向する位置に突出した側端部を有し、
前記弾性部材が、前記溝部に保持されかつ前記溝部と前記外方部材の側端部とで軸方向に圧縮されている請求項2に記載の回転伝達装置。
【請求項4】
前記一方の部材が前記内方部材であり、
前記内方部材が、前記ケースに対して回り止めされた状態に配置されている請求項1に記載の回転伝達装置。
【請求項5】
前記ケースが、前記クラッチ機構を取り囲む筒部材と、前記筒部材に軸方向に結合されたカバー部材とを有し、
前記弾性部材が、前記内方部材と前記カバー部材とで軸方向に圧縮されている請求項4に記載の回転伝達装置。
【請求項6】
前記電磁石が、軸方向に貫通するスプライン孔部を含むコアを有し、
前記コアが、前記カバー部に固定されており、
前記内方部材が、前記スプライン孔部に嵌合されたスプライン軸部を有し、
前記弾性部材が、前記スプライン軸部と前記カバー部材とで軸方向に挟まれている請求項5に記載の回転伝達装置。
【請求項7】
前記一方の部材とは異なる前記外方部材又は前記内方部材と前記ケースとを相対回転自在に支持する他の転がり軸受をさらに備え、
前記軸方向への押し力が前記他の転がり軸受から前記ケースに負荷されている請求項1から6のいずれか1項に記載の回転伝達装置。
【請求項8】
前記外方部材と同軸周りに一体回転可能な状態に接続された中間軸部材を有し、
前記内方部材が、前記中間軸部材の軸方向一端側を収容するセンタ穴部を有し、
前記中間軸部材が、前記センタ穴部及び前記外方部材と径方向に対向する位置で軸方向に中空状に延びる継手部を有する請求項1から6のいずれか1項に記載の回転伝達装置。
【請求項9】
前記クラッチ機構が、前記電磁石の励磁時に前記回転トルクを伝達可能な状態に移行するように設けられている請求項1から6のいずれか1項に記載の回転伝達装置。
【請求項10】
前記クラッチ機構が、前記電磁石の無励磁時に前記回転トルクを伝達可能な状態に移行するように設けられている請求項1から6のいずれか1項に記載の回転伝達装置。
(【請求項11】以降は省略されています)
発明の詳細な説明
【技術分野】
【0001】
この発明は、回転トルクの伝達と遮断を行う回転伝達装置に関する。
続きを表示(約 2,600 文字)
【背景技術】
【0002】
従来、回転伝達装置として、内方部材と、内方部材を取り囲む外方部材と、内方部材と外方部材とを相対回転自在に支持する非分離形の転がり軸受と、内方部材と外方部材間で回転トルクの伝達と遮断を行うクラッチ機構と、外方部材を取り囲みかつクラッチ機構を収容するケースとを備えるものがある。そのクラッチ機構は、外方部材と内方部材との間に配置された係合子と、係合子を保持して外方部材と内方部材に係合させる係合位置と当該係合を解除する解放位置との間を周方向に移動可能に配置された保持器と、ケースに取り付けられた電磁石と、内方部材又は外方部材で直接又は間接的に軸方向に支えられるセット位置から電磁石によって軸方向に吸引されるアーマチュアと、アーマチュアを電磁石から離反する方へ付勢する離反ばねとを有する。ケースは、一般に、他の機械の静止部に固定される。内方部材又は外方部材は、他の機械に備わる回転軸に接続される。電磁石の磁気的な吸引又は離反ばねの付勢力によりアーマチュアが軸方向に移動させられる。このアーマチュアの軸方向移動に応じて回転トルクの伝達と遮断が切り替えられる(例えば、特許文献1、2)。
【先行技術文献】
【特許文献】
【0003】
特開2023-45468号公報
特開2023-5539号公報
【発明の概要】
【発明が解決しようとする課題】
【0004】
特許文献1、2のような回転伝達装置では、ケースに外方部材を圧入して固定すると、外方部材が径方向に変形するため、外方部材と係合子との接触関係を適切な精度に確保することが難しくなる。これを避けるため、ケースと外方部材を圧入せず、ケースの肩部と、ケースの止め輪溝に保持された止め輪とで外方部材を軸方向に位置決めしている。ケースに形成する止め輪溝の幅は、止め輪の寸法公差を考慮し、採用する止め輪の幅に比して余裕をもたせた寸法に設定される。このため、止め輪が止め輪溝に対して軸方向にガタつくことがある。止め輪が軸方向にガタつくと、ケースに対して外方部材も軸方向にガタつき、外方部材の軸方向位置が一定にならない。外方部材の軸方向位置が変わると、非分離形の転がり軸受を介して内方部材の軸方向位置も変わるので、内方部材又は外方部材で直接又は間接的に軸方向に支えられるアーマチュアのセット位置も変わる。アーマチュアを付勢する離反ばねのセット高さや、アーマチュアと電磁石間の軸方向距離は、内方部材又は外方部材に対するアーマチュアのセット位置に基づく寸法である。これら寸法は、クラッチ機構の応答性等に影響を及ぼす。すなわち、特許文献1、2の回転伝達装置のように、ケースの止め輪溝とここに嵌着される止め輪とを利用してケースに対する外方部材、転がり軸受及び内方部材の一体的な軸方向の位置決めを行う構造では、その止め輪溝と止め輪間の軸方向のガタつきによって回転伝達装置の性能がばらつき易い問題がある。
【0005】
そこで、この発明が解決しようとする課題は、回転伝達装置の性能のばらつきを抑えることである。
【課題を解決するための手段】
【0006】
上記の課題を達成するため、この発明は、内方部材と、前記内方部材を取り囲む外方部材と、前記内方部材と前記外方部材とを相対回転自在に支持する転がり軸受と、回転トルクの伝達と遮断を行うクラッチ機構と、前記外方部材を取り囲みかつ前記クラッチ機構を収容するケースと、を備え、前記クラッチ機構が、前記外方部材と前記内方部材との間に配置された係合子と、前記係合子を保持して前記外方部材と前記内方部材に係合させる係合位置と当該係合を解除する解放位置との間を周方向に移動可能に配置された保持器と、前記ケースに取り付けられた電磁石と、前記内方部材又は前記外方部材で直接又は間接的に軸方向に支えられるセット位置から前記電磁石によって軸方向に吸引されるアーマチュアと、前記アーマチュアを前記電磁石から離反する方へ付勢する離反ばねとを有し、かつ前記電磁石又は前記離反ばねによる前記アーマチュアの軸方向移動に応じて前記回転トルクの伝達と遮断を切り替えるように設けられている回転伝達装置において、前記内方部材と前記外方部材のいずれか一方の部材と前記ケースとの間に配置された状態で前記一方の部材を軸方向へ押している弾性部材をさらに備え、前記弾性部材の弾性反発に基づく前記軸方向への押し力が、前記一方の部材から前記転がり軸受と、前記一方の部材とは異なる前記外方部材又は前記内方部材とを経由して前記ケースに受けられていることを特徴とする回転伝達装置、という構成1を採用した。
【0007】
上記構成1によると、弾性部材の弾性反発に基づく軸方向への押し力が、内方部材と外方部材のいずれか一方の部材から転がり軸受、一方の部材とは異なる外方部材又は内方部材を経由してケースに受けられているので、その負荷経路を構成する内方部材、外方部材等の各部材には一体的に軸方向の予圧が付与されており、これら各部材間に軸方向のガタつきがない。このため、内方部材又は外方部材で支えられるアーマチュアのセット位置は、ケースに対する軸方向位置に関して一定化される。すなわち、ケースに取り付けられた電磁石とセット位置のアーマチュアとの間の軸方向距離や、離反ばねのセット高さが一定化されるので、回転伝達装置の性能のばらつきが抑えられる。
【0008】
上記構成1において、前記一方の部材が前記外方部材であり、前記外方部材が、前記ケースに対して回り止めされた状態に配置されている、という構成2を採用することができる。
【0009】
上記構成2によると、弾性部材の摩耗を避けることができる。
【0010】
上記構成2において、前記ケースが、前記外方部材を径方向に支持する嵌め合い部と、前記嵌め合い部から軸方向に寄った位置で周方向に延びる溝部とを有し、前記外方部材が、前記溝部と径方向に対向する位置に突出した側端部を有し、前記弾性部材が、前記溝部に保持されかつ前記溝部と前記外方部材の側端部とで軸方向に圧縮されている、という構成3を採用することができる。
(【0011】以降は省略されています)
この特許をJ-PlatPat(特許庁公式サイト)で参照する
関連特許
NTN株式会社
玉軸受
1か月前
NTN株式会社
密封装置
1か月前
NTN株式会社
焼成軸受
16日前
NTN株式会社
軸受装置
1か月前
NTN株式会社
軸受装置
1か月前
NTN株式会社
焼結軸受
1か月前
NTN株式会社
軸受装置
1か月前
NTN株式会社
焼成軸受
16日前
NTN株式会社
軸受装置
1か月前
NTN株式会社
転がり軸受
1か月前
NTN株式会社
荷積込装置
1か月前
NTN株式会社
転がり軸受
1か月前
NTN株式会社
ボールねじ
4日前
NTN株式会社
焼入れ方法
3日前
NTN株式会社
回転伝達装置
1か月前
NTN株式会社
回転伝達装置
1か月前
NTN株式会社
円すいころ軸受
4日前
NTN株式会社
ボールねじ装置
4日前
NTN株式会社
リンク作動装置
1か月前
NTN株式会社
車輪用軸受装置
1か月前
NTN株式会社
ボールねじ装置
4日前
NTN株式会社
軸受装置及び間座
1か月前
NTN株式会社
密封装置付き軸受
1日前
NTN株式会社
転がり軸受の設計方法
9日前
NTN株式会社
シェル形針状ころ軸受
1か月前
NTN株式会社
等速自在継手用ブーツ
29日前
NTN株式会社
ブーツ付等速自在継手
29日前
NTN株式会社
環状部品の抜け止め構造
4日前
NTN株式会社
軸受装置および機械装置
29日前
NTN株式会社
等速自在継手の外側継手部材
29日前
NTN株式会社
軸受装置および異常検知システム
1か月前
NTN株式会社
連結機構及びこれを備えた研削盤
1か月前
NTN株式会社
転がり軸受の耐電食性能評価方法
9日前
NTN株式会社
軸受装置および異常検知システム
1か月前
NTN株式会社
転がり軸受の耐電食性能評価方法
9日前
NTN株式会社
ピッキング装置およびピッキング方法
1か月前
続きを見る
他の特許を見る