TOP
|
特許
|
意匠
|
商標
特許ウォッチ
Twitter
他の特許を見る
10個以上の画像は省略されています。
公開番号
2025150638
公報種別
公開特許公報(A)
公開日
2025-10-09
出願番号
2024051632
出願日
2024-03-27
発明の名称
転がり軸受
出願人
NTN株式会社
代理人
個人
,
個人
,
個人
,
個人
主分類
F16C
33/58 20060101AFI20251002BHJP(機械要素または単位;機械または装置の効果的機能を生じ維持するための一般的手段)
要約
【課題】進行波型の内輪又は外輪のクリープの抑制と内外輪及び転動体の電食の抑制とを両立させることが可能で電動アクスルユニットに好適な転がり軸受を提供する。
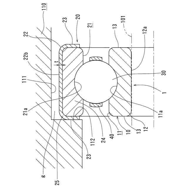
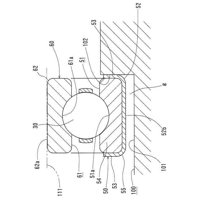
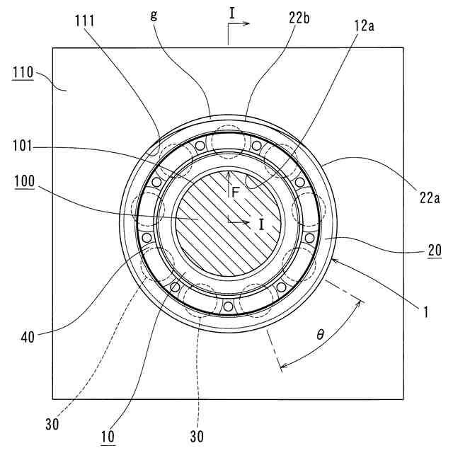
【解決手段】内輪10の内周部12と外輪20の外周部22のうちの一方の周部22が対応の内径面又は外径面22aに対して径方向深さを有しかつ前記対応の内径面又は前記外径面22aを全幅に亘って分断する逃げ面22bを含む。一方の周部22を有する内輪又は外輪20が前記内輪の軌道面又は前記外輪20の軌道面21aを含む金属輪24と、金属輪24を覆う樹脂部25とを有する。一方の周部22に含まれた内径面又は外径面22aと、逃げ面22bと、一方の周部22に連続する内輪の幅面又は外輪20の幅面23とが樹脂部25によって形成されている。
【選択図】図1
特許請求の範囲
【請求項1】
第一の軌道面を含む第一の外周部と、円周方向に沿った内径面を含む第一の内周部と、前記第一の外周部と前記第一の内周部との間の側面部位で径方向に延びる第一の幅面とを有する内輪と、
第二の軌道面を含む第二の内周部と、円周方向に沿った外径面を含む第二の外周部と、前記第二の内周部と前記第二の外周部との間の側面部位で径方向に延びる第二の幅面とを有する外輪と、
前記第一の軌道面と前記第二の軌道面との間に配置された複数の転動体とを備え、
前記第一の内周部と前記第二の外周部のうちの一方の周部が、前記一方の周部に含まれた前記内径面又は前記外径面に対して径方向深さを有しかつ前記内径面又は前記外径面を全幅に亘って分断する逃げ面をさらに含み、
前記内輪又は前記外輪が、前記内輪の前記第一の軌道面又は前記外輪の前記第二の軌道面を含む金属輪と、前記金属輪を覆う樹脂部とを有する転がり軸受において、
前記一方の周部に含まれた前記内径面又は前記外径面と、前記逃げ面と、前記一方の周部に連続する前記第一の幅面又は前記第二の幅面とが、前記樹脂部によって形成されていることを特徴とする転がり軸受。
続きを表示(約 480 文字)
【請求項2】
前記樹脂部が前記金属輪と一体化している請求項1に記載の転がり軸受。
【請求項3】
前記樹脂部にウェルドを含まない請求項2に記載の転がり軸受。
【請求項4】
前記逃げ面にゲート痕があり、前記逃げ面にウェルドを含まない請求項2に記載の転がり軸受。
【請求項5】
前記一方の周部に含まれた前記内径面又は前記外径面を覆う樹脂部が、周方向に延びる溝を含む請求項1から4のいずれか1項に記載の転がり軸受。
【請求項6】
前記溝が前記逃げ面に交差する請求項5に記載の転がり軸受。
【請求項7】
前記逃げ面の径方向深さが0.1mm以上2.5mm以下である請求項1から4のいずれか1項に記載の転がり軸受。
【請求項8】
前記樹脂部が少なくとも0.8mmの厚さを有する請求項1から4のいずれか1項に記載の転がり軸受。
【請求項9】
電動アクスルユニットに備わる回転軸とハウジングとの間に配置されている請求項1から4のいずれか1項に記載の転がり軸受。
発明の詳細な説明
【技術分野】
【0001】
この発明は、転がり軸受に関する。
続きを表示(約 1,700 文字)
【背景技術】
【0002】
例えば、電気自動車等の電動アクスルユニット(いわゆるe-Axle)の駆動モータや減速機に備わる軸を転がり軸受でハウジングに対して回転自在に支持する場合、内輪の内径面又は外輪の外径面を嵌合相手である軸又はハウジングにすきまばめすることがある。
【0003】
近年、電動アクスルユニットのコンパクト化のため、ハウジングの薄肉化が進められている。外輪の外径面とハウジングがすきまばめされる場合、ハウジングが薄肉化されると、転がり軸受の荷重負荷圏における外輪とハウジングの接触領域が周方向に長くなる。このため、転がり軸受の回転中に外輪の外径面に発生する進行波により外輪がハウジングに対して転動体の公転方向に移送させられる機序のクリープが発生する懸念は高くなる。この機序のクリープを抑制する対策として、内輪の内径面(軸に対する嵌め合い面)又は外輪の外径面(ハウジングに対する嵌め合い面)を全幅に亘って分断するように逃げ面を形成することが提案されている(特許文献1~3)。
【0004】
特許文献1~3で提案された逃げ面は、内輪の内径面又は外輪の外径面に接する仮想円に対して径方向深さを有し、相手部材である軸又はハウジングとの間に径方向隙間を形成する。転がり軸受に最大のラジアル荷重が負荷された場合でも、逃げ面と相手部材との間に径方向の隙間が残る。このため、前述の機序のクリープが発生しても、クリープによって内輪又は外輪の逃げ面が荷重負荷圏に到達すると、逃げ面のところで進行波が遮断されるので、クリープが抑制される。
【先行技術文献】
【特許文献】
【0005】
特開2020-45987号公報
特許第7108569号公報
特開2020-190289号公報
【発明の概要】
【発明が解決しようとする課題】
【0006】
近年、電動アクスルユニットの駆動モータは、インバータ制御され、その駆動力の高出力化が進められている。このため、将来的には、駆動モータ及び減速機を収容するハウジングと、駆動モータの軸や減速機の軸との間で発生する電位差が高くなり、その軸をハウジングに対して支持する転がり軸受の転動体と軌道面間で放電が起こり、転動体や軌道面に電食が発生する懸念が高まることが予想される。
【0007】
特許文献1~3においては、転がり軸受の電食を抑制することについて言及されていない。
【0008】
特許文献1においては、内輪又は外輪を削って逃げ面を形成することが開示されているに過ぎない。
【0009】
特許文献2においては、軌道面等を含む金属輪の内周部又は外周部にリン酸塩処理で下地膜を形成し、樹脂ベースバインダーにPTFEを混在させた樹脂固体潤滑剤を下地膜上に一回塗り又は重ね塗りするか、下地膜を省いて金属輪の内周面又は外周面に樹脂固体潤滑剤を一回又は重ね塗りことにより、内輪の内径面及び逃げ面又は外輪の外径面及び逃げ面を形成することが開示されている。この場合、それらリン酸塩の下地膜や樹脂固体潤滑膜は絶縁を有するので、結果的に、内輪の内周部と軸間又は外輪の外周部とハウジング間が絶縁されることはあり得る。
【0010】
しかしながら、特許文献2に開示された転がり軸受は、内輪の内径面及び逃げ面又は外輪の外径面及び逃げ面を樹脂固体潤滑膜等で形成しただけであり、内輪の幅面又は外輪の幅面を塗膜等で覆っていない。電動アクスルユニットのモータ軸や減速機の伝達軸を支持する転がり軸受は、一般に、内輪の幅面又は外輪の幅面が対応の軸の突き合い部又はハウジングの突き合い部に軸方向に支持される。このような軸受支持構造に特許文献2に開示された転がり軸受を採用した場合、内輪の幅面又は外輪の幅面と対応の軸又はハウジング間で絶縁されないため、前述の電食を抑制することができない。
(【0011】以降は省略されています)
この特許をJ-PlatPat(特許庁公式サイト)で参照する
関連特許
NTN株式会社
玉軸受
28日前
NTN株式会社
ハンド
1か月前
NTN株式会社
軸受装置
28日前
NTN株式会社
軸受装置
28日前
NTN株式会社
把持装置
1か月前
NTN株式会社
把持装置
1か月前
NTN株式会社
軸受装置
28日前
NTN株式会社
作業装置
1か月前
NTN株式会社
密封装置
1か月前
NTN株式会社
軸受装置
28日前
NTN株式会社
焼結軸受
28日前
NTN株式会社
焼成軸受
14日前
NTN株式会社
焼成軸受
14日前
NTN株式会社
焼入れ方法
1日前
NTN株式会社
転がり軸受
28日前
NTN株式会社
転がり軸受
1か月前
NTN株式会社
荷積込装置
29日前
NTN株式会社
転がり軸受
29日前
NTN株式会社
ボールねじ
2日前
NTN株式会社
シール付軸受
1か月前
NTN株式会社
状態監視装置
1か月前
NTN株式会社
回転伝達装置
29日前
NTN株式会社
回転伝達装置
29日前
NTN株式会社
回転伝達装置
1か月前
NTN株式会社
円すいころ軸受
2日前
NTN株式会社
車輪用軸受装置
1か月前
NTN株式会社
リンク作動装置
1か月前
NTN株式会社
ボールねじ装置
2日前
NTN株式会社
ボールねじ装置
2日前
NTN株式会社
車輪用軸受装置
29日前
NTN株式会社
状態監視システム
1か月前
NTN株式会社
電動オイルポンプ
1か月前
NTN株式会社
軸受装置及び間座
29日前
NTN株式会社
電食防止転がり軸受
1か月前
NTN株式会社
シェル形針状ころ軸受
1か月前
NTN株式会社
転がり軸受の設計方法
7日前
続きを見る
他の特許を見る