TOP
|
特許
|
意匠
|
商標
特許ウォッチ
Twitter
他の特許を見る
公開番号
2025149742
公報種別
公開特許公報(A)
公開日
2025-10-08
出願番号
2024050566
出願日
2024-03-26
発明の名称
車輪用軸受装置
出願人
NTN株式会社
代理人
弁理士法人矢野内外国特許事務所
主分類
F16C
33/60 20060101AFI20251001BHJP(機械要素または単位;機械または装置の効果的機能を生じ維持するための一般的手段)
要約
【課題】車輪用軸受装置において、車輪用軸受装置の剛性と耐久寿命を確保することができ、また、重量が増加することを抑制しつつフリクションの増加を抑制することができるものとする。
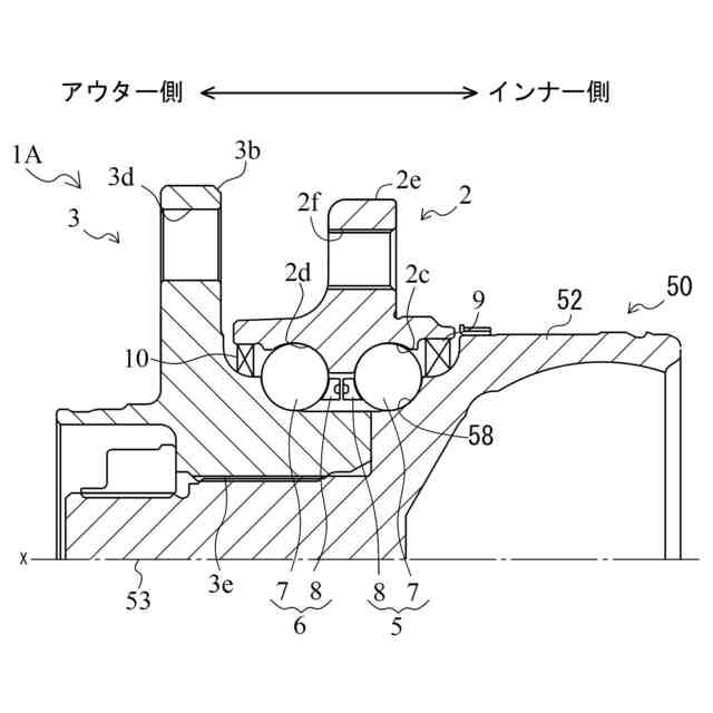
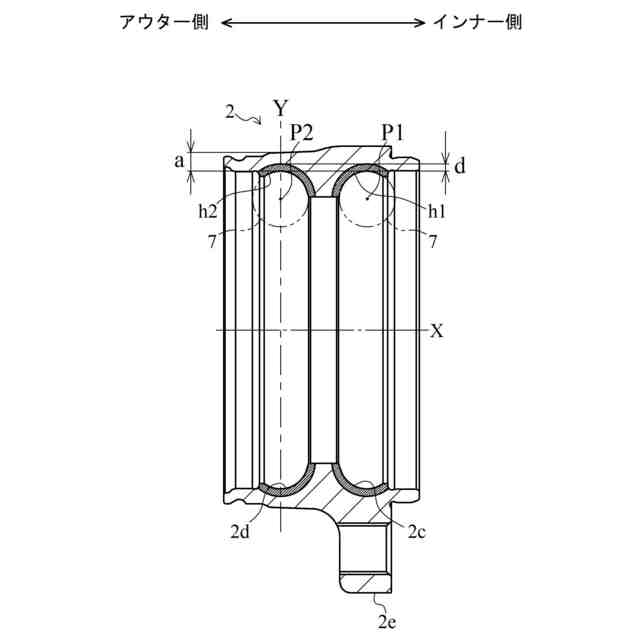
【解決手段】車輪用軸受装置1において、インナー側ボール列5またはアウター側ボール列6のピッチ円直径PCDbと、インナー側ボール列5のボールの中心P1とアウター側ボール列6のボールの中心P2との軸方向の距離cと、について、3<PCDb/c<4の関係を満たすように構成され、かつ、インナー側ボール列5またはアウター側ボール列6のボール7の最大収容可能数nと、最大収容可能数nであるボール列と同様のボール列であるインナー側ボール列5またはアウター側ボール列6にボール7が収容される数Nと、の関係において、n-2≦Nの関係を満たすように構成されるものとする。
【選択図】図1
特許請求の範囲
【請求項1】
内周に複列の外側軌道溝を有する外輪である外方部材と、
外周に前記外側軌道溝と対向する一方の内側軌道溝を備えるハブ輪と、前記ハブ輪に連結され、外周に前記外側軌道溝と対向する他方の内側軌道溝を有する軌道溝形成部材と、から構成される内方部材と、
前記外側軌道溝と一方の前記内側軌道溝との間にボールが転動自在に収容されるインナー側ボール列と、
前記外側軌道溝と他方の前記内側軌道溝との間にボールが転動自在に収容されるアウター側ボール列と、を備える車輪用軸受装置であって、
前記インナー側ボール列または前記アウター側ボール列のピッチ円直径PCDbと、前記インナー側ボール列のボールの中心と前記アウター側ボール列のボールの中心との軸方向の距離cと、について、3<PCDb/c<4の関係を満たすように構成され、
かつ、
前記インナー側ボール列または前記アウター側ボール列のボールの最大収容可能数nと、前記最大収容可能数nであるボール列と同様のボール列である前記インナー側ボール列または前記アウター側ボール列にボールが収容される数Nと、の関係において、n-2≦Nの関係を満たすように構成される、車輪用軸受装置。
続きを表示(約 580 文字)
【請求項2】
前記外輪のアウター側の前記外側軌道溝の溝底から外径までの厚さaと、前記インナー側ボール列または前記アウター側ボール列のピッチ円直径PCDbと、の関係において、0.07<(a/PCDb)<0.08の関係、
前記外側軌道溝の硬化層の深さdと、前記外輪のアウター側の前記外側軌道溝の溝底から外径までの厚さaと、の関係において、0.2<(d/a)<0.5の関係
のうちいずれか一方の関係を満たすように構成される、請求項1に記載の車輪用軸受装置。
【請求項3】
前記外輪のアウター側の前記外側軌道溝の溝底から外径までの厚さaと、前記インナー側ボール列または前記アウター側ボール列のピッチ円直径PCDbと、の関係において、0.07<(a/PCDb)<0.08の関係を満たすように構成され、
かつ、
前記外側軌道溝の硬化層の深さdと、前記外輪のアウター側の前記外側軌道溝の溝底から外径までの厚さaと、の関係において、0.2<(d/a)<0.5の関係を満たすように構成される、請求項1に記載の車輪用軸受装置。
【請求項4】
前記インナー側ボール列または前記アウター側ボール列のピッチ円直径PCDbについて、60≦PCDb≦120の関係を満たすように構成される、請求項1に記載の車輪用軸受装置。
発明の詳細な説明
【技術分野】
【0001】
本発明は車輪用軸受装置に関する。
続きを表示(約 1,900 文字)
【背景技術】
【0002】
従来、自動車等の懸架装置において車輪を回転自在に支持する車輪用軸受装置が知られている。
【0003】
近年、車輪用軸受装置が用いられる車両においては、省エネ及び脱炭素といった社会背景から燃料規制が課せられており、電動化の流れが進んでいる。今後、普及の拡大が見込まれる、車載バッテリーを主要な動力とする電気自動車においては、ガソリン車に比べると車両重量が大きくなって、軸重が増加する傾向にある。
【0004】
一般的に、軸重が増加すると、車輪用軸受装置の回転トルクは上昇し、強度の観点からは車輪用軸受装置をサイズアップさせる必要がある。例えば、電気自動車に用いられる車輪用軸受装置は、ハブ輪の車輪取り付けフランジのアウター側面から内輪のインナー側端の軸方向の距離は、外輪のパイロット部の外径よりも大きく、幅狭大径の傾向にあり、この幅狭大径の傾向はさらに進展することが予想される。
【0005】
ここで、前記車輪軸受装置では、外方部材である外輪の複列の外側軌道溝と、内方部材であるハブ輪の一方の内側軌道溝及びハブ輪の他方の内側軌道溝と、の間には、それぞれ転動体である複数のボールが保持器によって保持されることによってボール列が収容されている。
【0006】
また、特許文献1に記載の車輪軸受装置においては、車体に取り付ける車体取付フランジを有し、内周に複列の軌道面が形成された外輪と、車輪を取り付ける車輪取付フランジを有し、前記外輪の軌道溝と対向する軌道溝が外周に形成されたハブ輪および内輪と、外輪とハブ輪および内輪のそれぞれの軌道溝間に介装された複列の転動体とを備え、外輪の軌道溝を高周波焼入れにより硬化させて軌道溝に硬化層を形成し、外方部材の少なくとも一方の軌道面溝底部における有効硬化層深さと肉厚の比を0.49以上としている。このように構成される特許文献1の車輪軸受装置では、周波焼入れによる外輪の焼割れを未然に防止すると共に、最終製品の軽量コンパクト化を実現容易にしている。
【先行技術文献】
【特許文献】
【0007】
特開2005-214229号公報
【発明の概要】
【発明が解決しようとする課題】
【0008】
前記車輪用軸受装置の幅狭大径の傾向にともなって、収容されるボールの数が増加することが考えられる。例えば、収容されるボールの数が少ない状態では、車輪用軸受装置の剛性と耐久寿命に問題が生じる場合があることから、収容されるボールの数を増加させることが考えられる。もっとも、収容されるボールの数が増加することによって、車輪用軸受装置の重量が増加し、さらに、ボールによる、外輪、ハブ輪、及び内輪のそれぞれの軌道溝に対するフリクションが増加するおそれがある。
【0009】
本発明は以上の如き状況に鑑みてなされたものであり、車輪用軸受装置の剛性と耐久寿命を確保することができ、また、重量が増加することを抑制しつつフリクションの増加を抑制することができる、車輪用軸受装置を提供することを課題とする。
【課題を解決するための手段】
【0010】
即ち、内周に複列の外側軌道溝を有する外輪である外方部材と、
外周に前記外側軌道溝と対向する一方の内側軌道溝を備えるハブ輪と、前記ハブ輪に連結され、外周に前記外側軌道溝と対向する他方の内側軌道溝を有する軌道溝形成部材と、から構成される内方部材と、
前記外側軌道溝と一方の前記内側軌道溝との間にボールが転動自在に収容されるインナー側ボール列と、
前記外側軌道溝と他方の前記内側軌道溝との間にボールが転動自在に収容されるアウター側ボール列と、を備える車輪用軸受装置であって、
前記インナー側ボール列または前記アウター側ボール列のピッチ円直径PCDbと、前記インナー側ボール列のボールの中心と前記アウター側ボール列のボールの中心との軸方向の距離cと、について、3<PCDb/c<4の関係を満たすように構成され、
かつ、
前記インナー側ボール列または前記アウター側ボール列のボールの最大収容可能数nと、前記最大収容可能数nであるボール列と同様のボール列である前記インナー側ボール列または前記アウター側ボール列にボールが収容される数Nと、の関係において、n-2≦Nの関係を満たすように構成される、ものとしたものである。
【発明の効果】
(【0011】以降は省略されています)
この特許をJ-PlatPat(特許庁公式サイト)で参照する
関連特許
NTN株式会社
ハンド
2か月前
NTN株式会社
玉軸受
1か月前
NTN株式会社
把持装置
2か月前
NTN株式会社
焼成軸受
1か月前
NTN株式会社
焼成軸受
1か月前
NTN株式会社
軸受装置
1か月前
NTN株式会社
軸受装置
1か月前
NTN株式会社
焼結軸受
1か月前
NTN株式会社
作業装置
1か月前
NTN株式会社
密封装置
1か月前
NTN株式会社
軸受装置
1か月前
NTN株式会社
軸受装置
1か月前
NTN株式会社
把持装置
2か月前
NTN株式会社
転がり軸受
2か月前
NTN株式会社
転がり軸受
1か月前
NTN株式会社
ボールねじ
27日前
NTN株式会社
焼入れ方法
26日前
NTN株式会社
荷積込装置
1か月前
NTN株式会社
転がり軸受
1か月前
NTN株式会社
回転伝達装置
1か月前
NTN株式会社
シール付軸受
1か月前
NTN株式会社
回転伝達装置
1か月前
NTN株式会社
状態監視装置
2か月前
NTN株式会社
回転伝達装置
1か月前
NTN株式会社
車輪用軸受装置
1か月前
NTN株式会社
リンク作動装置
1か月前
NTN株式会社
ボールねじ装置
27日前
NTN株式会社
ボールねじ装置
27日前
NTN株式会社
円すいころ軸受
27日前
NTN株式会社
車輪用軸受装置
1か月前
NTN株式会社
電動オイルポンプ
2か月前
NTN株式会社
状態監視システム
2か月前
NTN株式会社
軸受装置及び間座
1か月前
NTN株式会社
密封装置付き軸受
24日前
NTN株式会社
電食防止転がり軸受
2か月前
NTN株式会社
転動部材及び転動部品
3日前
続きを見る
他の特許を見る