TOP
|
特許
|
意匠
|
商標
特許ウォッチ
Twitter
他の特許を見る
公開番号
2025141270
公報種別
公開特許公報(A)
公開日
2025-09-29
出願番号
2024041139
出願日
2024-03-15
発明の名称
電食防止転がり軸受
出願人
NTN株式会社
代理人
個人
,
個人
,
個人
主分類
F16C
19/06 20060101AFI20250919BHJP(機械要素または単位;機械または装置の効果的機能を生じ維持するための一般的手段)
要約
【課題】転がり軸受の軌道輪の表面に絶縁被膜を有する電食防止転がり軸受における前記絶縁被膜の機械的強度を向上させることであり、特に転がり軸受の回転状態や低温時に生じる引張応力に対する強度を向上させる。
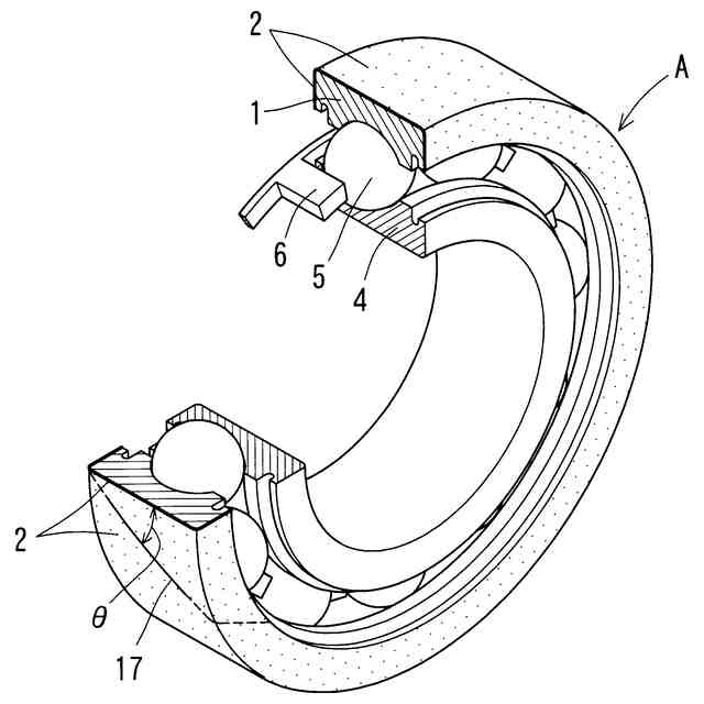
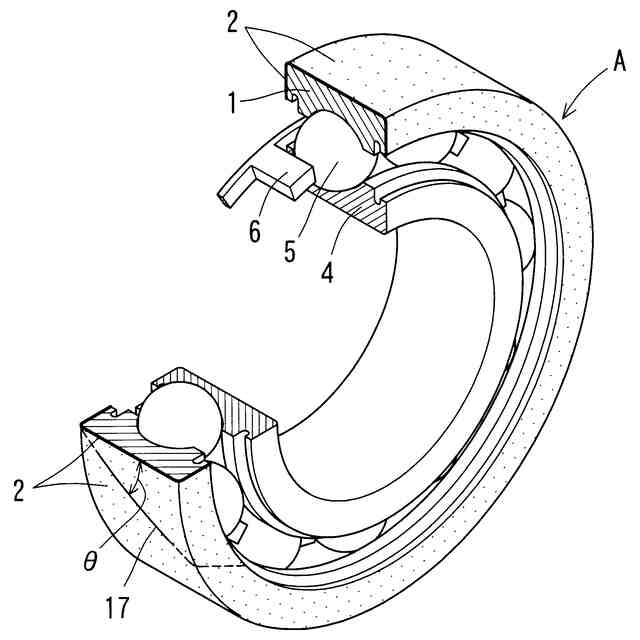
【解決手段】軌道輪である外輪1の表面に絶縁被膜2を有する電食防止転がり軸受Aであって、絶縁被膜2は射出成形された樹脂成形体からなり、外輪1の外径面上の絶縁被膜2に現れるウエルドライン3の一端と他端を結ぶ仮想直線と、当該仮想直線の中間点を通りかつ軸受の回転軸線に平行な直線と、のなす角度θを0°<θ≦60°にする。
【選択図】図1
特許請求の範囲
【請求項1】
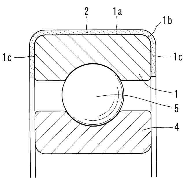
内輪と、外輪と、前記内輪と前記外輪との間に介在する複数の転動体と、前記内輪または前記外輪の表面に絶縁被膜を有する電食防止転がり軸受であって、
前記絶縁被膜は樹脂成形体からなり、前記絶縁被膜の前記内輪または前記外輪の外径面上または内径面上に現れるウエルドラインの一端と他端を結ぶ仮想直線と、前記仮想直線の中間点を通りかつ軸受の回転軸線に平行な直線と、のなす角度θが0°<θ≦60°である電食防止転がり軸受。
続きを表示(約 240 文字)
【請求項2】
上記角度θが、25°≦θ≦45°である請求項1に記載の電食防止転がり軸受。
【請求項3】
上記絶縁被膜が、繊維状強化剤を含有する絶縁被膜である請求項1または2に記載の電食防止転がり軸受。
【請求項4】
上記絶縁被膜が、エラストマーを含有する絶縁被膜である請求項1または2に記載の電食防止転がり軸受。
【請求項5】
上記絶縁被膜が、エラストマーを含有する絶縁被膜である請求項3に記載の電食防止転がり軸受。
発明の詳細な説明
【技術分野】
【0001】
この発明は、軌道輪の表面に樹脂製の絶縁被膜を有する電食防止転がり軸受に関する。
続きを表示(約 1,100 文字)
【背景技術】
【0002】
一般に転がり軸受における軌道輪や転動体などの金属製の構成部品には、外部から電流が流入することによって電食現象が起こる可能性がある。このような転がり軸受の軌道輪の表面に樹脂製の絶縁被膜を形成し、外部からの電流を遮断する対策が採られることが知られている。
【0003】
上記絶縁被膜を形成する樹脂組成物としては、例えば、ポリフェニレンサルファイド樹脂にガラス繊維等の強化繊維を添加した絶縁性樹脂組成物、または強化繊維に加えて非繊維質の絶縁性無機材料を添加したものが採用されている(特許文献1)。
【0004】
このような樹脂組成物を軌道輪の表面に被覆するには、インサート成形法により、外輪の外周面や内輪の内周面等を含む表面を樹脂被膜で包むように射出成形する方法が製造効率の面からも好ましい。
【0005】
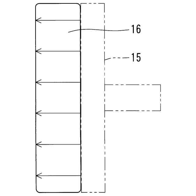
射出成形では、金型に複数のゲートを設けてゲート間のキャビティーに溶融した樹脂を流れ込ませるので、溶融樹脂がキャビティーに複数の樹脂流となって流れ込み、それらの先端部分が会合した箇所にウエルドラインが形成され、成形体の表面には細い筋となって現れる。
【先行技術文献】
【特許文献】
【0006】
特許第3068311号公報
【発明の概要】
【発明が解決しようとする課題】
【0007】
しかしながら、このようなウエルドラインは、射出成形品の機械的強度低下を引き起こす箇所となる場合があり、特に電食防止転がり軸受では、負荷のかかる軌道輪の表面に絶縁被膜を設ける必要がある。
【0008】
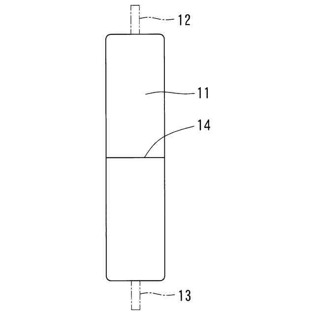
図7に示すように、このような絶縁被膜11を射出成形するには、軌道輪と金型の間の円環状のキャビティーに対し、径方向に対向する位置に配置されるピンゲート12、13から溶融樹脂を射出するので、ウエルドライン14が円環状のキャビティーの周方向に直交する向き(軸方向に一致する向き)に形成される。
【0009】
このようなウエルドラインを有する環状の絶縁被膜は、転がり軸受が実装された状態でハウジングまたは回転軸に挟まれ、さらに軸受荷重が軌道輪の径方向から負荷されるときに、環状の絶縁被膜の径方向に圧縮応力が生じると共に、転がり軸受の回転時には周方向に引張応力が生じる。
【0010】
そして、このような圧縮応力や引張応力がウエルドラインに繰り返しかかると、絶縁被膜はウエルドラインの部分で破損または破断しやすくなり、ウエルドラインの機械的強度は、絶縁被膜全体の強度に大きく影響する。
(【0011】以降は省略されています)
この特許をJ-PlatPat(特許庁公式サイト)で参照する
関連特許
NTN株式会社
玉軸受
1か月前
NTN株式会社
軸受装置
1か月前
NTN株式会社
焼結軸受
1か月前
NTN株式会社
焼成軸受
1か月前
NTN株式会社
焼成軸受
1か月前
NTN株式会社
軸受装置
1か月前
NTN株式会社
軸受装置
1か月前
NTN株式会社
密封装置
1か月前
NTN株式会社
軸受装置
1か月前
NTN株式会社
荷積込装置
1か月前
NTN株式会社
転がり軸受
1か月前
NTN株式会社
ボールねじ
18日前
NTN株式会社
転がり軸受
1か月前
NTN株式会社
焼入れ方法
17日前
NTN株式会社
回転伝達装置
1か月前
NTN株式会社
回転伝達装置
1か月前
NTN株式会社
車輪用軸受装置
1か月前
NTN株式会社
リンク作動装置
1か月前
NTN株式会社
円すいころ軸受
18日前
NTN株式会社
ボールねじ装置
18日前
NTN株式会社
ボールねじ装置
18日前
NTN株式会社
密封装置付き軸受
15日前
NTN株式会社
軸受装置及び間座
1か月前
NTN株式会社
等速自在継手用ブーツ
1か月前
NTN株式会社
ブーツ付等速自在継手
1か月前
NTN株式会社
シェル形針状ころ軸受
1か月前
NTN株式会社
転がり軸受の設計方法
23日前
NTN株式会社
軸受装置および機械装置
1か月前
NTN株式会社
環状部品の抜け止め構造
18日前
NTN株式会社
等速自在継手の外側継手部材
1か月前
NTN株式会社
軸受装置および異常検知システム
1か月前
NTN株式会社
転がり軸受の耐電食性能評価方法
23日前
NTN株式会社
連結機構及びこれを備えた研削盤
1か月前
NTN株式会社
転がり軸受の耐電食性能評価方法
23日前
NTN株式会社
軸受装置および異常検知システム
1か月前
NTN株式会社
ピッキング装置およびピッキング方法
1か月前
続きを見る
他の特許を見る