TOP
|
特許
|
意匠
|
商標
特許ウォッチ
Twitter
他の特許を見る
公開番号
2025147652
公報種別
公開特許公報(A)
公開日
2025-10-07
出願番号
2024048006
出願日
2024-03-25
発明の名称
連結機構及びこれを備えた研削盤
出願人
NTN株式会社
代理人
個人
,
個人
主分類
B24B
41/06 20120101AFI20250930BHJP(研削;研磨)
要約
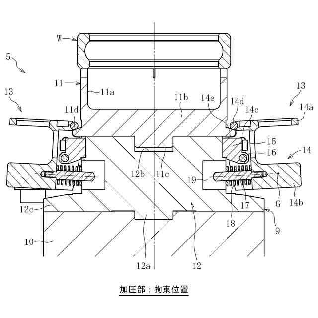
【課題】回転駆動源の出力軸に対して、ワークを一体回転可能に保持するワーク保持部を交換容易に連結する。
【解決手段】平置き又は縦置き姿勢で配置される円環状のワークWを一体回転可能に保持するワーク保持部11と、ワーク保持部11と同軸配置される回転駆動源の出力軸10との間に介在し、ワーク保持部11と出力軸10とを分離可能な状態で一体回転可能に連結する連結機構9である。この連結機構9は、出力軸10の先端に固定され、水平方向の旋回軸16回りに所定量旋回可能な2つのクランパ13を保持した連結用アタッチメント12を備え、クランパ13が旋回可能範囲内で往復動することにより、クランパ13に設けた加圧部14dが、ワーク保持部11に接触しない退避位置と、ワーク保持部11を連結用アタッチメント12に対して押し付けて拘束する拘束位置との間を相互に移行する。
【選択図】図4
特許請求の範囲
【請求項1】
平置き又は縦置き姿勢で配置される断面円環状のワークを一体回転可能に保持するワーク保持部と、該ワーク保持部と同軸配置される回転駆動源の出力軸との間に介在し、前記ワーク保持部と前記出力軸とを分離可能な状態で一体回転可能に連結する連結機構であって、
前記出力軸の先端に固定され、水平方向の支軸回りに所定量旋回可能な複数のクランパを保持した連結用アタッチメントを備え、
前記クランパが旋回可能範囲内で往復動することにより、前記クランパに設けた加圧部が、前記ワーク保持部に接触しない退避位置と、前記ワーク保持部を前記連結用アタッチメントに対して押し付けて拘束する拘束位置との間を相互に移行することを特徴とする連結機構。
続きを表示(約 440 文字)
【請求項2】
前記クランパが、前記ワーク保持部を挟んで径方向で対向する二箇所に設けられ、
一方の前記クランパが旋回するのに伴って他方の前記クランパを連動して旋回させるリンク機構をさらに備える請求項1に記載の連結機構。
【請求項3】
前記クランパは、前記加圧部が前記拘束位置に位置しているとき、前記加圧部を、前記ワーク保持部を前記連結用アタッチメントに対して押し付ける方向に付勢する弾性部材を備える請求項1に記載の連結機構。
【請求項4】
平置き姿勢の前記ワークを保持する前記ワーク保持部の下方側に配置され、
前記クランパは、前記拘束位置に位置している前記加圧部よりも下方側で径方向外向きに延びたアーム部を有し、前記加圧部が前記拘束位置に位置しているときの前記アーム部の重心が前記支軸よりも下方に位置する請求項1に記載の連結機構。
【請求項5】
請求項1~4の何れか一項に記載の連結機構を備えた研削盤。
発明の詳細な説明
【技術分野】
【0001】
本発明は、連結機構に関し、より詳細には、ワークを保持するワーク保持部を回転駆動源の出力軸に対して分離可能に連結する連結機構に関する。
続きを表示(約 2,000 文字)
【背景技術】
【0002】
例えば下記の特許文献1には、断面円環状のワークの周面を研削(センタレス研削)する研削盤が記載されている。この研削盤において、研削対象のワークは、中心軸を鉛直方向に沿わせた平置き(水平)姿勢で配置され、当該ワークとその下方側に同軸配置される回転駆動源の出力軸との間に介在する断面円環状のワーク保持部(マグネットチャック)に吸引保持されるようになっている。ワーク保持部は上記出力軸に対して適宜の手段で連結されている。係る構成により、ワークの研削加工時には、ワーク、ワーク保持部及び上記出力軸がワークの中心軸回りに一体回転する。
【0003】
ワークの研削精度は、上記出力軸に対するワーク保持部の連結精度に大きく影響を受けることから、ワーク保持部は上記出力軸に対して精度良くかつ強固に連結されている必要がある。また、ワークの研削精度は、ワーク保持部によるワークの保持(支持)精度にも影響を受けるため、ワーク保持部は、保持すべきワークの形状やサイズ等に応じて交換される。以上を勘案し、ワーク保持部は、ボルトを用いて上記出力軸に対して分離可能に連結されるのが一般的である。
【先行技術文献】
【特許文献】
【0004】
特開平11-320352号公報
【発明の概要】
【発明が解決しようとする課題】
【0005】
しかしながら、上記のように、ワーク保持部がボルトを用いて回転駆動源の出力軸に対して連結されていると、ボルトの取り外し及び取り付け(再取り付け)に手間を要する分、ワーク保持部の交換作業に手間と時間を要する。この場合、研削盤のダウンタイムが長くなるという問題がある。
【0006】
かかる実情に鑑み、本発明は、平置きまたは縦置き姿勢で配置される断面円環状のワークを一体回転可能に保持するワーク保持部と、その下方に同軸配置される回転駆動源の出力軸との間に介在し、ワーク保持部と出力軸とを一体回転可能にかつ交換容易に連結することを可能にする連結機構を提供することを目的とする。
【課題を解決するための手段】
【0007】
上記の目的を達成するために創案された本発明は、平置き又は縦置き姿勢で配置される断面円環状のワークを一体回転可能に保持するワーク保持部と、このワーク保持部の下方側に同軸配置される回転駆動源の出力軸との間に介在し、ワーク保持部と出力軸とを分離可能な状態で一体回転可能に連結する連結機構であって、
上記出力軸の先端に固定され、水平方向の支軸回りに所定量旋回可能な複数のクランパを保持した連結用アタッチメントを備え、
クランパが旋回可能範囲内で往復動することにより、クランパに設けた加圧部が、ワーク保持部に接触しない退避位置と、ワーク保持部を連結用アタッチメントに対して押し付けて拘束する拘束位置との間を相互に移行することを特徴とする。
【0008】
上記の構成を有する連結機構によれば、加圧部が退避位置に位置しているクランパを水平方向の支軸(水平軸)回りに一方向に旋回させて加圧部を拘束位置に位置させると、ワーク保持部を、連結用アタッチメントを介して出力軸に連結することができる。その一方、加圧部が拘束位置に位置しているクランパを水平軸回りに他方向に旋回させて加圧部を退避位置に位置させると、ワーク保持部を出力軸(に固定された連結用アタッチメント)から分離することができる。要するに、本発明に係る連結機構によれば、水平軸回りにクランパを(所定量)旋回させるだけで出力軸に対するワーク保持部の取り付け、及び出力軸からのワーク保持部の取り外しを行うことができるので、ワーク保持部の交換作業を、専用工具等を用いることなく迅速かつ容易に実施することができる。
【0009】
また、出力軸(に対して固定された連結用アタッチメント)に対するワーク保持部の固定力は、クランパの加圧部からワーク保持部に付与される押し付け力によって左右されるところ、この押し付け力は、拘束位置に位置した加圧部とワーク保持部(の被加圧部位)との相対的な位置関係や、後述する弾性部材の付勢力によって調整することができるので、必要とされる高い固定力を適切に確保することができる。
【0010】
上記の連結機構において、クランパは、ワーク保持部を挟んで径方向で対向する二箇所に設けることができる。この場合、連結機構には、一方のクランパが旋回するのに伴って他方のクランパを連動して(同期して)旋回させるリンク機構を設けておくのが好ましい。これにより、ワーク保持部の交換作業を迅速に完了することができる。
(【0011】以降は省略されています)
この特許をJ-PlatPat(特許庁公式サイト)で参照する
関連特許
NTN株式会社
玉軸受
1か月前
NTN株式会社
焼結軸受
1か月前
NTN株式会社
軸受装置
1か月前
NTN株式会社
焼成軸受
1か月前
NTN株式会社
焼成軸受
1か月前
NTN株式会社
作業装置
1か月前
NTN株式会社
軸受装置
1か月前
NTN株式会社
密封装置
1か月前
NTN株式会社
軸受装置
1か月前
NTN株式会社
軸受装置
1か月前
NTN株式会社
荷積込装置
1か月前
NTN株式会社
転がり軸受
1か月前
NTN株式会社
転がり軸受
1か月前
NTN株式会社
ボールねじ
27日前
NTN株式会社
焼入れ方法
26日前
NTN株式会社
転がり軸受
2か月前
NTN株式会社
回転伝達装置
1か月前
NTN株式会社
シール付軸受
1か月前
NTN株式会社
回転伝達装置
1か月前
NTN株式会社
回転伝達装置
1か月前
NTN株式会社
状態監視装置
2か月前
NTN株式会社
ボールねじ装置
27日前
NTN株式会社
リンク作動装置
1か月前
NTN株式会社
車輪用軸受装置
1か月前
NTN株式会社
ボールねじ装置
27日前
NTN株式会社
円すいころ軸受
27日前
NTN株式会社
車輪用軸受装置
1か月前
NTN株式会社
軸受装置及び間座
1か月前
NTN株式会社
密封装置付き軸受
24日前
NTN株式会社
電動オイルポンプ
2か月前
NTN株式会社
状態監視システム
2か月前
NTN株式会社
等速自在継手用ブーツ
1か月前
NTN株式会社
転動部材及び転動部品
3日前
NTN株式会社
シェル形針状ころ軸受
1か月前
NTN株式会社
転がり軸受の設計方法
1か月前
NTN株式会社
ブーツ付等速自在継手
1か月前
続きを見る
他の特許を見る