TOP
|
特許
|
意匠
|
商標
特許ウォッチ
Twitter
他の特許を見る
公開番号
2025144949
公報種別
公開特許公報(A)
公開日
2025-10-03
出願番号
2024044888
出願日
2024-03-21
発明の名称
回転伝達装置
出願人
NTN株式会社
代理人
個人
,
個人
,
個人
,
個人
主分類
F16D
41/08 20060101AFI20250926BHJP(機械要素または単位;機械または装置の効果的機能を生じ維持するための一般的手段)
要約
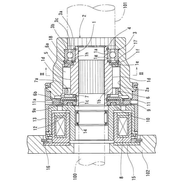
【課題】内輪のカムリング部と外輪間に複数の係合子を保持する保持器と外輪側との干渉を避けつつ、内輪の軸方向長さを短縮する。
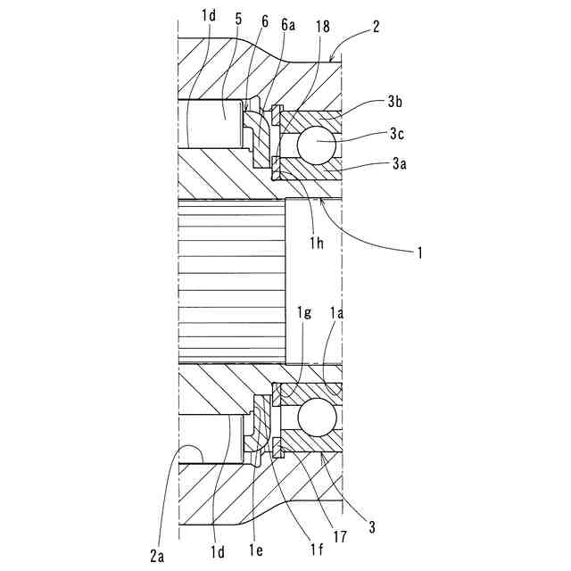
【解決手段】回転伝達装置の内輪1と外輪2間に転がり軸受3が配置される。保持器6が、カムリング部1bと内方の軌道輪3aとの間で径方向に延びる鍔部6aを有する。カムリング部1bが、鍔部6aを軸方向に受ける規制面1eと、鍔部6aを径方向に受ける保持器座面1fとを有する。鍔部6aの反規制面1e側にリング状の間座18を備える。内輪1は間座18を径方向に受けるスペーサ座面1gを有し、カムリング部1bは間座18を軸方向に受ける段差面1hを有する。間座18は段差面1hと内方の軌道輪3aとで軸方向に挟まれている。
【選択図】図1
特許請求の範囲
【請求項1】
内輪と、前記内輪を取り囲む外輪と、前記内輪と前記外輪との間に配置された転がり軸受と、回転トルクの伝達と遮断を行うクラッチ機構と、を備え、
前記転がり軸受が、内方の軌道輪と、外方の軌道輪と、これら内外の軌道輪間に配置された複数の転動体とを有し、
前記内輪が、前記内方の軌道輪に嵌め合う軸受座面と、前記軸受座面よりも大径に設けられたカムリング部とを有し、
前記クラッチ機構が、前記カムリング部と前記外輪との間に周方向に所定間隔で配置された複数の係合子と、これら係合子を保持する保持器とを有し、
前記保持器が、前記カムリング部と前記内方の軌道輪との間で径方向に延びる鍔部を有し、
前記カムリング部が、前記係合子に接触するカム面と、前記鍔部を軸方向に受ける規制面と、前記鍔部を径方向に受ける保持器座面とを有する回転伝達装置において、
前記鍔部の反規制面側に間座をさらに備え、
前記間座がリング状になっており、
前記内輪が、前記間座を径方向に受けるスペーサ座面を有し、
前記カムリング部が、前記間座を軸方向に受ける段差面を有し、
前記間座が、前記段差面と前記内方の軌道輪とで軸方向に挟まれていることを特徴とする回転伝達装置。
続きを表示(約 510 文字)
【請求項2】
前記スペーサ座面と前記軸受座面とが軸方向に連続する同一面状に形成されている請求項1に記載の回転伝達装置。
【請求項3】
前記保持器と前記外方の軌道輪との間で止め輪が前記外輪に取り付けられており、
前記間座と前記止め輪とが同一の軸方向位置に設けられている請求項1又は2に記載の回転伝達装置。
【請求項4】
前記間座が、プレス加工又はコイリング加工された単一部品からなる請求項1又は2に記載の回転伝達装置。
【請求項5】
前記クラッチ機構が、電磁石と、前記電磁石によって軸方向に吸引されるアーマチュアと、前記アーマチュアを軸方向に前記電磁石から遠ざかる方へ付勢する離反ばねとを有し、かつ前記電磁石又は前記離反ばねによる前記アーマチュアの軸方向移動に応じて前記回転トルクの伝達と遮断を切り替えるように設けられている請求項1又は2に記載の回転伝達装置。
【請求項6】
前記内輪と前記外輪のうちの少なくとも一方の輪が、車両、船舶又は建設機械の駆動系又はステアリング装置に備わる回転軸に接続されている請求項1又は2に記載の回転伝達装置。
発明の詳細な説明
【技術分野】
【0001】
この発明は、回転トルクの伝達と遮断を行う回転伝達装置に関する。
続きを表示(約 1,700 文字)
【背景技術】
【0002】
従来、内輪と外輪との間に転がり軸受と複数の係合子とが配置され、これら係合子が環状の保持器の周方向複数箇所に保持され、電磁石の励磁時又は無励磁時にその保持器が係合位置に移動させられることにより係合子を介して内輪と外輪間で回転トルクの伝達が行われ、電磁石の無励磁時又は励磁時にその保持器が解放位置に移動させられることにより前述の回転トルク伝達が遮断されるように構成された回転伝達装置がある。
【0003】
特許文献1、2に開示された回転伝達装置は、その内輪が、転がり軸受の内方の軌道輪に嵌め合う軸受座面と、軸受座面よりも大径に設けられたカムリング部とを有する。複数の係合子は、カムリング部と外輪の内周との間に配置されている。内輪は、金属によって形成されている。カムリング部は、係合子と接触するカム面を有する。このカム面の表面硬度を向上させるため、カムリング部のカム面には、浸炭等の熱処理が施されている。保持器は、周方向の複数箇所に係合子収容用のポケットを削り加工で形成すると、コスト高になるため、一般に、打ち抜き加工、絞り加工等のプレス加工によって成形された単一部品からなる。保持器は、内輪に対して軸方向及び径方向に位置決めされている。
【0004】
特許文献1の回転伝達装置の場合、保持器は、カムリング部と内方の軌道輪との間に断面L字形の鍔部を有する。カムリング部は、保持器の鍔部を軸方向に受ける規制面と、その鍔部を径方向に受ける保持器座面と、内方の軌道輪を軸方向に受ける肩端面とを有する。保持器の鍔部は、その断面L字形の軸方向辺部の先端に位置する板厚面において内方の軌道輪に軸方向に突き合う。保持器は、保持器座面で径方向に位置決めされ、カムリング部の規制面と内方の軌道輪とで軸方向に挟まれている。
【0005】
特許文献2の回転伝達装置の場合、保持器は、カムリング部と内方の軌道輪との間で径方向に延びる鍔部を有する。カムリング部は、保持器の鍔部を軸方向に受ける規制面と、その鍔部を径方向に受ける保持器座面と、内方の軌道輪を軸方向に受ける肩端面とを有する。内輪は、保持器座面と、肩端面との間の中間部位に止め輪溝部を有する。保持器は、保持器座面で径方向に位置決めされ、カムリング部の規制面と、止め輪溝部に取り付けられた止め輪とで軸方向に位置決めされる。
【先行技術文献】
【特許文献】
【0006】
特開2006-275247号公報
特開2009-216213号公報
【発明の概要】
【発明が解決しようとする課題】
【0007】
特許文献1の回転伝達装置のように、保持器の鍔部を断面L字形にプレス成形する場合、その径方向辺部から軸方向辺部に至る曲げ部でのクラックを防止するため、曲げ部の曲率半径を小さくすることが困難であること、更に、軸方向辺部の内径面において保持器案内に十分な軸方向長さを取る必要があることから、鍔部の軸方向長さが大きくなってしまう。結果的に、カムリング部の規制面と内方の軌道輪(軸受座面)間の軸方向長さが大きくなってしまう。
【0008】
特許文献2の回転伝達装置の保持器のように、径方向に延びる鍔部を採用すると、鍔部の軸方向長さを抑えることは可能である。
【0009】
しかしながら、特許文献2の回転伝達装置のように、保持器の鍔部の反規制面側に止め輪を配置する場合、内輪にあまりに薄肉部分があると前述の熱処理により薄肉部分で変形、クラックが発生するため、保持器座面や止め輪溝付近の肉厚を軸方向及び径方向に十分に確保する必要がある。したがって、止め輪溝部と肩端面間の軸方向長さを抑えることができず、やはり、カムリング部の規制面と内方の軌道輪(軸受座面)間の軸方向長さが大きくなってしまう。
【0010】
その一方、カムリング部の規制面と軸受座面間の軸方向長さを小さくし過ぎると、転がり軸受の外方の軌道輪を規制する止め輪と、保持器との間に軸方向の隙間を確保できず、内輪側の保持器と外輪側とが干渉する問題が生じてしまう。
(【0011】以降は省略されています)
この特許をJ-PlatPat(特許庁公式サイト)で参照する
関連特許
NTN株式会社
玉軸受
1か月前
NTN株式会社
軸受装置
1か月前
NTN株式会社
焼結軸受
1か月前
NTN株式会社
軸受装置
1か月前
NTN株式会社
軸受装置
1か月前
NTN株式会社
焼成軸受
1か月前
NTN株式会社
焼成軸受
1か月前
NTN株式会社
軸受装置
1か月前
NTN株式会社
密封装置
1か月前
NTN株式会社
転がり軸受
1か月前
NTN株式会社
荷積込装置
1か月前
NTN株式会社
ボールねじ
27日前
NTN株式会社
焼入れ方法
26日前
NTN株式会社
転がり軸受
1か月前
NTN株式会社
回転伝達装置
1か月前
NTN株式会社
回転伝達装置
1か月前
NTN株式会社
ボールねじ装置
27日前
NTN株式会社
リンク作動装置
1か月前
NTN株式会社
ボールねじ装置
27日前
NTN株式会社
車輪用軸受装置
1か月前
NTN株式会社
円すいころ軸受
27日前
NTN株式会社
軸受装置及び間座
1か月前
NTN株式会社
密封装置付き軸受
24日前
NTN株式会社
等速自在継手用ブーツ
1か月前
NTN株式会社
転動部材及び転動部品
3日前
NTN株式会社
ブーツ付等速自在継手
1か月前
NTN株式会社
転がり軸受の設計方法
1か月前
NTN株式会社
シェル形針状ころ軸受
1か月前
NTN株式会社
軸受装置および機械装置
1か月前
NTN株式会社
環状部品の抜け止め構造
27日前
NTN株式会社
等速自在継手の外側継手部材
1か月前
NTN株式会社
連結機構及びこれを備えた研削盤
1か月前
NTN株式会社
軸受装置および異常検知システム
1か月前
NTN株式会社
軸受装置および異常検知システム
1か月前
NTN株式会社
転がり軸受の耐電食性能評価方法
1か月前
NTN株式会社
転がり軸受の耐電食性能評価方法
1か月前
続きを見る
他の特許を見る