TOP
|
特許
|
意匠
|
商標
特許ウォッチ
Twitter
他の特許を見る
10個以上の画像は省略されています。
公開番号
2025139362
公報種別
公開特許公報(A)
公開日
2025-09-26
出願番号
2024038257
出願日
2024-03-12
発明の名称
基板
出願人
NTN株式会社
代理人
個人
,
個人
,
個人
,
個人
,
個人
主分類
H05K
1/02 20060101AFI20250918BHJP(他に分類されない電気技術)
要約
【課題】応力緩和構造を備える、電子部品が実装される基板を提供する。
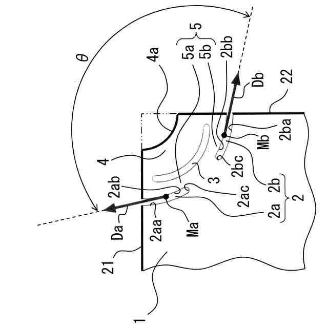
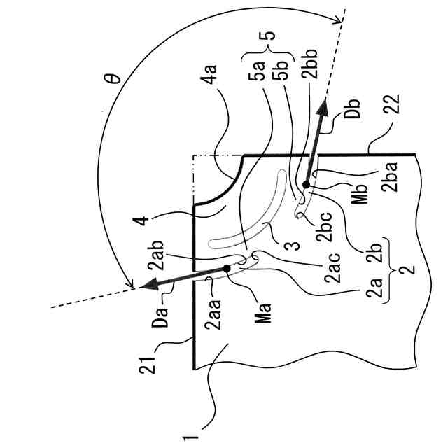
【解決手段】応力緩和構造を備える、電子部品7が実装される基板1は、基板1の外辺21、22近傍の少なくとも1つの取付点Pの近傍領域に設けられて支持部材11に取り付けられる取付部4を有し、前記取付部4の近傍に、前記取付点Pの両側の外辺近傍部に前記外辺21、22から前記基板の内方に進入し、前記基板1を厚さ方向に貫通する少なくとも1対の切欠部2a、2bと、前記1対の切欠部2a、2bの進入端部2ac、2bcの近傍に1つ以上の貫通部3と、を備え、前記少なくとも1対の切欠部2a、2bと、前記貫通部3との間に、2つの接続部5a、5bを有し、前記2つの接続部5a、5bの延在方向がなす角度θは、180度以下であり、前記角度θの範囲内に前記取付点Pが含まれる。
【選択図】図2
特許請求の範囲
【請求項1】
電子部品が実装される基板の外辺近傍の少なくとも1つの取付点の近傍領域に設けられて支持部材に取り付けられる取付部を有し、
前記取付部の近傍に、
前記取付部と接する2辺の前記外辺から前記基板の内方に進入し、前記基板を厚さ方向に貫通する少なくとも1対の切欠部と、
前記1対の切欠部の進入端部の近傍に1つ以上の貫通部と、を備え、
前記少なくとも1対の切欠部と、前記貫通部との間に、2つの接続部を有し、
前記2つの接続部の延在方向がなす角度は、180度以下であり、
前記角度は、前記角度を形成する弧が、前記取付点を含むように定められる、
基板。
続きを表示(約 380 文字)
【請求項2】
請求項1に記載の基板において、
前記取付部は、前記基板の外辺が切り欠かれることによって形成され、
前記基板が、前記取付部に接触する留め具によって、前記支持部材に固定されている、基板。
【請求項3】
請求項2に記載の基板において、前記留め具が、ねじ止め、熱かしめ、または圧着によって固定されている、基板。
【請求項4】
請求項1ないし3のいずれか一項に記載の基板において、さらに、前記切欠部および前記貫通部を近傍に有しない前記基板上の位置において、前記基板が前記支持部材に固定される、基板。
【請求項5】
請求項1ないし3のいずれか一項に記載の基板において、前記支持部材が変形した際に前記支持部材から前記基板に作用する力の一部または全部が、前記取付部を通じて作用する、基板。
発明の詳細な説明
【技術分野】
【0001】
本発明は、電子部品を表面に実装する基板に生じる応力を緩和する構造を備えた基板に関する。
続きを表示(約 2,300 文字)
【背景技術】
【0002】
車両において、電動アクチュエータ等の、機電一体型の電動モータを備える機器を制御するために、電子基板が組み付けられた電子制御ユニットが用いられる。電子基板の表面には、電子部品がはんだ付け等で固定されることによって実装されるとともに、銅箔による配線パターンが配置されて、電子回路が形成される。
【0003】
基板を電子制御ユニットの筐体のような支持部材に取り付ける工程において、基板の複数の箇所が支持部材に固定されると、基板の表面に応力が生じて電子部品に作用し得る。また、基板が動作する環境における温度変化によっても、応力が生じ得る。電子基板が高温環境に置かれると、過熱された基板および基板の表面に実装された電子部品は、それぞれ面方向に熱膨張し、基板および電子部品の熱膨張の度合いは、それぞれの物理的特性である線膨張係数に依存する。基板の表面に実装される電子部品は、IC(集積回路)、ダイオード、チップ抵抗器、チップコンデンサ等がある。表面実装基板として用いられるガラスエポキシ基板の線膨張係数は、電子部品、特にチップ抵抗器やチップコンデンサ、の線膨張係数よりも10倍程度大きいので、基板は電子部品よりも大きく変形する。熱膨張による変形の影響は、例えばチップ抵抗器を基板に固定するはんだ接合部に生じる引張応力として現れ、発生した応力は、はんだ接合部に亀裂、破断等を生じさせる。同様に、基板が低温環境に置かれた際には、はんだ接合部に圧縮応力が生じ、はんだ接合部に亀裂、破断等を生じさせる。さらに、基板が高温環境と低温環境とが繰り返されるヒートサイクル環境におかれると、引張および圧縮応力によってはんだ接合部が熱疲労を受け、亀裂、破断等がさらに生じやすくなる。
【0004】
これに対し、基板に貫通孔を設けることで、応力を緩和する構造が提案されている(特許文献1)。特許文献1における表面実装基板は、図6に示すように、基板101上の電子部品104、105の基板接合部106、107の近傍に、円形または長円形の貫通孔111が設けられ、基板101の4つの角部をねじ止め固定する固定ねじ装着部115の近傍に、長円形の貫通孔116が設けられることによって、応力を緩和する構造を有する。
【先行技術文献】
【特許文献】
【0005】
特開2013-239470号公報
【発明の概要】
【発明が解決しようとする課題】
【0006】
しかしながら、図6の電子部品の表面実装基板101において、固定ねじ装着部115で発生する応力を分断するための貫通孔116は、固定ねじ装着部115で固定ねじを締め付ける際に生じる応力を緩和するものであるので、高温環境と低温環境とが数千回程度も繰り返されるヒートサイクルにおいて、筐体からの熱伝達により基板に生じる応力を緩和するには不十分である。また、基板上のさまざまな箇所に位置する電子部品104、105のそれぞれの近傍位置に貫通孔を設ける必要があり、基板上の電子部品104、105の実装可能面積が小さくなるので、基板上に形成される電子回路が必要とする電子部品104、105を実装するためには、基板のサイズが必然的に大きくなる。さらに、基板が多数の貫通孔を有すると、基板上の配線パターンが、貫通孔111、116を避けるような設計に制限されるので、信号の誤伝達やEMC(電磁両立性)性能の低下という問題が生じる。
【0007】
本発明の目的は、熱衝撃により基板に生じる応力を緩和して、基板表面に実装される電子部品の接合異常の発生および進行を抑制するとともに、基板上の電子部品の実装自由度を確保することができる、基板を提供することである。
【課題を解決するための手段】
【0008】
前記課題を解決するために、本発明の電子部品7が実装される基板1は、実施形態の符号を付して説明すると、基板1の外辺21、22近傍の少なくとも1つの取付点Pの近傍領域に設けられて支持部材11に取り付けられる取付部4を有し、前記取付部4の近傍に、前記取付点Pの両側の外辺近傍部に前記外辺21、22から基板内方に進入し、前記基板1を厚さ方向に貫通する少なくとも1対の切欠部2a、2bと、前記1対の切欠部2a、2bの進入端部2ac、2bcの近傍に1つ以上の貫通部3と、を備え、前記少なくとも1対の切欠部2a、2bと、前記貫通部3との間に、2つの接続部5a、5bを有し、前記2つの接続部5a、5bの延在方向Da、Dbがなす角度θは、180度以下であり、前記角度θの範囲内に前記取付点Pが含まれる。
【0009】
この構成によると、(i)基板1が加熱されて膨張し、または冷却されて収縮するときに生じる応力、(ii)基板1を支持部材11に取り付けるときに生じる応力、および、(iii)基板1が取り付けられた支持部材11が加熱されて膨張し、または冷却されて収縮するときに基板1に生じる応力を、1対の切欠部2a、2bおよび貫通孔3の近傍に位置する接続部5a、5bが容易に変形することによって、基板平面上の任意の方向の応力に対して緩和可能となるので、基板上に実装された電子部品7、特に電子部品7の接合部に、不具合が生じるおそれを減じることができる。
【0010】
本発明の基板1において、前記取付部4は、前記基板1の外辺21、22が切り欠かれることによって形成され、前記基板1が、前記取付部4に接触する留め具6Aによって、支持部材11に固定されていてもよい。
(【0011】以降は省略されています)
この特許をJ-PlatPat(特許庁公式サイト)で参照する
関連特許
NTN株式会社
等速自在継手用ブーツ
11日前
NTN株式会社
ブーツ付等速自在継手
11日前
NTN株式会社
軸受装置および機械装置
11日前
NTN株式会社
等速自在継手の外側継手部材
11日前
個人
電子部品の実装方法
20日前
個人
非衝突型ガウス加速器
2か月前
日本精機株式会社
回路基板
1か月前
個人
電気式バーナー
4日前
愛知電機株式会社
装柱金具
12日前
個人
節電材料
2か月前
アイホン株式会社
電気機器
1か月前
アイホン株式会社
電気機器
2か月前
イビデン株式会社
配線基板
13日前
日本放送協会
基板固定装置
1か月前
キヤノン株式会社
電子機器
1か月前
メクテック株式会社
配線基板
1か月前
マクセル株式会社
配列用マスク
3か月前
東レ株式会社
霧化状活性液体供給装置
1か月前
株式会社デンソー
電子装置
13日前
イビデン株式会社
配線基板
2か月前
トキコーポレーション株式会社
照明器具
3か月前
イビデン株式会社
プリント配線板
1か月前
イビデン株式会社
プリント配線板
2か月前
FDK株式会社
基板
19日前
株式会社レクザム
剥離装置
12日前
サクサ株式会社
開き角度規制構造
11日前
イビデン株式会社
配線基板
1か月前
サクサ株式会社
筐体の壁掛け構造
1か月前
日産自動車株式会社
電子部品
1か月前
株式会社レゾナック
冷却装置
19日前
オムロン株式会社
端子折り曲げ治具
22日前
新電元工業株式会社
電子装置
1か月前
株式会社電気印刷研究所
金属画像形成方法
3か月前
富士フイルム株式会社
積層体
13日前
株式会社電気印刷研究所
金属画像形成方法
3か月前
新電元工業株式会社
充電装置
3か月前
続きを見る
他の特許を見る