TOP
|
特許
|
意匠
|
商標
特許ウォッチ
Twitter
他の特許を見る
公開番号
2025136268
公報種別
公開特許公報(A)
公開日
2025-09-19
出願番号
2024034634
出願日
2024-03-07
発明の名称
軸受装置
出願人
NTN株式会社
代理人
個人
,
個人
,
個人
,
個人
,
個人
主分類
F16C
25/08 20060101AFI20250911BHJP(機械要素または単位;機械または装置の効果的機能を生じ維持するための一般的手段)
要約
【課題】寸法合わせ加工を行うことなく予圧調整が可能な軸受装置を提供する。
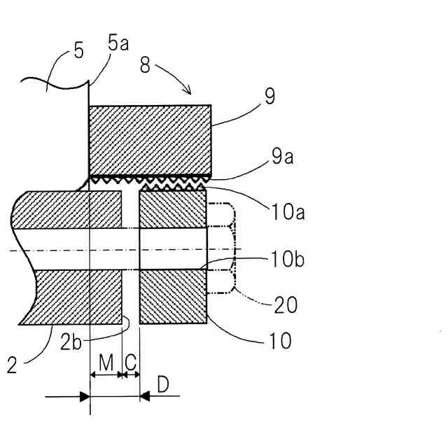
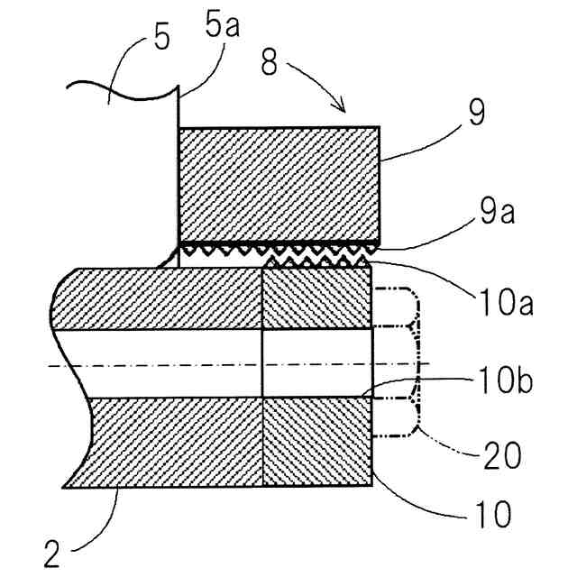
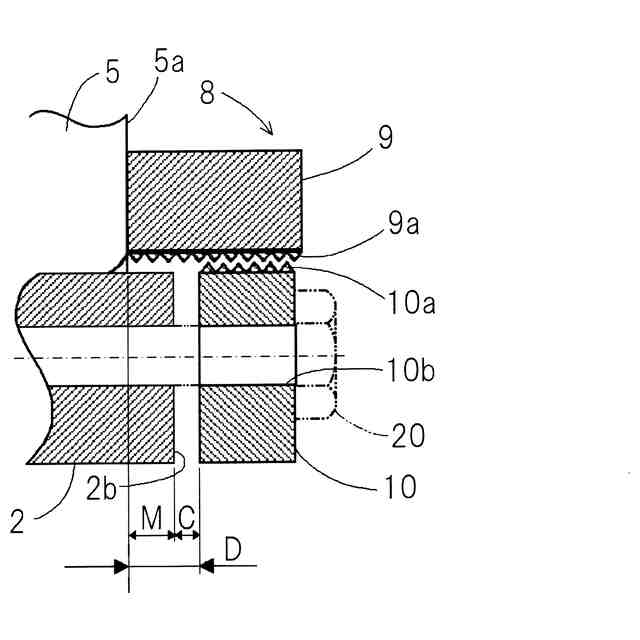
【解決手段】この軸受装置(1)は、軸受(4)と、前記軸受(4)の内輪(5)と接触して軸方向の一方側へ予圧を付与する押さえ部材(8)とを備えている。前記押さえ部材(8)は、軸体(2)に固定される固定部(10)と調整部(9)とを有し、前記調整部(9)と前記固定部(10)は、前記調整部(9)の内径面および前記固定部(10)の外径面に形成されたねじ部(9a,10a)により連結され、前記調整部(9)と前記固定部(10)とのねじ回転により軸方向の段差(D)が調整可能である。
【選択図】図4A
特許請求の範囲
【請求項1】
軸体を支持する軸受装置であって、
軸受と、
前記軸受の内輪と接触して軸方向の一方側へ予圧を付与する押さえ部材とを備え、
前記押さえ部材は、
前記軸体に固定される固定部と調整部とを有し、
前記調整部と前記固定部は、前記調整部の内径面および前記固定部の外径面に形成されたねじ部により連結され、
前記調整部と前記固定部とのねじ回転により軸方向の段差が調整可能である、
軸受装置。
続きを表示(約 410 文字)
【請求項2】
請求項1に記載の軸受装置において、前記軸体と前記押さえ部材の熱膨張係数が10~15×10
-6
/℃である軸受装置。
【請求項3】
請求項1または2に記載の軸受装置において、前記押さえ部材の材料が機械構造用炭素鋼である軸受装置。
【請求項4】
請求項1または2に記載の軸受装置において、前記調整部および前記固定部の前記ねじ部のねじが細目ねじである軸受装置。
【請求項5】
請求項1または2に記載の軸受装置において、前記調整部の端面または外径面に回転治具を挿入するための穴が形成されている軸受装置。
【請求項6】
請求項1または2に記載の軸受装置において、前記押さえ部材が前記固定部の前記ねじ部に螺合されて前記調整部の軸方向位置を固定する位置止め部材を有し、前記位置止め部材の内径面にねじ部が形成されている軸受装置。
発明の詳細な説明
【技術分野】
【0001】
本発明は、寸法合わせ加工を行うことなく予圧調整が可能な押さえ部材を備える軸受装置に関する。
続きを表示(約 1,200 文字)
【背景技術】
【0002】
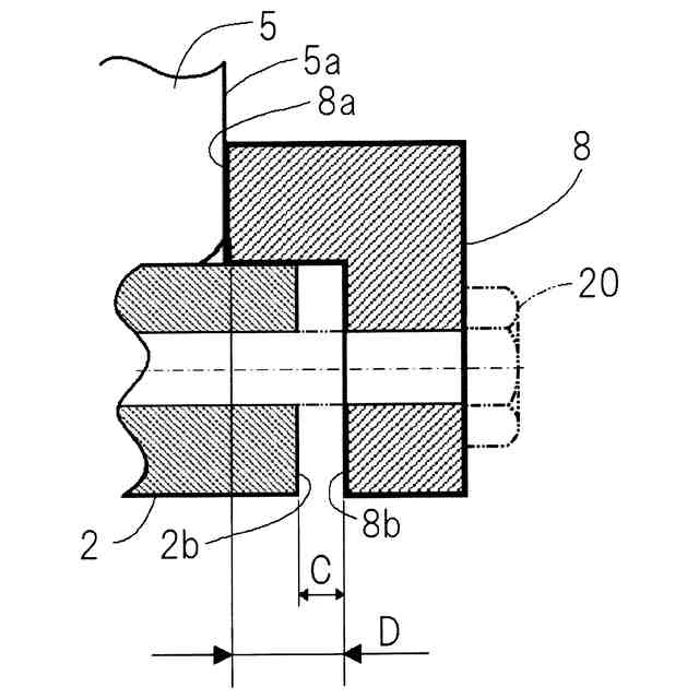
軸受装置全体の剛性を高める方法として、軸受に軸方向の予圧を付与する方法が一般的に行われている。軸受に予圧を与える手段として、軸体に固定される内輪押さえ蓋を設ける方法がある(例えば特許文献1)。
【先行技術文献】
【特許文献】
【0003】
欧州特許第2710271号明細書
【発明の概要】
【発明が解決しようとする課題】
【0004】
特許文献1では、蓋の押し込み量で予圧の大きさを制御するため、同じ機種の組立品に蓋を設ける場合、蓋の押し込み量を同じにする必要がある。しかしながら、組立品の各部品の寸法精度や組立精度にばらつきがあるため、組立中の関連寸法を測定し、その測定結果に合わせて蓋の寸法合わせ加工を行わなければならない。蓋の寸法合わせ加工中は、組立待機状態となるため、組み立て効率が低下するという問題があった。
【0005】
本発明は、上記課題を解決するためになされたものであって、寸法合わせ加工を行うことなく予圧調整が可能な押さえ蓋と呼ばれる押さえ部材を備えることで、組立中の待機時間を大幅に削減できる軸受装置を提供することを目的とする。
【課題を解決するための手段】
【0006】
上記目的を達成するために、本発明に係る軸受装置は、軸体を支持する軸受装置であって、軸受と、前記軸受の内輪と接触して軸方向の一方側へ予圧を付与する押さえ部材とを備え、前記押さえ部材は、前記軸体に固定される固定部と調整部とを有し、前記調整部と前記固定部は、前記調整部の内径面および前記固定部の外径面に形成されたねじ部により連結され、前記調整部と前記固定部とのねじ回転により軸方向の段差が調整可能である。ここで、前記段差とは、押さえ部材における内輪への当接面と、軸体への当接面との間の軸方向寸法をいう。
【0007】
この構成によれば、寸法合わせ加工を行うことなく、調整部の内径面および固定部の外径面に形成されたねじ部のねじ回転により軸方向の段差を調整することで前記押さえ部材の押し込み量を調整することができるので、組立中の待機時間を大幅に削減できる。
【0008】
本発明の軸受装置において、前記軸体と前記押さえ部材の熱膨張係数が10~15×10
-6
/℃であっても良い。
【0009】
この構成によれば、軸受装置の温度上の稼働条件変化に伴って必要以上に予圧が増大したり、あるいは予圧が低下し過ぎたりすることを防止することができる。すなわち、軸受予圧を適正に維持することができる。
【0010】
本発明の軸受装置において、前記押さえ部材の材料が機械構造用炭素鋼であっても良い。
(【0011】以降は省略されています)
この特許をJ-PlatPat(特許庁公式サイト)で参照する
関連特許
NTN株式会社
焼成軸受
13日前
NTN株式会社
焼成軸受
13日前
NTN株式会社
焼入れ方法
今日
NTN株式会社
ボールねじ
1日前
NTN株式会社
ボールねじ装置
1日前
NTN株式会社
ボールねじ装置
1日前
NTN株式会社
円すいころ軸受
1日前
NTN株式会社
等速自在継手用ブーツ
26日前
NTN株式会社
ブーツ付等速自在継手
26日前
NTN株式会社
転がり軸受の設計方法
6日前
NTN株式会社
軸受装置および機械装置
26日前
NTN株式会社
環状部品の抜け止め構造
1日前
NTN株式会社
等速自在継手の外側継手部材
26日前
NTN株式会社
転がり軸受の耐電食性能評価方法
6日前
NTN株式会社
転がり軸受の耐電食性能評価方法
6日前
NTN株式会社
損傷状態診断システムおよび損傷状態診断方法
8日前
NTN株式会社
車輪用軸受装置
6日前
個人
留め具
22日前
個人
鍋虫ねじ
2か月前
個人
紛体用仕切弁
2か月前
個人
回転伝達機構
3か月前
個人
差動歯車用歯形
4か月前
個人
給排気装置
29日前
個人
ジョイント
1か月前
個人
地震の揺れ回避装置
3か月前
個人
ナット
1か月前
株式会社不二工機
電磁弁
4か月前
個人
ナット
今日
個人
吐出量監視装置
2か月前
柿沼金属精機株式会社
分岐管
2か月前
カヤバ株式会社
緩衝器
28日前
カヤバ株式会社
緩衝器
4か月前
カヤバ株式会社
ダンパ
4か月前
カヤバ株式会社
緩衝器
4か月前
兼工業株式会社
バルブ
1日前
カヤバ株式会社
ダンパ
4か月前
続きを見る
他の特許を見る