TOP
|
特許
|
意匠
|
商標
特許ウォッチ
Twitter
他の特許を見る
公開番号
2025129694
公報種別
公開特許公報(A)
公開日
2025-09-05
出願番号
2024026508
出願日
2024-02-26
発明の名称
軸受用保持器
出願人
NTN株式会社
代理人
個人
,
個人
,
個人
,
個人
主分類
F16C
33/41 20060101AFI20250829BHJP(機械要素または単位;機械または装置の効果的機能を生じ維持するための一般的手段)
要約
【課題】オイル潤滑環境下で高速回転する場合において、転動体と保持器のポケット間の潤滑環境を安定化させる。
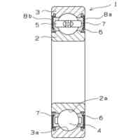
【解決手段】内輪3及び外輪4と、内輪3と外輪4との間に配置される複数の玉5とを備えた転がり軸受に用いられ、円環部12と、円環部12から軸受の軸方向へ突出する複数の柱部13とを備え、軸受の周方向に隣り合う柱部13,13間に玉5を保持するポケット11を備えた軸受用保持器において、ポケット11の底部Fにおける軸方向最小肉厚t1は、玉5の直径φXの0.15倍以上、0.25倍以下に設定され、且つ、周方向に隣り合うポケット11,11間に柱部13が介在しない中間部16を備え、中間部16は柱部13,13間に位置しており、中間部16の軸方向最小肉厚t2は、玉5の直径φXの0.28倍以上、0.38倍以下に設定されている軸受用保持器とした。
【選択図】図1
特許請求の範囲
【請求項1】
内輪(3)及び外輪(4)と、前記内輪(3)と前記外輪(4)との間に配置される複数の玉(5)とを備えた転がり軸受に用いられ、円環部(12)と、前記円環部(12)から軸方向へ突出する複数の柱部(13)とを備え、周方向に隣り合う前記柱部(13,13)間に前記玉(5)を保持するポケット(11)を備えた軸受用保持器において、
前記ポケット(11)の底部(F)における軸方向最小肉厚(t1)は、前記玉(5)の直径(φX)の0.15倍以上、0.25倍以下に設定され、且つ、周方向に隣り合う前記ポケット(11,11)間に前記柱部(13)が介在しない中間部(16)を備え、前記中間部(16)は前記柱部(13,13)間に位置しており、前記中間部(16)の軸方向最小肉厚(t2)は、前記玉(5)の直径(φX)の0.28倍以上、0.38倍以下に設定されている軸受用保持器。
続きを表示(約 670 文字)
【請求項2】
前記円環部(12)及び前記柱部(13)は、強化材としてカーボンファイバ又はグラスファイバを含有した樹脂材で一体に成形されている請求項1に記載の軸受用保持器。
【請求項3】
前記円環部(12)及び前記柱部(13)は、エンジニアリングプラスチックで一体に成形されている請求項1に記載の軸受用保持器。
【請求項4】
内輪(3)及び外輪(4)と、前記内輪(3)と前記外輪(4)との間に配置される複数の玉(5)とを備え、前記玉(5)を請求項1から3のいずれか一つに記載の軸受用保持器で保持した転がり軸受。
【請求項5】
内輪(3)及び外輪(4)と、前記内輪(3)と前記外輪(4)との間に配置される複数の玉(5)とを備え、前記玉(5)を請求項1から3のいずれか一つに記載の軸受用保持器で保持した転がり軸受を、自動車用の駆動用モータの駆動力が伝達されるモータ軸、増速機軸又は減速機軸の支持に適用した車両用軸受装置。
【請求項6】
内輪(3)及び外輪(4)と、前記内輪(3)と前記外輪(4)との間に配置される複数の玉(5)とを備え、前記玉(5)を請求項1から3のいずれか一つに記載の軸受用保持器で保持した転がり軸受を、
dmn={(D+d)/2}×n
D:外輪(4)外径(mm)
d:内輪(3)内径(mm)
n:回転速度(min-1)
で規定されるdmn値が70万以上となるような高速条件下での軸の支持に適用した車両用軸受装置。
発明の詳細な説明
【技術分野】
【0001】
この発明は、転がり軸受に用いられる軸受用保持器、及び、その保持器を備えた転がり軸受、その転がり軸受を用いた車両用軸受装置に関するものである。
続きを表示(約 1,400 文字)
【背景技術】
【0002】
転動体として玉(ボール)を用いた玉軸受では、樹脂製の冠型保持器が用いられる場合がある。冠型保持器は、円環部と、その円環部から軸受の軸方向へ向かって突出する複数の柱部(突出部)を備え、柱部の突出側端が玉を保持する爪部となっているものが一般的である。
【0003】
ところで、電気自動車(EV)やハイブリッドカー(HEV)等の普及に伴って、従来よりも高速回転に対応した転がり軸受が求められている。転がり軸受を高速回転で使用する場合、遠心力の増大に伴って保持器の変形が大きくなる傾向がある。保持器の変形が大きいと、過酷な使用条件の場合に保持器が転動体や外輪に干渉して、摩耗粉の発生や異常発熱につながるおそれがある。
【0004】
そこで、例えば、特許文献1では、保持器のポケットの内面と転動体との間にグリース溜まり(流入路)を設けるとともに、ポケットとポケットの間の部位において、保持器の軸方向肉厚を薄くする肉抜きを行っている。これにより、高速回転時の保持器の遠心力変形を抑制するとともに、グリースの潤滑状態の改善を図っている。
【先行技術文献】
【特許文献】
【0005】
特許第6608151号公報
【発明の概要】
【発明が解決しようとする課題】
【0006】
ところで、近年では駆動モータ、増速機又は減速機を一体化させた駆動ユニットが広く普及している。これらの駆動ユニットではオイル潤滑が主流であり、モータ軸を支持する転がり軸受も増速機又は減速機内のオイルで潤滑される傾向にある。
【0007】
特許文献1では、高速回転時における保持器の変形の抑制、及び、グリース潤滑の状態の改善を図ることができる。しかし、この保持器をオイル潤滑に用いた場合、グリース溜まり(流入路)では潤滑油を保持することができず、グリース溜まり(流入路)の先端と転動体がエッジ当たりする傾向がある。このため、使用条件によっては、転動体と保持器のポケット間で油膜切れを起こして異常発熱や摩耗等に繋がる懸念がある。
【0008】
そこで、この発明の課題は、オイル潤滑環境下で高速回転する場合において、転動体と保持器のポケット間の潤滑環境を安定化させることである。
【課題を解決するための手段】
【0009】
上記の課題を解決するため、この発明は、内輪及び外輪と、前記内輪と前記外輪との間に配置される複数の玉とを備えた転がり軸受に用いられ、円環部と、前記円環部から軸方向へ突出する複数の柱部とを備え、周方向に隣り合う前記柱部間に前記玉を保持するポケットを備えた軸受用保持器において、前記ポケットの底部における軸方向最小肉厚は、前記玉の直径の0.15倍以上、0.25倍以下に設定され、且つ、周方向に隣り合う前記ポケット間に前記柱部が介在しない中間部を備え、前記中間部は前記柱部間に位置しており、前記中間部の軸方向最小肉厚は、前記玉の直径の0.28倍以上、0.38倍以下に設定されている軸受用保持器とした(構成1)。
【0010】
構成1を備えた態様において、前記円環部及び前記柱部は、強化材としてカーボンファイバ又はグラスファイバを含有した樹脂材で一体に成形されている構成を採用できる(構成2)。
(【0011】以降は省略されています)
この特許をJ-PlatPat(特許庁公式サイト)で参照する
関連特許
NTN株式会社
ハンド
27日前
NTN株式会社
玉軸受
19日前
NTN株式会社
焼成軸受
5日前
NTN株式会社
軸受装置
19日前
NTN株式会社
把持装置
27日前
NTN株式会社
把持装置
27日前
NTN株式会社
作業装置
25日前
NTN株式会社
焼成軸受
5日前
NTN株式会社
軸受装置
19日前
NTN株式会社
密封装置
25日前
NTN株式会社
焼結軸受
19日前
NTN株式会社
軸受装置
19日前
NTN株式会社
軸受装置
19日前
NTN株式会社
転がり軸受
19日前
NTN株式会社
転がり軸受
27日前
NTN株式会社
荷積込装置
20日前
NTN株式会社
転がり軸受
20日前
NTN株式会社
回転伝達装置
20日前
NTN株式会社
回転伝達装置
25日前
NTN株式会社
回転伝達装置
20日前
NTN株式会社
状態監視装置
26日前
NTN株式会社
シール付軸受
25日前
NTN株式会社
リンク作動装置
21日前
NTN株式会社
モータユニット
29日前
NTN株式会社
車輪用軸受装置
20日前
NTN株式会社
車輪用軸受装置
25日前
NTN株式会社
保持器付きころ
29日前
NTN株式会社
状態監視システム
26日前
NTN株式会社
電動オイルポンプ
26日前
NTN株式会社
軸受装置及び間座
20日前
NTN株式会社
電食防止転がり軸受
29日前
NTN株式会社
細胞配置の制御方法
29日前
NTN株式会社
ブーツ付等速自在継手
18日前
NTN株式会社
等速自在継手用ブーツ
18日前
NTN株式会社
シェル形針状ころ軸受
21日前
NTN株式会社
流量制御バルブ用シール
27日前
続きを見る
他の特許を見る