TOP
|
特許
|
意匠
|
商標
特許ウォッチ
Twitter
他の特許を見る
公開番号
2025143155
公報種別
公開特許公報(A)
公開日
2025-10-01
出願番号
2024042934
出願日
2024-03-18
発明の名称
流量制御バルブ用シール
出願人
NTN株式会社
代理人
個人
,
個人
,
個人
主分類
F16J
15/18 20060101AFI20250924BHJP(機械要素または単位;機械または装置の効果的機能を生じ維持するための一般的手段)
要約
【課題】流量制御バルブ装置において、シールリングを別途用いた従来品と同等のシール性を維持しつつ、組付け性を向上させることができる流量制御バルブ用シールを提供する。
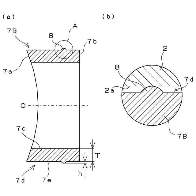
【解決手段】シール7Bは、流量制御バルブ装置に用いられ、ハウジング内にて導入部または吐出部の内周面に装着されて、ロータの外周面に摺接する流量制御バルブ用シールであって、外周面7dに、導入部または吐出部の内周面に嵌合されるとともに、シール7Bの外周面7dと内周面2aとの隙間を封止する凸部8が、シール本体と同一材料で一体に設けられており、曲げ弾性率が400MPa~1200MPaの合成樹脂で形成される。
【選択図】図2
特許請求の範囲
【請求項1】
流体の導入部および吐出部を有するハウジングと、前記ハウジングの内部に設けられ、球状または円筒状の外周面を有し、前記ハウジングに対して回転するロータとを備える流量制御バルブ装置に用いられ、
前記ハウジング内にて前記導入部または前記吐出部の内周面に装着されて、前記ロータの外周面に摺接する流量制御バルブ用シールであって、
前記流量制御バルブ用シールの外周面に、前記導入部または前記吐出部の内周面に嵌合されるとともに、前記流量制御バルブ用シールの外周面と前記内周面との隙間を封止する凸部が、シール本体と同一材料で一体に設けられており、
前記流量制御バルブ用シールは、曲げ弾性率が400MPa~1200MPaの合成樹脂で形成されることを特徴とする流量制御バルブ用シール。
続きを表示(約 490 文字)
【請求項2】
前記材料は、テトラフルオロエチレン-パーフルオロアルキルビニルエーテル共重合体樹脂、テトラフルオロエチレン-ヘキサフルオロプロピレン共重合体樹脂、およびテトラフルオロエチレン-エチレン共重合体樹脂から選ばれる少なくとも1つの樹脂をベース樹脂とする樹脂組成物からなり、曲げ弾性率が400MPa~950MPaであることを特徴とする請求項1記載の流量制御バルブ用シール。
【請求項3】
前記凸部は、周方向に沿って延びる一条の環状凸部であり、その断面形状が円弧状であることを特徴とする請求項1または請求項2記載の流量制御バルブ用シール。
【請求項4】
前記環状凸部の突出高さは、前記流量制御バルブ用シールの径方向厚みに対して3%~10%であることを特徴とする請求項3記載の流量制御バルブ用シール。
【請求項5】
前記流量制御バルブ用シールは円筒形状であり、前記ロータの外周面に摺接する軸方向一方の端面が前記ロータの外周面に沿った円弧状曲面で形成されていることを特徴とする請求項1または請求項2記載の流量制御バルブ用シール。
発明の詳細な説明
【技術分野】
【0001】
本発明は、流体の流量および流路を調整する流量制御バルブ装置に用いられる流量制御バルブ用シールに関する。
続きを表示(約 2,100 文字)
【背景技術】
【0002】
従来、自動車には、冷却水を循環させてエンジンを冷却するための循環流路が設けられているが、自動車の電動化が進む中で、より熱マネジメントが重要視されており、エンジンだけではなく、モータなどの冷却にも冷却水を利用する動きが高まっている。冷却水の循環流路は、複数の流路を有しており、この循環流路内には、冷却水の流量を制御する流量制御バルブ装置が配置され、このバルブ装置によって、各流路の冷却水の流量などが調整される。
【0003】
流量制御バルブ装置として、例えば特許文献1には、ロータと、ロータの外周面と摺接するシール部材(流量制御バルブ用シール)と、該シール部材を押し付ける付勢部材と、ロータを回転させる駆動機構とを備える装置が開示されている。特許文献1では、シール部材として、ロータの外周面と摺接する先端の当接面が、ロータの円筒状の外周面に沿った円弧状曲面に形成され、更にロータの回転方向で見て当接面を形成する円弧状曲面の少なくとも前側端、或いは後側端に、ロータの外周面と非接触となる非接触部を形成して稜線部が形成されているシール部材が開示されている。
【0004】
また、特許文献2には、冷却水を受け入れる導入部、及び、冷却水を送り出す吐出部を有するハウジングと、ハウジングの内部に設けられ、球状または円筒状の外周面を有し、ハウジングに対して回転する樹脂製のロータと、ハウジング内にてロータと導入部または吐出部との間に設けられ、ロータの外周面に摺接する環状の流量制御バルブ用シールとを備える流量制御バルブ装置が開示されている。特許文献2では、流量制御バルブ用シールが射出成形可能なフッ素樹脂をベース樹脂とする樹脂組成物の射出成形体であり、フッ素樹脂がテトラフルオロエチレン-パーフルオロアルキルビニルエーテル共重合体(PFA)樹脂、テトラフルオロエチレン-ヘキサフルオロプロピレン共重合体(FEP)樹脂、およびテトラフルオロエチレン-エチレン共重合体(ETFE)樹脂から選ばれる少なくとも1つの樹脂であることが開示されている。
【先行技術文献】
【特許文献】
【0005】
特開2018―179122号公報
特開2020-106149号公報
【発明の概要】
【発明が解決しようとする課題】
【0006】
特許文献1、2に記載されている流量制御バルブ装置では、ハウジングの流路の内周面に流量制御バルブ用シールが装着されている。そして、流量制御バルブ用シールの外周面にはシールリング取付溝が形成されており、その溝内に、シールリングが収納され、流量制御バルブ用シールとハウジングとの隙間が封止される。例えば、特許文献1ではシールリングとしてXリングが用いられ、特許文献2ではOリングが用いられている。
【0007】
このように、従来の流量制御バルブ装置では、流量制御バルブ用シールとハウジングとの隙間を封止するためにシールリングが用いられている。そのため、部品点数や組付け工数が増え、コスト高の要因となっている。また、組付け時にハウジングの入口部や内周面とシールリングが干渉するため、ねじれや脱落などの組付け不良が発生しやすくなる。組付け性が悪いと、仮にシールリングがシール溝内に収納されたとしても、ロータと流量制御バルブ用シールのシール面とが適正に接触されず、それらの隙間から流体が漏れるおそれがある。
【0008】
本発明はこのような事情に鑑みてなされたものであり、流量制御バルブ装置において、シールリングを別途用いた従来品と同等のシール性を維持しつつ、組付け性を向上させることができる流量制御バルブ用シールを提供することを目的とする。
【課題を解決するための手段】
【0009】
本発明の流量制御バルブ用シール(以下、単に「シール」ともいう。)は、流体の導入部および吐出部を有するハウジングと、上記ハウジングの内部に設けられ、球状または円筒状の外周面を有し、上記ハウジングに対して回転するロータとを備える流量制御バルブ装置に用いられ、上記ハウジング内にて上記導入部または上記吐出部の内周面に装着されて、上記ロータの外周面に摺接する流量制御バルブ用シールであって、上記シールの外周面に、上記導入部または上記吐出部の内周面に嵌合されるとともに、上記シールの外周面と上記内周面との隙間を封止する凸部が、シール本体と同一材料で一体に設けられており、上記シールは、曲げ弾性率が400MPa~1200MPaの合成樹脂で形成されることを特徴とする。
【0010】
上記材料は、PFA樹脂、FEP樹脂、およびETFE樹脂から選ばれる少なくとも1つの樹脂をベース樹脂とする樹脂組成物からなり、曲げ弾性率が400MPa~950MPaであることを特徴とする。
(【0011】以降は省略されています)
この特許をJ-PlatPat(特許庁公式サイト)で参照する
関連特許
NTN株式会社
基板
16日前
NTN株式会社
ハンド
11日前
NTN株式会社
玉軸受
17日前
NTN株式会社
玉軸受
25日前
NTN株式会社
玉軸受
24日前
NTN株式会社
玉軸受
3日前
NTN株式会社
軸受装置
3日前
NTN株式会社
軸受装置
3日前
NTN株式会社
焼結軸受
3日前
NTN株式会社
軸受装置
3日前
NTN株式会社
密封装置
9日前
NTN株式会社
軸受装置
3日前
NTN株式会社
把持装置
11日前
NTN株式会社
軸受装置
23日前
NTN株式会社
作業装置
9日前
NTN株式会社
把持装置
11日前
NTN株式会社
転がり軸受
4日前
NTN株式会社
転がり軸受
17日前
NTN株式会社
荷積込装置
4日前
NTN株式会社
転がり軸受
11日前
NTN株式会社
転がり軸受
3日前
NTN株式会社
回転伝達装置
4日前
NTN株式会社
円筒ころ軸受
25日前
NTN株式会社
回転伝達装置
4日前
NTN株式会社
状態監視装置
10日前
NTN株式会社
基板取付構造
23日前
NTN株式会社
回転伝達装置
9日前
NTN株式会社
軸受用保持器
1か月前
NTN株式会社
等速自在継手
23日前
NTN株式会社
シール付軸受
9日前
NTN株式会社
保持器付きころ
13日前
NTN株式会社
車輪用軸受装置
9日前
NTN株式会社
円すいころ軸受
16日前
NTN株式会社
モータユニット
13日前
NTN株式会社
リンク作動装置
5日前
NTN株式会社
車輪用軸受装置
25日前
続きを見る
他の特許を見る