TOP
|
特許
|
意匠
|
商標
特許ウォッチ
Twitter
他の特許を見る
10個以上の画像は省略されています。
公開番号
2025134538
公報種別
公開特許公報(A)
公開日
2025-09-17
出願番号
2024032512
出願日
2024-03-04
発明の名称
車輪用軸受装置
出願人
NTN株式会社
代理人
弁理士法人矢野内外国特許事務所
主分類
B60B
35/16 20060101AFI20250909BHJP(車両一般)
要約
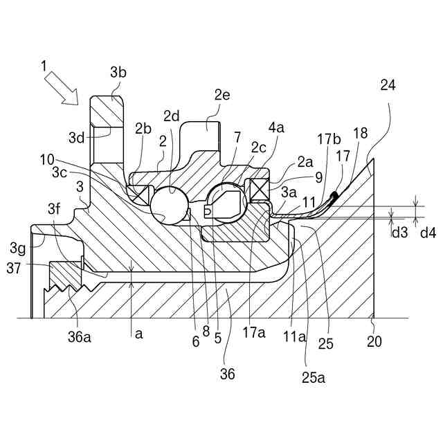
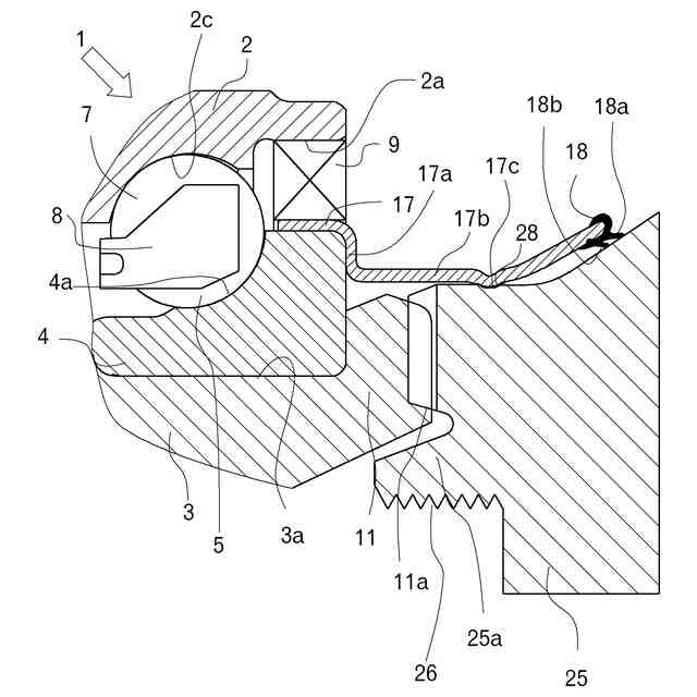
【課題】フェイススプラインへの泥水侵入を防止するシール部材のシール性能を低下させることなく、フェイススプラインの組付けを容易にすることができる車輪用軸受装置を提供する。
【解決手段】外輪2と、ハブ輪3及び内輪4から構成される内方部材と、ボール7と、ハブ輪3に連結される等速自在継手20と、外輪2と内輪4との間をシールするインナー側シール部材9と、を備える。また、ハブ輪3のインナー側端面と、等速自在継手20の肩部25には、フェイススプライン11a及びフェイススプライン25aが形成されており、フェイススプライン11a及びフェイススプライン25aの外径側を保護するカバー部材17を設け、カバー部材17の内径は、インナー側に向かうにつれて拡径するように形成される。
【選択図】図1
特許請求の範囲
【請求項1】
内周に外側軌道面を有する外方部材と、
前記外側軌道面に対向する内側軌道面を有する内方部材と、
前記外側軌道面と前記内側軌道面との間に転動自在に収容された転動体と、
前記内方部材に連結される等速自在継手と、
前記外方部材と前記内方部材との間をシールするシール部材と、
を備える車輪用軸受装置であって、
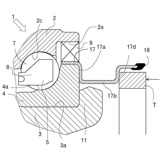
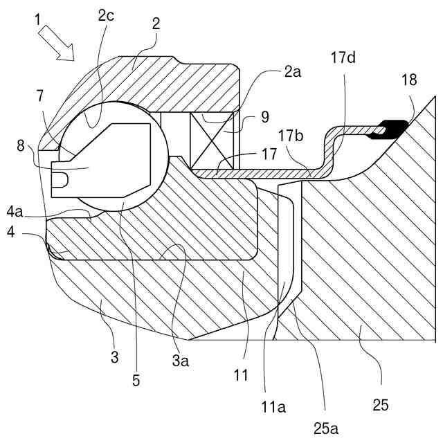
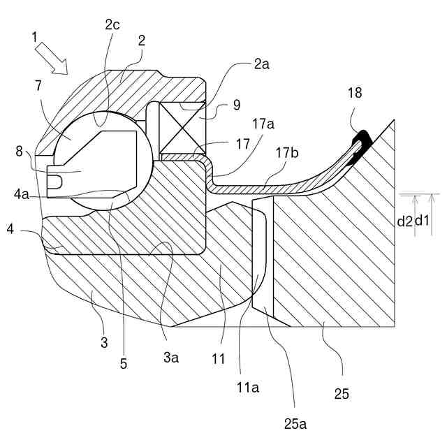
前記内方部材のインナー側端面と、前記等速自在継手の肩部には、フェイススプラインが形成されており、
前記フェイススプラインの外径側を保護するカバー部材を設け、
前記カバー部材の内径は、インナー側に向かうにつれて拡径するように形成される
ことを特徴とする車輪用軸受装置。
続きを表示(約 380 文字)
【請求項2】
前記カバー部材は、前記等速自在継手の肩部を覆うカバー筒部を有し、前記カバー筒部の内径が、前記等速自在継手の肩部の外径に対して100%より大きく103%未満である、
ことを特徴とする請求項1に記載の車輪用軸受装置。
【請求項3】
前記カバー部材のインナー側端部には前記肩部の外周面に摺接するフェイススプライン用シール部材が設けられ、
前記フェイススプライン用シール部材は弾性材で構成され、
前記フェイススプライン用シール部材は、リップを有する。
ことを特徴とする請求項1に記載の車輪用軸受装置。
【請求項4】
前記等速自在継手の外径に凹部を設け、
前記カバー部材の内径に、前記凹部に係合する係合突起を設けた
ことを特徴とする請求項3に記載の車輪用軸受装置。
発明の詳細な説明
【技術分野】
【0001】
本発明は、車輪用軸受装置の技術に関する。
続きを表示(約 1,500 文字)
【背景技術】
【0002】
従来、自動車の車輪用軸受装置として、複列のアンギュラ玉軸受が一般に用いられている。前記車輪用軸受装置は、外方部材と、内方部材と、外方部材及び内方部材にそれぞれ形成される軌道面に保持されるボールと、を備える。
【0003】
内方部材の一端にはフランジ部が形成されており、フランジ部に図示しないタイヤのホイールやブレーキディスクなどが取り付けられる。また、外方部材の外周面には車両の懸架装置に支持された車体側部材(図示せず)に取り付けるための固定フランジが形成されている。
【0004】
内方部材には、等速自在継手を介してドライブシャフトの回転駆動力が伝達される。回転駆動力を伝達する一方法として、内方部材を固定するための加締部にスプライン歯部(フェイススプライン)を形成し、このスプライン歯部と、等速ジョイントの外輪の端面に形成された歯部(フェイススプライン)とを噛み合わせる方法が知られている(例えば、特許文献1参照)。
【0005】
また、加締部の外径には、内方部材に圧入される円筒部と、この円筒部から径方向外方に延びる立板部とからなるスリンガが設けられている。スリンガの円筒部の圧入管理方法として、内輪の端面にスリンガの芯金の段差を当接させることで内輪端面とスリンガとの位置合わせを行いつつ圧入する方法が公知となっている。
【先行技術文献】
【特許文献】
【0006】
独国特許出願公開第102006032159号明細書
【発明の概要】
【発明が解決しようとする課題】
【0007】
しかし、従来の車輪用軸受装置においては、フェイススプラインの組付け時の位置決めが難しく、位置決め不良が原因で等速自在継手を固定するボルトを適切に締結できない場合がある。また、フェイススプラインの組付け時において、車輪用軸受装置と等速自在継手の外輪のフェイススプラインへの泥水浸入を防止する為にシール材を設けた場合において、等速自在継手のフェイススプラインの歯に当たってシール材が損傷し、耐泥水性能が低下する恐れがあった。
【0008】
本発明は以上の如き状況に鑑みてなされたものであり、フェイススプラインへの泥水侵入を防止するシール部材のシール性能を低下させることなく、フェイススプラインの組付けを容易にすることができる車輪用軸受装置を提供することを課題とする。
【課題を解決するための手段】
【0009】
即ち、内周に外側軌道面を有する外方部材と、
前記外側軌道面に対向する内側軌道面を有する内方部材と、
前記外側軌道面と前記内側軌道面との間に転動自在に収容された転動体と、
前記内方部材に連結される等速自在継手と、
前記外方部材と前記内方部材との間をシールするシール部材と、
を備える車輪用軸受装置であって、
前記内方部材のインナー側端面と、前記等速自在継手の肩部には、フェイススプラインが形成されており、
前記フェイススプラインの外径側を保護するカバー部材を設け、
前記カバー部材の内径は、インナー側に向かうにつれて拡径するように形成される
ものである。
【発明の効果】
【0010】
本発明の効果として、以下に示すような効果を奏する。
即ち、本発明の車輪用軸受装置によれば、加締部及び等速自在継手に形成されたフェイススプラインの嵌合部を保護しつつ、車輪用軸受装置の組立時の作業性及びメンテナンス性が向上する。
【図面の簡単な説明】
(【0011】以降は省略されています)
この特許をJ-PlatPat(特許庁公式サイト)で参照する
関連特許
個人
カーテント
4か月前
個人
タイヤレバー
2か月前
個人
前輪キャスター
1か月前
個人
上部一体型自動車
16日前
個人
タイヤ脱落防止構造
1か月前
個人
ルーフ付きトライク
2か月前
個人
ホイルのボルト締結
3か月前
日本精機株式会社
表示装置
2か月前
日本精機株式会社
表示装置
2か月前
個人
車両通過構造物
2か月前
井関農機株式会社
作業車両
4か月前
井関農機株式会社
作業車両
4か月前
日本精機株式会社
表示装置
2か月前
日本精機株式会社
表示装置
2か月前
個人
マスタシリンダ
23日前
個人
キャンピングトライク
4か月前
個人
アクセルのソフトウェア
3か月前
個人
乗合路線バスの客室装置
3か月前
個人
キャンピングトレーラー
4か月前
個人
車両用スリップ防止装置
3か月前
個人
円湾曲ホイール及び球体輪
3か月前
株式会社ニフコ
収納装置
1か月前
日本精機株式会社
画像投映装置
12日前
日本精機株式会社
車室演出装置
1か月前
個人
音声ガイド、音声サービス
2か月前
株式会社ニフコ
保持装置
3か月前
日本精機株式会社
車載表示装置
3か月前
株式会社豊田自動織機
産業車両
2か月前
株式会社ニフコ
照明装置
2か月前
個人
車載小物入れ兼雨傘収納具
3か月前
日本精機株式会社
車載表示装置
1か月前
日本精機株式会社
車両用表示装置
2か月前
日本精機株式会社
車両用表示装置
12日前
井関農機株式会社
作業車両
4か月前
株式会社SUBARU
車両
10日前
井関農機株式会社
作業車両
4か月前
続きを見る
他の特許を見る