TOP
|
特許
|
意匠
|
商標
特許ウォッチ
Twitter
他の特許を見る
公開番号
2025134136
公報種別
公開特許公報(A)
公開日
2025-09-17
出願番号
2024031841
出願日
2024-03-04
発明の名称
玉軸受
出願人
NTN株式会社
代理人
個人
,
個人
,
個人
主分類
F16C
33/38 20060101AFI20250909BHJP(機械要素または単位;機械または装置の効果的機能を生じ維持するための一般的手段)
要約
【課題】軸受部品の寸法収縮が生じる極低温下でも良好に回転することができる玉軸受を提供する。
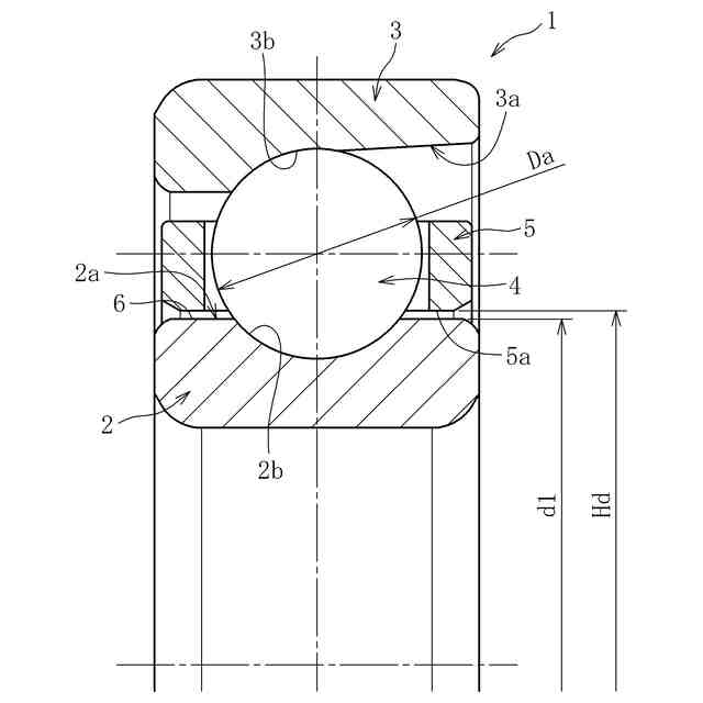
【解決手段】内輪及び外輪からなる一対の軌道輪と、この一対の軌道輪の軌道面間に介装される複数の玉と、一対の軌道輪間で複数の玉を保持する保持器とを備え、液化ガス中で使用される玉軸受である。保持器は、保持器の内径面と内輪の外径面とを定められた径方向すきまを隔てて摺接させることで保持器が回転する内輪案内であり、内輪の外径面と保持器の内径面との案内すきまは、玉の直径である玉径の3%から10%である。
【選択図】図1
特許請求の範囲
【請求項1】
内輪及び外輪からなる一対の軌道輪と、この一対の軌道輪の軌道面間に介装される複数の玉と、前記一対の軌道輪間で前記複数の玉を保持する保持器とを備え、液化ガス中で使用される玉軸受において、
前記保持器は、保持器の内径面と前記内輪の外径面とを摺接させて案内される内輪案内であり、内輪の外径面と保持器の内径面との案内すきまは、玉の直径である玉径の3%から10%であることを特徴とする玉軸受。
続きを表示(約 150 文字)
【請求項2】
前記保持器内径部の軸方向外側に、軸方向において内側から外側に向かって拡径するテーパ形状の逃げ部を設けたことを特徴とする請求項1に記載の玉軸受。
【請求項3】
前記逃げ部の軸方向における傾斜角度は10°~45°であることを特徴とする請求項2に記載の玉軸受。
発明の詳細な説明
【技術分野】
【0001】
本発明は、極低温下で用いられる玉軸受に関するものである。
続きを表示(約 1,800 文字)
【背景技術】
【0002】
液化ガス(例えばLNG、LN2、LNH3、LH2)などの極低温状態の液化ガスを移送するサブマージドポンプに用いられる軸受のように、極低温下で用いられる極低温環境用転がり軸受がある(特許文献1及び特許文献2)。このような液化ガス用ポンプに用いられる転がり軸受は、極低温の液化ガスに浸漬した状態で使用されるため、極低温下での耐摩耗性と低温靭性が求められる。
【0003】
特許文献1のものは、転動体材料の線膨張係数を、軌道輪材料の線膨張係数の70~105%とするとともに、保持器材料として、PTFEと繊維状補強材と固体潤滑剤を含むものとしている。これにより、耐摩耗性を向上させている。
【0004】
特許文献2のものは、深溝玉軸受において、隙間比率C=(転動体径×案内隙間)/(内輪外径×ラジアル内部隙間)の最適な数値範囲を定めている。ここで、案内隙間とは、内輪外径面と保持器内径面との隙間幅である。隙間比率Cを定めることにより、長期間の使用に耐えて経時的に耐摩耗性および潤滑性が低下せず、回転状態を安定させることができる。
【先行技術文献】
【特許文献】
【0005】
国際公開2015-053348号公報
特開2017-150593号公報
【発明の概要】
【発明が解決しようとする課題】
【0006】
極低温下で使用する転がり軸受は、軸受部品(軌道輪、転動体、保持器)に寸法収縮が生じる。軌道輪、転動体、保持器は、夫々異材であることから低温時の寸法収縮量が異なり、夫々の線膨張係数が異なるため、低温時に良好に回転するためには、軸受部品の最適設計が必要となる。その中でも、保持器は最も寸法変化の差が大きく、影響が最も大きい部品であるため、極低温下で正常に機能するためには、保持器の案内すきま(保持器と案内する軌道輪間の径方向すきま)と案内形式の最適設計が重要となる。
【0007】
以上の実情に鑑み、本発明は、軸受部品の寸法収縮が生じる極低温下でも良好に回転することができる玉軸受を提供することを目的とする。
【課題を解決するための手段】
【0008】
本発明に係る玉軸受は、内輪及び外輪からなる一対の軌道輪と、この一対の軌道輪の軌道面間に介装される複数の玉と、前記一対の軌道輪間で前記複数の玉を保持する保持器とを備え、液化ガス中で使用される玉軸受において、 前記保持器は、保持器の内径面と前記内輪の外径面とを定められた径方向すきまを隔てて摺接させることで保持器が回転する内輪案内であり、内輪の外径面と保持器の内径面との間で形成される径方向すきま(案内すきま)は、玉の直径である玉径の3%から10%である。
【0009】
本発明の玉軸受は、低温時に寸法変化の差が大きい保持器の案内すきま(内輪の外径面と保持器の内径面との間で形成される径方向すきま(隙間)と、保持器の案内形式を定めたものである。すなわち、保持器は、保持器内径面と内輪の外径面とを定められたすきま(隙間)を隔てて摺接させることで保持器が回転する、いわゆる内輪案内とすることで、寸法収縮が生じる極低温下でも良好に回転することができる。外輪案内保持器の場合、寸法収縮によって案内すきまが拡大し、正しく案内されない。すなわち、外輪案内とする場合、低温時に適切な案内すきまを持つとすると、常温時膨張状態であるため、外輪内径に接触し、組立不可である。組立可能な寸法とした場合、低温時には収縮するので案内すきまが拡大する。それにより案内が不安定になったり(外輪カウンタ形状のアンギュラ玉軸受であれば特に不安定になる)、転動体案内優位になったりする。
【0010】
さらに、保持器を内輪案内とした場合、案内すきま/玉径が過小の時、低温時に内輪外径と保持器内径が接触し、回転不良となる。また、案内すきま/玉径が過大の時、案内すきまがポケットすきまを上回り、転動体案内となる。このため、案内すきまを玉径の3~10%とすることで、低温時に内輪外径と接触しない最適な案内すきまとなり、内輪外径と保持器内径の間の案内すきまを確保しつつ、確実に内輪案内とし、極低温下で正常に作用することができる。
(【0011】以降は省略されています)
この特許をJ-PlatPat(特許庁公式サイト)で参照する
関連特許
NTN株式会社
玉軸受
3日前
NTN株式会社
軸受装置
3日前
NTN株式会社
密封装置
9日前
NTN株式会社
軸受装置
3日前
NTN株式会社
軸受装置
3日前
NTN株式会社
焼結軸受
3日前
NTN株式会社
軸受装置
3日前
NTN株式会社
荷積込装置
4日前
NTN株式会社
転がり軸受
3日前
NTN株式会社
転がり軸受
4日前
NTN株式会社
回転伝達装置
4日前
NTN株式会社
回転伝達装置
4日前
NTN株式会社
リンク作動装置
5日前
NTN株式会社
車輪用軸受装置
4日前
NTN株式会社
軸受装置及び間座
4日前
NTN株式会社
シェル形針状ころ軸受
5日前
NTN株式会社
ブーツ付等速自在継手
2日前
NTN株式会社
等速自在継手用ブーツ
2日前
NTN株式会社
軸受装置および機械装置
2日前
NTN株式会社
等速自在継手の外側継手部材
2日前
NTN株式会社
連結機構及びこれを備えた研削盤
5日前
NTN株式会社
軸受装置および異常検知システム
5日前
NTN株式会社
軸受装置および異常検知システム
3日前
NTN株式会社
ピッキング装置およびピッキング方法
4日前
NTN株式会社
軌道輪保持器一体型スラストころ軸受
5日前
NTN株式会社
データ集積装置およびデータ集積システム
4日前
NTN株式会社
パラレルリンク機構およびリンク作動装置
5日前
NTN株式会社
試料の選別採取配置方法および採取配置装置
9日前
NTN株式会社
等速自在継手用外側継手部材及びこれを備える固定式等速自在継手
3日前
NTN株式会社
ひずみセンサ付き軸受装置、ひずみセンサ付き外輪間座、および工作機械用スピンドル装置
4日前
個人
鍋虫ねじ
1か月前
個人
ホース保持具
5か月前
個人
紛体用仕切弁
1か月前
個人
回転伝達機構
2か月前
個人
差動歯車用歯形
3か月前
個人
給排気装置
5日前
続きを見る
他の特許を見る