TOP
|
特許
|
意匠
|
商標
特許ウォッチ
Twitter
他の特許を見る
公開番号
2025134361
公報種別
公開特許公報(A)
公開日
2025-09-17
出願番号
2024032213
出願日
2024-03-04
発明の名称
円筒ころ軸受
出願人
NTN株式会社
代理人
個人
,
個人
,
個人
,
個人
,
個人
主分類
F16C
33/46 20060101AFI20250909BHJP(機械要素または単位;機械または装置の効果的機能を生じ維持するための一般的手段)
要約
【課題】保持器柱部の強度確保と、ころ脱落防止を両立した保持器を備える円筒ころ軸受を提供する。
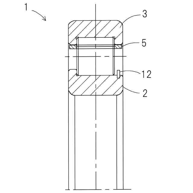
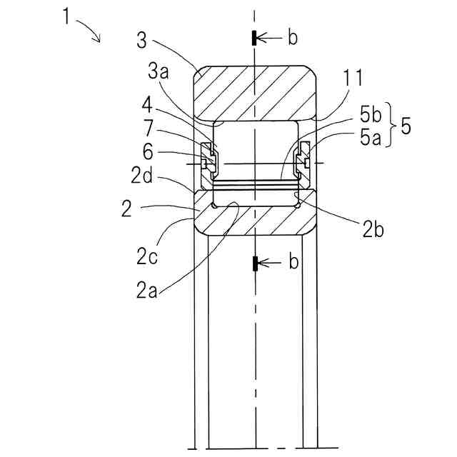
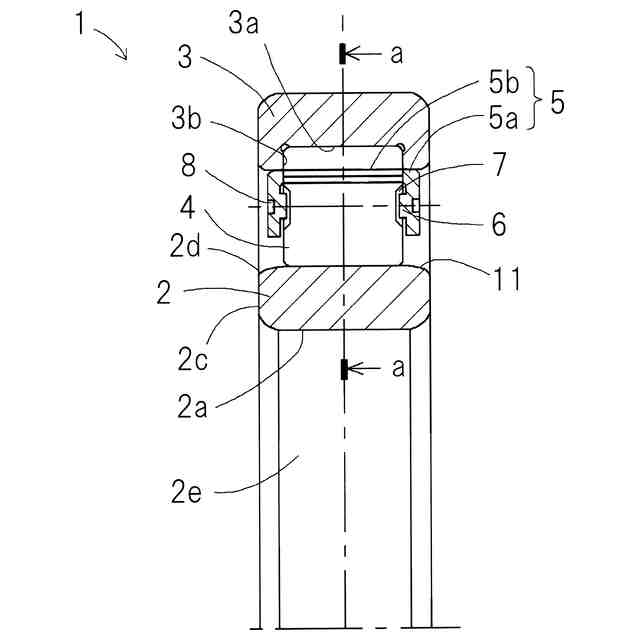
【解決手段】この円筒ころ軸受(1)は、内輪(2)と、外輪(3)と、これら内外輪(2,3)の軌道面の間に転動自在に介在させた複数の円筒ころ(4)と、これら円筒ころ(4)を保持する保持器(5)とを備える。前記保持器(5)は、前記円筒ころ(4)の軸方向両端に配置されて周方向に延びる一対の環状部(5a)と、前記環状部(5a)間を連結する柱部(5b)とを有し、前記柱部(5b)は、前記円筒ころ(4)のピッチ円直径(P.C.D.)よりも外径側または内径側に位置しており、前記一対の環状部(5a)の軸方向内側に突出した係合部(6)が形成され、前記係合部(6)に係合される被係合部(7)が、前記円筒ころ(4)の軸方向両端部に形成され、前記円筒ころ(4)が前記係合部(6)に回転自在に係合されている。
【選択図】図1
特許請求の範囲
【請求項1】
内輪と、外輪と、これら内外輪の軌道面の間に転動自在に介在させた複数の円筒ころと、これら円筒ころを保持する保持器とを備えた円筒ころ軸受において、
前記保持器は、前記円筒ころの軸方向両端に配置されて周方向に延びる一対の環状部と、前記環状部間を連結する柱部とを有し、
前記柱部は、前記円筒ころのピッチ円直径(P.C.D.)よりも外径側または内径側に位置しており、
前記一対の環状部の軸方向内側に突出した係合部が形成され、
前記係合部に係合される被係合部が、前記円筒ころの軸方向両端部に形成され、前記円筒ころが前記係合部に回転自在に係合されている、
円筒ころ軸受。
続きを表示(約 350 文字)
【請求項2】
請求項1に記載の円筒ころ軸受において、前記環状部の前記係合部は突起であり、前記円筒ころの前記被係合部は凹所である円筒ころ軸受。
【請求項3】
請求項1または2に記載の円筒ころ軸受において、前記保持器は鉄系材料からなり、プレス加工により成形されている円筒ころ軸受。
【請求項4】
請求項1または2に記載の円筒ころ軸受において、前記保持器は樹脂系材料からなり、射出成型加工により成形されている円筒ころ軸受。
【請求項5】
請求項1または2に記載の円筒ころ軸受において、前記保持器は、軌道輪案内形式である円筒ころ軸受。
【請求項6】
請求項1または2に記載の円筒ころ軸受において、前記保持器は、ころ案内形式である円筒ころ軸受。
発明の詳細な説明
【技術分野】
【0001】
本発明は、円筒ころ軸受に関し、特に、風力発電機の増速機など高負荷容量なころ軸受が必要とされる箇所に用いられる円筒ころ軸受に関するものである。
続きを表示(約 1,100 文字)
【背景技術】
【0002】
一般的に使用されているころ軸受は、重荷重条件下で長寿命であることが求められており、特に、ラジアル荷重のみが作用する条件下では、「円筒ころ軸受」が多く使用されている。
【0003】
一般的な円筒ころ軸受では、軸またはハウジングへの組立性向上のため、内輪または外輪の何れかが分離し、内輪または外輪の何れかの両端面につば(鍔)を有したタイプが多く使用されている。内輪が分離可能で、外輪の軸方向両端につばを有した「NUタイプ」は、「内輪単体」と「外輪組立品(外輪・ころ・保持器一体)」とで構成されており、通常、外輪組立品は内輪単体を分離しても、外輪・ころ・保持器は分離してはならない。
【0004】
一方で、近年、円筒ころ軸受には更なる重荷重条件下で長寿命であることが求められている。このため、軸受にはさらに高負荷能力が求められるので、ころのサイズアップまたはころの本数増が必要となる。
【0005】
しかし、ころのサイズアップまたはころの本数増となれば、保持器の柱部を設けるスペースが狭くなる。すなわち、ころのピッチ円直径(P.C.D.)上において、保持器のポケット部の占める割合が相対的に大きくなり、逆に、柱部を設けることができるスペースが相対的に小さくなる。このため、保持器の強度低下が懸念される。
【0006】
そこで、低速領域の使用箇所を対象とする軸受であれば、保持器をなくした「総ころタイプ」を使用する方法がある(例えば特許文献1)。
【0007】
また、柱部の強度低下対策のため、保持器の柱部を円筒ころのP.C.D.よりも軸受の外径側または内径側に離して配置し、柱部のスペースを充分に確保した保持器を使用した高負荷容量タイプの円筒ころ軸受もある(例えば特許文献2)。
【先行技術文献】
【特許文献】
【0008】
特開平9-88970号公報
特開2008-303893号公報
【発明の概要】
【発明が解決しようとする課題】
【0009】
特許文献1のような総ころタイプの円筒ころ軸受では、保持器がないため軸受の回転性能が劣るという問題がある。また、ころ同士が直接接触しているので、例えば、想定を超えるような過酷な使用状況にある場合や、適切なメンテナンスが施されないような状況においては、円筒ころ同士の接触によるころの表面の損傷も懸念される。
【0010】
また、総ころタイプの円筒ころ軸受では、図5のように、円筒ころ脱落防止のため、内輪の軸方向一端に止め輪を設け、内輪が分離しないようにしている。
(【0011】以降は省略されています)
この特許をJ-PlatPat(特許庁公式サイト)で参照する
関連特許
NTN株式会社
転動部材及び転動部品
3日前
NTN株式会社
窒化ケイ素焼結体、機械部品および軸受
3日前
NTN株式会社
ボールねじ装置及びこれを備えた電動アクチュエータ
11日前
個人
留め具
1か月前
個人
鍋虫ねじ
3か月前
個人
紛体用仕切弁
3か月前
個人
ホース保持具
7か月前
個人
回転伝達機構
3か月前
個人
トーションバー
8か月前
個人
差動歯車用歯形
5か月前
個人
ジョイント
2か月前
個人
給排気装置
1か月前
個人
ナット
2か月前
個人
ボルトナットセット
8か月前
個人
ナット
26日前
個人
地震の揺れ回避装置
4か月前
株式会社不二工機
電磁弁
5か月前
株式会社不二工機
電磁弁
6か月前
個人
ゲート弁バルブ
11日前
個人
吐出量監視装置
3か月前
カヤバ株式会社
緩衝器
4か月前
カヤバ株式会社
緩衝器
8か月前
柿沼金属精機株式会社
分岐管
3か月前
株式会社三協丸筒
枠体
8か月前
兼工業株式会社
バルブ
27日前
カヤバ株式会社
緩衝器
4か月前
カヤバ株式会社
緩衝器
1か月前
カヤバ株式会社
ダンパ
5か月前
カヤバ株式会社
ダンパ
5か月前
アズビル株式会社
回転弁
2か月前
株式会社不二工機
電動弁
1か月前
株式会社ノーリツ
分配弁
1か月前
株式会社ニフコ
クリップ
1か月前
株式会社ニフコ
クリップ
11日前
株式会社タカギ
水栓装置
3か月前
個人
固着具と固着具の固定方法
6か月前
続きを見る
他の特許を見る