TOP
|
特許
|
意匠
|
商標
特許ウォッチ
Twitter
他の特許を見る
10個以上の画像は省略されています。
公開番号
2025147715
公報種別
公開特許公報(A)
公開日
2025-10-07
出願番号
2024048100
出願日
2024-03-25
発明の名称
軌道輪保持器一体型スラストころ軸受
出願人
NTN株式会社
代理人
個人
,
個人
,
個人
主分類
F16C
33/58 20060101AFI20250930BHJP(機械要素または単位;機械または装置の効果的機能を生じ維持するための一般的手段)
要約
【課題】軌道面27の全周縁から立ち上がった鍔部21を有する軌道輪11と、鍔部21の先が全周にわたって前記軌道面側へ曲げられた縁部22によって保持される保持器とを有するスラストころ軸受10について、工数の増加を抑制しながら寸法管理がしやすく高い寸法精度を実現する。
【解決手段】縁部22が、曲げ起点部23より先端部24の方が硬度が高いように構成する。縁部を仮曲げしたのち、軌道輪全体を硬化させて硬度を確保し、縁部22に通じる曲げ起点部23付近のみを軟化させて、ころ13と保持器12とを組み込み、軟化した曲げ起点部23で縁部22を曲げる手順で製造可能となる。
【選択図】図1
特許請求の範囲
【請求項1】
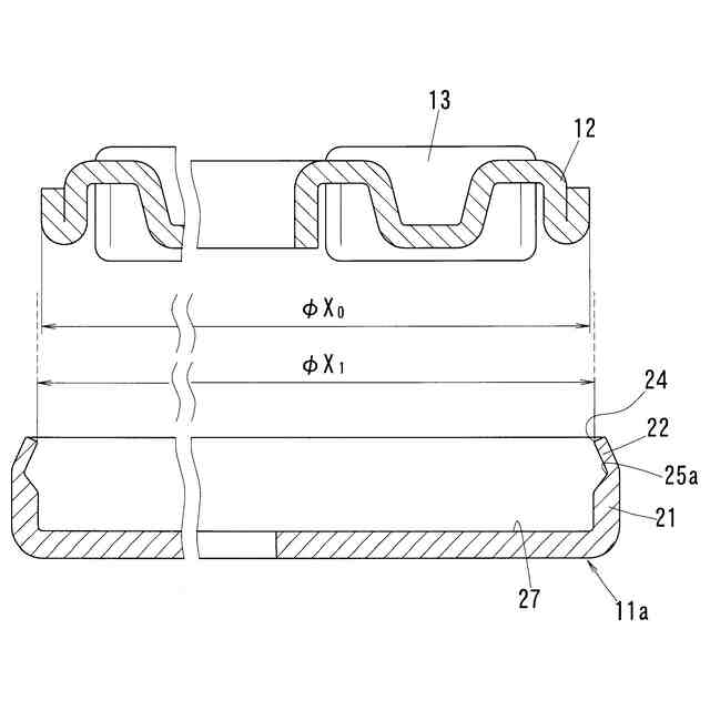
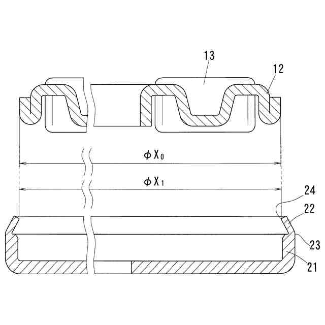
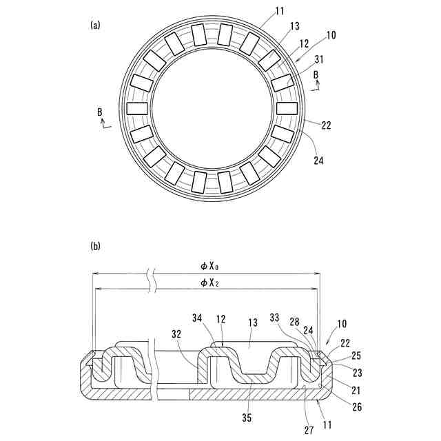
軌道面(27)の全周縁(26)から立ち上がった鍔部(21)を有し、前記鍔部(21)の先が全周にわたって内径側へ曲げられた縁部(22)が形成された軌道輪(11)と、
複数のころ(13)と、
前記鍔部(21)によって保持され、複数の前記ころ(13)を保持する保持器(12)と、
を有し、
前記保持器(12)は、放射状に形成された複数の抜孔(31)を有し、前記抜孔(31)に収容した前記ころ(13)を前記軌道面(27)上に周方向に等間隔をあけて放射状に保持し、
前記縁部(22)は、曲げ起点部(23)より先端部(24)の方が硬度が高いスラストころ軸受。
続きを表示(約 270 文字)
【請求項2】
前記曲げ起点部(23)の硬度が420HV以上500HV以下であり、
前記先端部(24)の硬度が500HV以上であり、
前記軌道面(27)の硬度が664HV以上である、請求項1に記載のスラストころ軸受。
【請求項3】
前記縁部(22)の板厚が、前記鍔部(21)の板厚に対して、40%以上80%以下である請求項1に記載のスラストころ軸受。
【請求項4】
前記鍔部(21)に対する前記縁部(22)の角度が30度以上95度以下である請求項1から3のいずれかに記載のスラストころ軸受。
発明の詳細な説明
【技術分野】
【0001】
この発明は、軌道輪と保持器との一体型であるスラストころ軸受に関する。
続きを表示(約 1,400 文字)
【背景技術】
【0002】
軌道輪と保持器とを一体にしたスラストころ軸受は、自動車用オートマチックトランスミッション(AT)や連続可変トランスミッション(CVT)、トルクコンバータ、エアコンプレッサーなどに使用される。
【0003】
特許文献1には、弾性変形をもって保持器を軌道輪に嵌合させたスラスト針状ころ軸受が記載されており、その製造手順が提案されている。軌道輪をプレス成形する段階で、嵌合後に保持器をひっかけるためのかかり止めを形成しており、かかり止めの形成後に熱処理を行い、その後で保持器付きころの組み込みを行っている。
【0004】
特許文献2には、非分離一体型スラスト軸受の組み立て方法が提案されている。軌道輪の縁から全周にわたって立ち上がるリップの4か所に、保持器との係合に用いるタブを予備成形する。ころをスラストリテーナで挟んだ軸受を組み込んだ後、このタブを局所的に加熱してタブを折り曲げて、軸受を回転自在に加締める。
【先行技術文献】
【特許文献】
【0005】
実開昭58-125720号公報
特開平5-180218号公報
【発明の概要】
【発明が解決しようとする課題】
【0006】
しかしながら、特許文献1に記載の製造手順では、かかり止めの寸法管理が難しいという問題があった。かかり止めが大きいと保持器付きころを組み込む際に塑性変形が起きやすく、逆にかかり止めが小さいと保持器が外れやすくなってしまう。
【0007】
また、特許文献2に記載の組み立て方法では、タブ部分のみを局所加熱して曲げる工程を行うため、複数タブの寸法が外れやすく治工具の設計が難しくなり、実際の加工にかかる工数がかかるという問題があった。
【0008】
上述の背景に鑑み、この発明が解決しようとする課題は、スラストころ軸受を製造するにあたり、工数の増加を抑制しながら寸法管理がしやすく高い寸法精度を実現し、保持器の軌道輪への組込み性を損なうことなく保持器が軌道輪から外れ難い軸受を得ることである。
【課題を解決するための手段】
【0009】
上記課題を解決するため、この発明は、
軌道面の全周縁から立ち上がった鍔部を有し、前記鍔部の先が全周にわたって内径側へ曲げられた縁部が形成された軌道輪と、
複数のころと、
前記鍔部によって保持され、複数の前記ころを保持する保持器とを有し、
前記保持器は、放射状に形成された複数の抜孔を有し、前記抜孔に収容した前記ころを前記軌道面上に周方向に等間隔をあけて放射状に保持し、
前記縁部は、曲げ起点部より先端部の方が硬度が高いスラストころ軸受という第一の構成を採用した。
【0010】
すなわち、全周にわたって立ち上がった鍔部のさらに先が全周にわたって曲げられた縁部で保持器を保持する構造であるので、縁部を曲げる曲げ加工を全周にわたって一律に行って形成させることができ、局所的なタブ成型を行う特許文献2に比べて寸法精度を高めることができる。また、全周に亘って鍔部の先を一括して曲げることで縁部を形成できるので、個別に複数のタブを曲げる作業を行わなければならない特許文献2に比べて工数の増加を抑えて製造可能となる。
(【0011】以降は省略されています)
この特許をJ-PlatPat(特許庁公式サイト)で参照する
関連特許
NTN株式会社
玉軸受
1か月前
NTN株式会社
焼結軸受
1か月前
NTN株式会社
焼成軸受
1か月前
NTN株式会社
焼成軸受
1か月前
NTN株式会社
軸受装置
1か月前
NTN株式会社
軸受装置
1か月前
NTN株式会社
軸受装置
1か月前
NTN株式会社
軸受装置
1か月前
NTN株式会社
焼入れ方法
22日前
NTN株式会社
ボールねじ
23日前
NTN株式会社
転がり軸受
1か月前
NTN株式会社
車輪用軸受装置
1か月前
NTN株式会社
ボールねじ装置
23日前
NTN株式会社
ボールねじ装置
23日前
NTN株式会社
円すいころ軸受
23日前
NTN株式会社
密封装置付き軸受
20日前
NTN株式会社
ブーツ付等速自在継手
1か月前
NTN株式会社
等速自在継手用ブーツ
1か月前
NTN株式会社
転がり軸受の設計方法
28日前
NTN株式会社
環状部品の抜け止め構造
23日前
NTN株式会社
軸受装置および機械装置
1か月前
NTN株式会社
等速自在継手の外側継手部材
1か月前
NTN株式会社
転がり軸受の耐電食性能評価方法
28日前
NTN株式会社
転がり軸受の耐電食性能評価方法
28日前
NTN株式会社
軸受装置および異常検知システム
1か月前
NTN株式会社
データ集積装置およびデータ集積システム
1か月前
NTN株式会社
損傷状態診断システムおよび損傷状態診断方法
1か月前
NTN株式会社
車輪用軸受装置
28日前
NTN株式会社
等速自在継手用外側継手部材及びこれを備える固定式等速自在継手
1か月前
NTN株式会社
ボールねじ装置及びこれを備えた電動アクチュエータ
7日前
個人
留め具
1か月前
個人
鍋虫ねじ
3か月前
個人
紛体用仕切弁
3か月前
個人
回転伝達機構
3か月前
個人
ホース保持具
7か月前
個人
トーションバー
7か月前
続きを見る
他の特許を見る