TOP
|
特許
|
意匠
|
商標
特許ウォッチ
Twitter
他の特許を見る
公開番号
2025151163
公報種別
公開特許公報(A)
公開日
2025-10-09
出願番号
2024052446
出願日
2024-03-27
発明の名称
熱伝導シート及び熱伝導シートの製造方法
出願人
日本ゼオン株式会社
代理人
個人
,
個人
,
個人
,
個人
主分類
C08J
9/06 20060101AFI20251002BHJP(有機高分子化合物;その製造または化学的加工;それに基づく組成物)
要約
【課題】圧縮性及び復元性に優れる熱伝導シート、及びこのような熱伝導シートの製造方法の提供
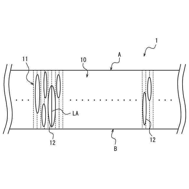
【解決手段】樹脂及び黒鉛粒子を含む、熱伝導シートであって、熱伝導シートは複数の空隙を含み、樹脂が架橋樹脂を含有し、黒鉛粒子が熱伝導シートの主面に対して60°以上90°以下の配向角度で配向しており、熱伝導シートにおける黒鉛粒子の体積分率が35体積%以上であり、下記式(1)に従って算出される空隙率が20%以上である熱伝導シート。
空隙率(%)=100×(1-熱伝導シートの実測比重÷熱伝導シートの理論比重)・・・(1)
【選択図】図1
特許請求の範囲
【請求項1】
樹脂及び黒鉛粒子を含む、熱伝導シートであって、
前記熱伝導シートは複数の空隙を含み、
前記樹脂が架橋樹脂を含有し、
前記黒鉛粒子が前記熱伝導シートの主面に対して60°以上90°以下の配向角度で配向しており、
前記熱伝導シートにおける前記黒鉛粒子の体積分率が35体積%以上であり、
下記式(1)に従って算出される空隙率が20%以上である熱伝導シート。
空隙率(%)=100×(1-熱伝導シートの実測比重÷熱伝導シートの理論比重)・・・(1)
続きを表示(約 680 文字)
【請求項2】
前記空隙率が20%以上35%以下である、請求項1に記載の熱伝導シート。
【請求項3】
前記熱伝導シート中の前記複数の空隙のうち、前記空隙の輪郭を楕円近似した場合の長軸の長さが前記熱伝導シートの厚みの20%以上である空隙の前記長軸が、前記熱伝導シートの主面に対して60°以上90°以下の配向角度で配向しており、15以上の平均アスペクト比を有する、請求項1に記載の熱伝導シート。
【請求項4】
前記黒鉛粒子の体積平均粒子径が40μm以上である、請求項1に記載の熱伝導シート。
【請求項5】
前記架橋樹脂が、常温常圧下で固体の架橋性樹脂の架橋物、及び常温常圧下で液体の架橋性樹脂の架橋物を含む、請求項1に記載の熱伝導シート。
【請求項6】
ゲル分率が80%以上である、請求項1に記載の熱伝導シート。
【請求項7】
請求項1~6の何れかに記載の熱伝導シートの製造方法であって、
架橋性樹脂を含有する樹脂、黒鉛粒子、架橋剤、及び発泡剤を含む組成物を加圧してシート状に成形し、プレ熱伝導シートを得るプレ熱伝導シート成形工程と、
前記プレ熱伝導シートを厚み方向に複数枚積層して、あるいは、前記プレ熱伝導シートを折畳又は捲回して、積層体を得る積層体形成工程と、
前記積層体を加圧しながら加熱して、架橋及び発泡反応を行う架橋反応工程と、
前記積層体を積層方向に対して45°以下の角度でスライスして、熱伝導シートを得るスライス工程とを含む、方法。
発明の詳細な説明
【技術分野】
【0001】
本発明は、熱伝導シート及び熱伝導シートの製造方法に関する。
続きを表示(約 1,500 文字)
【背景技術】
【0002】
近年、パワー半導体(IGBTモジュール等)及び集積回路(IC)チップ等の電子部品は、高性能化に伴って発熱量が増大している。その結果、電子部品を用いた電子機器では、電子部品の温度上昇による機能障害対策を講じる必要が生じている。
【0003】
電子部品の温度上昇による機能障害対策としては、一般に、電子部品等の発熱体に対し、金属製のヒートシンク、放熱板、放熱フィン等の放熱体を取り付けることによって、放熱を促進させる方法が採られている。そして、放熱体を使用する際には、発熱体から放熱体へと熱を効率的に伝えるために、発熱体と放熱体との間に熱伝導性が高いシート状の部材(以下、「熱伝導シート」ともいう。)を用いる。
【0004】
熱伝導シートには、放熱を促進するための高い熱伝導性の他に、高い柔軟性が求められる。近年では、熱伝導シートの属性をより一層高めるために種々の熱伝導シートの製造方法が提案されている。
【0005】
例えば、特許文献1では、樹脂及び黒鉛粒子を含む、第一主面及び第二主面が厚みを介して隔てられてなる熱伝導シートであって、黒鉛粒子がアスペクト比1.0超であり、黒鉛粒子の長軸が熱伝導シートの厚み方向に配向してなり、熱伝導シートにおける黒鉛粒子の体積分率が50体積%以上であり、熱伝導シートを、第一主面側から厚み方向に加圧して30%圧縮した後に、熱伝導シートの厚み方向断面視において、第一主面と第二主面との間に位置し、且つ第一主面からの厚み方向の距離が、30%圧縮した熱伝導シートの厚みに対して30%以上100%以下である領域に、黒鉛粒子の長軸が変曲点を有さない、熱伝導シートが開示されている。
【先行技術文献】
【特許文献】
【0006】
特開2023-151582号公報
【発明の概要】
【発明が解決しようとする課題】
【0007】
ここで、熱伝導シートには、圧縮性に加えて、熱伝導シートが適用された部材の膨張収縮に対する追従性をより一層高める観点から、厚み方向の圧力が除荷された後の復元性に優れることも必要とされている。
【0008】
そこで、本発明は、圧縮性及び復元性に優れる熱伝導シート、及びこのような熱伝導シートの製造方法を提供することを目的とする。
【課題を解決するための手段】
【0009】
本発明者は、上記目的を達成するために鋭意検討を行った。そして、本発明者は、樹脂及び黒鉛粒子を含む熱伝導シートにおいて、熱伝導シートが複数の空隙を含み、樹脂が架橋樹脂を含有し、シート内において黒鉛粒子が所定の角度で配向し、熱伝導シートにおける黒鉛粒子の体積分率が一定以上であり、所定の式によって算出される空隙率が20%以上であるときに、圧縮性及び復元性に優れることを新たに見出し、本発明を完成させた。
【0010】
即ち、この発明は、上記課題を有利に解決することを目的とするものであり、本発明は、[1]樹脂及び黒鉛粒子を含む、熱伝導シートであって、前記熱伝導シートは複数の空隙を含み、前記樹脂が架橋樹脂を含有し、前記黒鉛粒子が前記熱伝導シートの主面に対して60°以上90°以下の配向角度で配向しており、前記熱伝導シートにおける前記黒鉛粒子の体積分率が35体積%以上であり、下記式(1)に従って算出される空隙率が20%以上である熱伝導シートである。
空隙率(%)=100×(1-熱伝導シートの実測比重÷熱伝導シートの理論比重)・・・(1)
かかる熱伝導シートは、圧縮性及び復元性に優れる。
(【0011】以降は省略されています)
この特許をJ-PlatPat(特許庁公式サイト)で参照する
関連特許
日本ゼオン株式会社
熱伝導シート
1日前
日本ゼオン株式会社
シースアダプタ
1日前
日本ゼオン株式会社
キャップ及び容器
1日前
日本ゼオン株式会社
延伸フィルムの製造方法
4日前
日本ゼオン株式会社
複層フィルムの製造方法
1か月前
日本ゼオン株式会社
光学フィルムの製造方法
1か月前
個人
圧力センサ
1か月前
日本ゼオン株式会社
加工フィルムの製造方法
1か月前
日本ゼオン株式会社
医療機器用偏向操作装置
1日前
日本ゼオン株式会社
医療機器用偏向操作装置
1日前
日本ゼオン株式会社
熱伝導シート及びその製造方法
2日前
日本ゼオン株式会社
IABP用バルーンカテーテル
1日前
日本ゼオン株式会社
ボンド磁石の製造方法及びボンド磁石
1日前
日本ゼオン株式会社
電極活物質層の製造方法及び製造装置
3日前
日本ゼオン株式会社
熱伝導シート及び熱伝導シートの製造方法
2日前
日本ゼオン株式会社
熱伝導シート及び熱伝導シートの製造方法
2日前
日本ゼオン株式会社
熱伝導シート及び熱伝導シートの製造方法
2日前
日本ゼオン株式会社
識別媒体、物品、及び識別媒体の使用方法
2日前
日本ゼオン株式会社
熱伝導シート及び熱伝導シートの製造方法
2日前
日本ゼオン株式会社
表面処理方法および表面処理用マスク構造体
1か月前
日本ゼオン株式会社
非水系二次電池用負極材料シートの製造方法
4日前
日本ゼオン株式会社
細胞培養容器および細胞培養容器の製造方法
1日前
日本ゼオン株式会社
カーボンナノチューブ乾燥物及びその製造方法
4日前
日本ゼオン株式会社
ポジ型レジスト組成物およびレジストパターン形成方法
2日前
日本ゼオン株式会社
熱賦形用多層フィルム、賦形多層フィルム及びその製造方法
9日前
日本ゼオン株式会社
熱伝導シート
10日前
日本ゼオン株式会社
変性共役ジエン系重合体、ゴム組成物、ゴム架橋物およびタイヤの製造方法
8日前
日本ゼオン株式会社
マイクロプレートおよびその製造方法、ならびにマイクロプレート成形用金型
1日前
日本ゼオン株式会社
カーボンナノチューブ集合体及びその製造方法
1か月前
日本ゼオン株式会社
精製方法、単量体組成物、重合体組成物、樹脂組成物、樹脂成形体、および樹脂成形体の製造方法
10日前
東ソー株式会社
摺動部材
4か月前
東ソー株式会社
ゴム組成物
4か月前
株式会社カネカ
硬化性組成物
3か月前
ユニチカ株式会社
透明シート
1か月前
東ソー株式会社
加飾フィルム
5か月前
東ソー株式会社
加飾フィルム
5か月前
続きを見る
他の特許を見る