TOP
|
特許
|
意匠
|
商標
特許ウォッチ
Twitter
他の特許を見る
公開番号
2025169475
公報種別
公開特許公報(A)
公開日
2025-11-13
出願番号
2025135094,2021574598
出願日
2025-08-14,2021-01-12
発明の名称
光電変換素子の製造方法
出願人
日本ゼオン株式会社
代理人
個人
,
個人
,
個人
主分類
H10K
30/50 20230101AFI20251106BHJP()
要約
【課題】優れた光電変換効率を示し、かつ、製造が容易な光電変換素子の製造方法の提供。
【解決手段】透光性基板と、透明導電膜と、第一導電層と、発電層と、第二導電層とをこの順に備えた積層体が一体化されてなり、前記第二導電層が、少なくとも単層カーボンナノチューブを含む多孔質自立シートからなる、光電変換素子の製造方法。前記製造方法は、前記発電層及び前記多孔質自立シートの少なくとも一方の接合面が溶媒又は溶液を保持した状態で、前記多孔質自立シートを前記発電層に積層する工程と、前記発電層に積層された前記多孔質自立シートを加熱プレスする工程とを含む。
【選択図】図1
特許請求の範囲
【請求項1】
光電変換素子の製造方法であって、
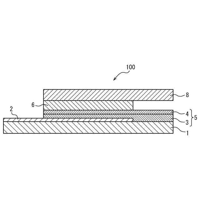
前記光電変換素子は、透光性基板と、透明導電膜と、第一導電層と、発電層と、第二導電層とをこの順に備えた積層体が一体化されてなり、
前記第二導電層が、少なくとも単層カーボンナノチューブを含む多孔質自立シートからなり、
前記製造方法は、
前記発電層及び前記多孔質自立シートの少なくとも一方の接合面が溶媒又は溶液を保持した状態で、前記多孔質自立シートを前記発電層に積層する工程と、
前記発電層に積層された前記多孔質自立シートを加熱プレスする工程と
を含む、光電変換素子の製造方法。
続きを表示(約 1,400 文字)
【請求項2】
前記溶媒は、貧溶媒であり、
前記溶媒を含浸させた前記多孔質自立シートを前記発電層に積層する、請求項1に記載の光電変換素子の製造方法。
【請求項3】
光電変換素子の製造方法であって、
前記光電変換素子は、透光性基板と、透明導電膜と、第一導電層と、発電層と、第二導電層とをこの順に備えた積層体が一体化されてなり、
前記第二導電層が、少なくとも単層カーボンナノチューブを含む多孔質自立シートからなり、
前記製造方法は、
前記発電層及び前記多孔質自立シートの少なくとも一方の接合面が溶媒又は溶液を保持した状態で、前記多孔質自立シートを前記発電層に積層する工程と、
前記発電層に積層された前記多孔質自立シートを加熱プレスする工程と
を含み、
前記発電層は、ペロブスカイト化合物からなる層であり、
前記溶液は、ペロブスカイト化合物の前駆体の少なくとも一種を貧溶媒に溶解してなる溶液であり、
前記溶液を含浸させた前記多孔質自立シートを前記発電層に積層する、光電変換素子の製造方法。
【請求項4】
光電変換素子の製造方法であって、
前記光電変換素子は、透光性基板と、透明導電膜と、第一導電層と、発電層と、第二導電層とをこの順に備えた積層体が一体化されてなり、
前記第二導電層が、少なくとも単層カーボンナノチューブを含む多孔質自立シートからなり、
前記発電層と前記第二導電層との間の少なくとも一部に接合層を備え、
前記接合層は、有機材料Aからなり、かつ、前記発電層及び前記第二導電層とは異なる組成及び性状を有し、
前記製造方法は、
前記発電層及び前記多孔質自立シートの少なくとも一方の接合面が溶媒又は溶液を保持した状態で、前記多孔質自立シートを前記発電層に積層する工程と、
前記発電層に積層された前記多孔質自立シートを加熱プレスする工程と
を含み、
前記溶液は、前記有機材料Aを貧溶媒に溶解してなる有機材料含有溶液であり、
前記有機材料含有溶液を含浸させた前記多孔質自立シートを前記発電層に積層する、光電変換素子の製造方法。
【請求項5】
前記多孔質自立シートは、前記有機材料Aを含む、請求項4に記載の光電変換素子の製造方法。
【請求項6】
前記発電層がペロブスカイト化合物を含む、請求項1~2、4~5のいずれか1項に記載の光電変換素子の製造方法。
【請求項7】
前記多孔質自立シートは、前記発電層を構成する材料、又は、前記発電層を構成する材料の少なくとも一部を含む、請求項1~3のいずれか1項に記載の光電変換素子の製造方法。
【請求項8】
前記多孔質自立シートの膜厚が20μm以上である、請求項1~7のいずれか1項に記載の光電変換素子の製造方法。
【請求項9】
前記単層カーボンナノチューブは、平均直径(Av)と直径の標準偏差(σ)とが、関係式:0.20<(3σ/Av)<0.60を満たす、請求項1~8のいずれか1項に記載の光電変換素子の製造方法。
【請求項10】
前記単層カーボンナノチューブは、吸着等温線から得られるt-プロットが上に凸な形状を示す、請求項1~9のいずれか1項に記載の光電変換素子の製造方法。
(【請求項11】以降は省略されています)
発明の詳細な説明
【技術分野】
【0001】
本発明は、光電変換素子及びその製造方法に関するものである。
続きを表示(約 1,200 文字)
【背景技術】
【0002】
光エネルギーを電力に変換する光電変換素子として、太陽電池が注目されている。太陽電池には、例えばペロブスカイト化合物を発電層として用いたペロブスカイト太陽電池などの種々のタイプがある。近年、光電変換素子や太陽電池の光電変換効率を高めるべく、多くの検討がなされている。
【0003】
例えば特許文献1では、柔軟性を有する複合自立膜であって、繊維状及び/又はナノチューブ状の構造材料を含み柔軟性を有する構造保持層と、当該構造保持層の表面に形成された半導体層とを備えた複合自立膜を備えた太陽電池が提案されている。
【0004】
また、特許文献2では、基材と、第一導電層と、ペロブスカイト層を含む導電材と、をこの順に備えた固体接合型光電変換素子であって、前記導電材が自立性を有する固体接合型光電変換素子が提案されている。
【0005】
また、非特許文献1には、ペロブスカイト膜の上に厚さ約100nmの単層カーボンナノチューブを備えてなるペロブスカイト太陽電池が提案されている。
【先行技術文献】
【特許文献】
【0006】
特開2015-185836号公報
国際公開第2017/142074号
【非特許文献】
【0007】
Sakaguchi et al., “Non-doped and unsorted single-walled carbon nanotubes as carrier-selective, transparent, and conductive electrode for perovskite solar cells”, MRS Communications (2018), 8, p.1058-1063, Materials Research Society, 2018
【発明の概要】
【発明が解決しようとする課題】
【0008】
しかし、従来の光電変換素子には、優れた光電変換効率を示し、かつ、製造が容易であるという点において、改善の余地があった。
【0009】
そこで、本発明は、優れた光電変換効率を示し、かつ、製造が容易な光電変換素子及び当該光電変換素子の製造方法を提供することを目的とする。
【課題を解決するための手段】
【0010】
本発明者は、上記課題を解決することを目的として鋭意検討を行った。そして、本発明者は、少なくとも単層カーボンナノチューブを含む多孔質自立シートを光電変換素子の発電層上に設けることで、当該多孔質自立シートに、ホール輸送層としての機能及び集電電極としての機能を発揮させることができ、さらには、得られる光電変換素子は、優れた光電変換効率を示すとともに、製造が容易となることを見出し、本発明を完成させた。
(【0011】以降は省略されています)
この特許をJ-PlatPat(特許庁公式サイト)で参照する
関連特許
日本ゼオン株式会社
構造体
21日前
日本ゼオン株式会社
熱伝導シート
1か月前
日本ゼオン株式会社
シースアダプタ
1か月前
日本ゼオン株式会社
キャップ及び容器
1か月前
日本ゼオン株式会社
エポキシ樹脂組成物
27日前
日本ゼオン株式会社
医療機器用偏向操作装置
1か月前
日本ゼオン株式会社
医療機器用偏向操作装置
1か月前
日本ゼオン株式会社
硫化カルボニルの製造方法
27日前
日本ゼオン株式会社
熱伝導シート及びその製造方法
1か月前
日本ゼオン株式会社
負極及びナトリウムイオン電池
1か月前
日本ゼオン株式会社
IABP用バルーンカテーテル
1か月前
日本ゼオン株式会社
電極活物質層の製造方法及び製造装置
1か月前
日本ゼオン株式会社
ボンド磁石の製造方法及びボンド磁石
1か月前
日本ゼオン株式会社
熱伝導シート及び熱伝導シートの製造方法
1か月前
日本ゼオン株式会社
熱伝導シート及び熱伝導シートの製造方法
1か月前
日本ゼオン株式会社
熱伝導シート及び熱伝導シートの製造方法
1か月前
日本ゼオン株式会社
識別媒体、物品、及び識別媒体の使用方法
1か月前
日本ゼオン株式会社
熱伝導シート及び熱伝導シートの製造方法
1か月前
日本ゼオン株式会社
細胞培養容器および細胞培養容器の製造方法
1か月前
日本ゼオン株式会社
ポジ型レジスト組成物およびレジストパターン形成方法
1か月前
日本ゼオン株式会社
光電変換素子の製造方法
13日前
日本ゼオン株式会社
マイクロプレートおよびその製造方法、ならびにマイクロプレート成形用金型
1か月前
日本ゼオン株式会社
誘電体層用バインダー組成物、誘電体層用スラリー組成物、誘電体層、及び積層セラミックコンデンサ
1か月前
個人
積和演算用集積回路
20日前
サンケン電気株式会社
半導体装置
19日前
日機装株式会社
半導体発光装置
14日前
旭化成株式会社
発光素子
29日前
エイブリック株式会社
縦型ホール素子
1か月前
エイブリック株式会社
縦型ホール素子
1か月前
ローム株式会社
抵抗チップ
1か月前
三菱電機株式会社
半導体装置
28日前
三菱電機株式会社
半導体装置
6日前
株式会社半導体エネルギー研究所
表示装置
1か月前
株式会社東芝
半導体装置
6日前
富士電機株式会社
半導体装置
1か月前
ローム株式会社
半導体集積回路
28日前
続きを見る
他の特許を見る