TOP
|
特許
|
意匠
|
商標
特許ウォッチ
Twitter
他の特許を見る
公開番号
2025149592
公報種別
公開特許公報(A)
公開日
2025-10-08
出願番号
2024050334
出願日
2024-03-26
発明の名称
電極活物質層の製造方法及び製造装置
出願人
日本ゼオン株式会社
代理人
弁理士法人酒井国際特許事務所
主分類
H01M
4/139 20100101AFI20251001BHJP(基本的電気素子)
要約
【課題】目付量の搬送方向における変動係数が小さい電極活物質層を製造しうる、電極活物質層の製造方法。
【解決手段】電極活物質及び結着材を含む粉体を、前記粉体の搬送方向に速度V1で動く支持面により支持し、搬送する第一工程、前記支持面により支持されて搬送される前記粉体を、前記支持面と周速度V2で回転するスキージロールの周面との間隙を通過させて、粉体層を形成する第二工程、及び前記粉体層を圧縮して前記電極活物質及び前記結着材を含む電極活物質層を形成する第三工程を含み、前記周速度V2の前記速度V1に対する速度比率R1が、-7.5%以上0.0%以下である、電極活物質層の製造方法。
【選択図】図1
特許請求の範囲
【請求項1】
電極活物質及び結着材を含む粉体を、前記粉体の搬送方向に速度V1で動く支持面により支持し、搬送する第一工程、
前記支持面により支持されて搬送される前記粉体を、前記支持面と周速度V2で回転するスキージロールの周面との間隙を通過させて、粉体層を形成する第二工程、及び
前記粉体層を圧縮して前記電極活物質及び前記結着材を含む電極活物質層を形成する第三工程を含み、
前記周速度V2の前記速度V1に対する速度比率R1が、-7.5%以上0.0%以下である、
電極活物質層の製造方法。
続きを表示(約 620 文字)
【請求項2】
前記速度V1が、40m/分以上300m/分以下である、請求項1に記載の電極活物質層の製造方法。
【請求項3】
前記速度比率R1が、-4.0%以上-1.3%以下である、請求項1又は2に記載の電極活物質層の製造方法。
【請求項4】
前記第一工程における前記支持面が、速度V1で搬送される基材の面である、請求項1又は2に記載の電極活物質層の製造方法。
【請求項5】
前記第一工程における前記支持面が、周速度V1で回転する支持ロールの周面である、請求項1又は2に記載の電極活物質層の製造方法。
【請求項6】
請求項1又は2に記載の電極活物質層の製造方法を行う製造装置であって、
前記支持面に支持された前記粉体を搬送できるように構成された搬送部と、
前記支持面と対向する周面を有するスキージロールであって、軸を中心として回転し、前記粉体を均して前記粉体層を形成できるように構成された前記スキージロールと、
前記粉体層を圧縮して電極活物質層を形成できるように構成された圧縮部と、を含み、
前記支持面と前記スキージロールの前記周面との間には間隙が設けられ、
前記搬送部は、前記粉体を、前記間隙を通過させるように搬送でき、
前記圧縮部は、前記粉体層を圧縮して電極活物質層を形成できる、
電極活物質層の製造装置。
発明の詳細な説明
【技術分野】
【0001】
本発明は、電極活物質層の製造方法及び製造装置に関する。
続きを表示(約 2,300 文字)
【背景技術】
【0002】
リチウムイオン二次電池などの電池が備える電極は、通常集電体上に、活物質を含む材料から形成された層を備える。以下、電極に含まれる活物質を電極活物質ともいい、電極が備える、活物質を含む材料から形成された層を電極活物質層ともいう。
電極活物質及び結着材を含む複合粒子の粉体を集電体上に堆積させて粉体層を形成し、粉体層を圧縮することにより電極活物質層を製造する技術が知られている(特許文献1参照)。
【先行技術文献】
【特許文献】
【0003】
特開2016-115569号公報
【発明の概要】
【発明が解決しようとする課題】
【0004】
しかしながら、特許文献1に記載の技術では、集電体上における、単位面積当たりの電極活物質層の質量(目付量)のバラツキが、電極活物質層の製造における搬送方向において大きい場合があった。電極活物質層の目付量のバラツキを小さくすることは、電極を組み込んだ電池の性能を一定に近づけるために、好ましい。バラツキの程度は、変動係数を指標として評価しうる。
【0005】
したがって、単位面積あたりの電極活物質層の質量(目付量)の、搬送方向における変動係数が小さい電極活物質層を製造しうる、電極活物質層の製造方法;かかる製造方法を行いうる電極活物質層の製造装置;が求められる。
【課題を解決するための手段】
【0006】
本発明者は、前記課題を解決するべく、鋭意検討した、その結果、スキージロールの周速度V2の、粉体を支持する支持面の速度V1に対する速度比率R1を所定の範囲とすることで前記課題が解決できることを見出し、本発明を完成させた。
すなわち、本発明は、以下を提供する。
【0007】
<1> 電極活物質及び結着材を含む粉体を、前記粉体の搬送方向に速度V1で動く支持面により支持し、搬送する第一工程、
前記支持面により支持されて搬送される前記粉体を、前記支持面と周速度V2で回転するスキージロールの周面との間隙を通過させて、粉体層を形成する第二工程、及び
前記粉体層を圧縮して前記電極活物質及び前記結着材を含む電極活物質層を形成する第三工程を含み、
前記周速度V2の前記速度V1に対する速度比率R1が、-7.5%以上0.0%以下である、
電極活物質層の製造方法。
<2> 前記速度V1が、40m/分以上300m/分以下である、<1>に記載の電極活物質層の製造方法。
<3> 前記速度比率R1が、-4.0%以上-1.3%以下である、<1>又は<2>に記載の電極活物質層の製造方法。
<4> 前記第一工程における前記支持面が、速度V1で搬送される基材の面である、<1>~<3>のいずれか一項に記載の電極活物質層の製造方法。
<5> 前記第一工程における前記支持面が、周速度V1で回転する支持ロールの周面である、<1>~<4>のいずれか一項に記載の電極活物質層の製造方法。
<6> <1>~<5>のいずれか一項に記載の電極活物質層の製造方法を行う製造装置であって、
前記支持面に支持された前記粉体を搬送できるように構成された搬送部と、
前記支持面と対向する周面を有するスキージロールであって、軸を中心として回転し、前記粉体を均して前記粉体層を形成できるように構成された前記スキージロールと、
前記粉体層を圧縮して電極活物質層を形成できるように構成された圧縮部と、を含み、
前記支持面と前記スキージロールの前記周面との間には間隙が設けられ、
前記搬送部は、前記粉体を、前記間隙を通過させるように搬送でき、
前記圧縮部は、前記粉体層を圧縮して電極活物質層を形成できる、
電極活物質層の製造装置。
【発明の効果】
【0008】
本発明によれば、単位面積あたりの電極活物質層の質量の、搬送方向における変動係数が小さい電極活物質層を製造しうる、電極活物質層の製造方法;かかる製造方法を行いうる電極活物質層の製造装置;を提供できる。
【図面の簡単な説明】
【0009】
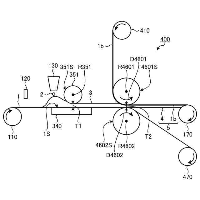
図1は、本発明の一実施形態に係る電極活物質層の製造方法を行いうる、実施形態1の製造装置を模式的に示す側面図である。
図2は、本発明の一実施形態に係る電極活物質層の製造方法を行いうる、実施形態2の製造装置を模式的に示す側面図である。
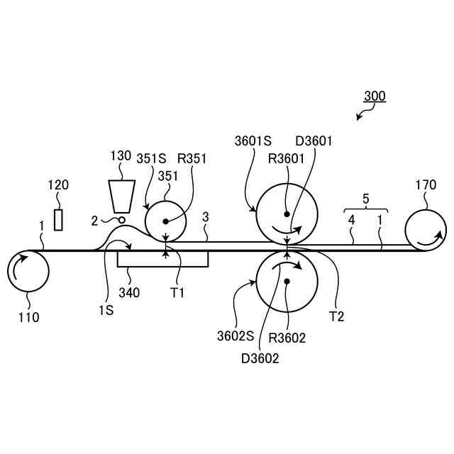
図3は、本発明の一実施形態に係る電極活物質層の製造方法を行いうる、実施形態3の製造装置を模式的に示す側面図である。
図4は、本発明の一実施形態に係る電極活物質層の製造方法を行いうる、実施形態4の製造装置を模式的に示す側面図である。
【発明を実施するための形態】
【0010】
以下、本発明について実施形態及び例示物を示して詳細に説明する。ただし、本発明は以下に示す実施形態及び例示物に限定されるものではなく、本発明の特許請求の範囲及びその均等の範囲を逸脱しない範囲において任意に変更して実施しうる。以下に示す実施形態の構成要素は、適宜組み合わせうる。また、図において、同一の構成要素には同一の符号を付し、その説明を省略する場合がある。
(【0011】以降は省略されています)
この特許をJ-PlatPat(特許庁公式サイト)で参照する
関連特許
日本ゼオン株式会社
熱伝導シート
1日前
日本ゼオン株式会社
シースアダプタ
1日前
日本ゼオン株式会社
キャップ及び容器
1日前
日本ゼオン株式会社
医療機器用偏向操作装置
1日前
日本ゼオン株式会社
延伸フィルムの製造方法
4日前
日本ゼオン株式会社
医療機器用偏向操作装置
1日前
日本ゼオン株式会社
IABP用バルーンカテーテル
1日前
日本ゼオン株式会社
熱伝導シート及びその製造方法
2日前
日本ゼオン株式会社
電極活物質層の製造方法及び製造装置
3日前
日本ゼオン株式会社
ボンド磁石の製造方法及びボンド磁石
1日前
日本ゼオン株式会社
熱伝導シート及び熱伝導シートの製造方法
2日前
日本ゼオン株式会社
熱伝導シート及び熱伝導シートの製造方法
2日前
日本ゼオン株式会社
熱伝導シート及び熱伝導シートの製造方法
2日前
日本ゼオン株式会社
熱伝導シート及び熱伝導シートの製造方法
2日前
日本ゼオン株式会社
識別媒体、物品、及び識別媒体の使用方法
2日前
日本ゼオン株式会社
非水系二次電池用負極材料シートの製造方法
4日前
日本ゼオン株式会社
細胞培養容器および細胞培養容器の製造方法
1日前
日本ゼオン株式会社
カーボンナノチューブ乾燥物及びその製造方法
4日前
日本ゼオン株式会社
ポジ型レジスト組成物およびレジストパターン形成方法
2日前
日本ゼオン株式会社
熱賦形用多層フィルム、賦形多層フィルム及びその製造方法
9日前
日本ゼオン株式会社
変性共役ジエン系重合体、ゴム組成物、ゴム架橋物およびタイヤの製造方法
8日前
日本ゼオン株式会社
マイクロプレートおよびその製造方法、ならびにマイクロプレート成形用金型
1日前
東レ株式会社
多孔質炭素シート
1か月前
日本発條株式会社
積層体
12日前
個人
フレキシブル電気化学素子
1日前
ローム株式会社
半導体装置
10日前
個人
防雪防塵カバー
12日前
ローム株式会社
半導体装置
3日前
キヤノン株式会社
電子機器
1か月前
株式会社ユーシン
操作装置
1日前
ローム株式会社
半導体装置
8日前
ローム株式会社
半導体装置
1か月前
ローム株式会社
半導体装置
10日前
ローム株式会社
半導体装置
10日前
株式会社GSユアサ
蓄電装置
12日前
太陽誘電株式会社
コイル部品
1日前
続きを見る
他の特許を見る