TOP
|
特許
|
意匠
|
商標
特許ウォッチ
Twitter
他の特許を見る
公開番号
2025167120
公報種別
公開特許公報(A)
公開日
2025-11-07
出願番号
2024071443
出願日
2024-04-25
発明の名称
ヒートシンク
出願人
株式会社レゾナック
代理人
個人
,
個人
主分類
H01L
23/36 20060101AFI20251030BHJP(基本的電気素子)
要約
【課題】ヒートシンクを成形するためのコストの上昇を抑制しつつ、放熱性能が高いヒートシンクを提供する。
【解決手段】平板状のベース部と、ベース部の板面から突出する複数の第1のフィンと、第1のフィンとは別体で成形されるとともに、複数の第1のフィンの端面に接合される第2のフィンと、を備えるヒートシンク。
【選択図】図2
特許請求の範囲
【請求項1】
平板状のベース部と、
前記ベース部の板面から突出する複数の第1のフィンと、
前記第1のフィンとは別体で成形されるとともに、前記複数の第1のフィンの端面に接合される第2のフィンと、
を備えるヒートシンク。
続きを表示(約 500 文字)
【請求項2】
前記第2のフィンは、一枚の金属板を曲げて成形されるフィンである
請求項1に記載のヒートシンク。
【請求項3】
前記第2のフィンは、前記金属板を折り曲げて山部と谷部とが交互に複数成形されたコルゲートフィンである
請求項2に記載のヒートシンク。
【請求項4】
前記谷部が前記第1のフィンの端面に接触し、当該谷部に対して前記山部側からレーザ光が照射されることで、当該谷部が当該第1のフィンの端面に接合されている
請求項3に記載のヒートシンク。
【請求項5】
前記第1のフィンは、ピンフィンである
請求項1に記載のヒートシンク。
【請求項6】
前記ピンフィンは、当該ピンフィンの突出方向に直交する面にて切断した断面形状がひし形である
請求項5に記載のヒートシンク。
【請求項7】
前記第1のフィンは、切削により成形される
請求項6に記載のヒートシンク。
【請求項8】
前記第1のフィンは、鍛造により成形される
請求項5に記載のヒートシンク。
発明の詳細な説明
【技術分野】
【0001】
本発明は、ヒートシンクに関する。
続きを表示(約 2,100 文字)
【背景技術】
【0002】
特許文献1に記載されたヒートシンクは、厚み方向から視た平面視において長方形状を呈し、発熱体が搭載される発熱体搭載面を備えたベース板と、前記ベース板における前記発熱体搭載面の背面に配置された複数のフィンと、を有する。前記フィンは、前記ベース板から突出し、前記ベース板の外周端縁におけるいずれか一辺に平行な方向である第1方向に互いに間隔をあけて配置されるとともに、前記第1方向と直交する第2方向に延在したフィン基部と、前記フィン基部から突出し、前記第2方向に間隔をあけて配置された複数のピンと、を有する。そして、前記第2方向における前記ピン同士の間隔Wpが前記第1方向における前記フィン基部同士の間隔Wbよりも狭く、前記ピンの高さHpに対する前記フィン基部の高さHbの比Hb/Hpが0<Hb/Hp<0.20を満たす。特許文献1に記載されたヒートシンクの製造方法は、押出成形により、前記ベース板と、前記ベース板から突出し、板状を呈するとともに押出方向に直角な方向に互いに間隔をあけて配置された複数のフィン予定部とを備えた押出形材を作製し、複数の前記フィン予定部に前記押出方向とは異なる方向に延びる直線に沿って切削加工を施して前記フィンを形成する。
【先行技術文献】
【特許文献】
【0003】
特開2020-61509号公報
【発明の概要】
【発明が解決しようとする課題】
【0004】
厚みのある板状の放熱性材料に切削加工を施してしてフィンを成形すると、フィンとベース板とが一体で構成されるため、放熱効果の高いヒートシンクとなる。しかしながら、切削加工を行なうと切粉が出る分の材料歩留まりが低くなり、ヒートシンクを成形するためのコストが上昇しやすい。切削加工のコストを低減するために押出成形により成形された板状のフィンに対して切削加工を行なうものがある。この場合、成形されるフィンの形状は、押出成形により作成される板状フィンの形状から削り出せるものに限定される。
【0005】
本発明は、ヒートシンクを成形するためのコストの上昇を抑制しつつ、放熱性能が高いヒートシンクを提供することを目的とする。
【課題を解決するための手段】
【0006】
本発明が適用されるヒートシンクは、平板状のベース部と、前記ベース部の板面から突出する複数の第1のフィンと、前記第1のフィンとは別体で成形されるとともに、前記複数の第1のフィンの端面に接合される第2のフィンと、を備えるヒートシンクである。
ここで、前記第2のフィンは、一枚の金属板を曲げて成形されるフィンとしてもよい。
また、前記第2のフィンは、前記金属板を折り曲げて山部と谷部とが交互に複数成形されたコルゲートフィンとしてもよい。
また、前記谷部が前記第1のフィンの端面に接触し、当該谷部に対して前記山部側からレーザ光が照射されることで、当該谷部が当該第1のフィンの端面に接合されていてもよい。
また、前記第1のフィンは、ピンフィンであってもよい。
また、前記ピンフィンは、当該ピンフィンの突出方向に直交する面にて切断した断面形状がひし形であってもよい。
また、前記第1のフィンは、切削により成形されてもよい。
また、前記第1のフィンは、鍛造により成形されてもよい。
【発明の効果】
【0007】
本願の発明によると、ヒートシンクを成形するためのコストの上昇を抑制しつつ、放熱性能が高いヒートシンクを提供することができる。
【図面の簡単な説明】
【0008】
実施形態に係る冷却装置を構成する部品を分解した図の一例である。
冷却装置の断面の一例を示す図である。
ヒートシンクの一例を示す図である。
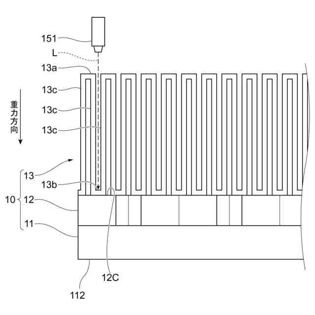
平板状部と複数のピンフィンとの製造方法について説明するための図である。
ピンフィンとコルゲートフィンとをレーザ溶接する状態を示す図である。
溶接経路の一例を示す図である。
溶接部の一例を示す図である。
【発明を実施するための形態】
【0009】
以下、添付図面を参照して、本発明の実施形態について詳細に説明する。
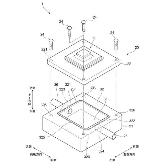
図1は、実施形態に係る冷却装置1を構成する部品を分解した図の一例である。
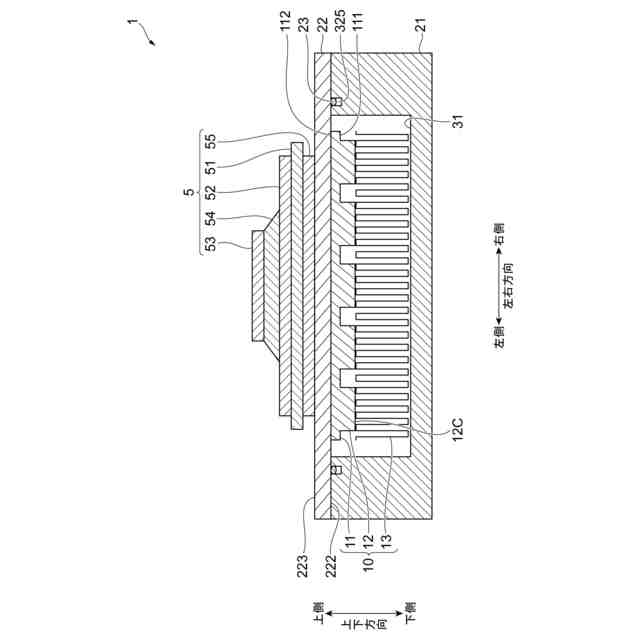
図2は、冷却装置1の断面の一例を示す図である。図2は、図1の冷却装置1の前後方向に垂直な面の断面図である。
【0010】
〔冷却装置1〕
実施形態に係る冷却装置1は、ヒートシンク10と、ヒートシンク10を収容するとともに、冷却液が流れる空間を成形するケース20とを備えている。冷却装置1は、ケース20内の空間を流れる冷却液を用いて、半導体モジュール5を冷却する液冷式冷却装置である。
(【0011】以降は省略されています)
この特許をJ-PlatPat(特許庁公式サイト)で参照する
関連特許
株式会社レゾナック
冷却器
17日前
株式会社レゾナック
熱交換器、及び熱交換器の製造方法
9日前
株式会社レゾナック建材
光硬化性シート、光硬化性シートの製造方法
17日前
株式会社レゾナック
エポキシ樹脂組成物及び半導体装置
11日前
株式会社レゾナック
半導体装置の製造方法、及び、配線基板
17日前
株式会社レゾナック
不織布製造用ポリアミドイミド樹脂組成物
1日前
株式会社レゾナック
研磨液、研磨方法、部品の製造方法、及び、半導体部品の製造方法
1日前
株式会社レゾナック
感光性樹脂組成物、感光性エレメント、プリント配線板、及びプリント配線板の製造方法
1日前
株式会社レゾナック
感光性樹脂組成物、感光性エレメント、プリント配線板、及びプリント配線板の製造方法
17日前
株式会社レゾナック
プライマー、プライマー層付き基板、プライマー層付き基板の製造方法、半導体装置及び半導体装置の製造方法
9日前
APB株式会社
蓄電セル
1か月前
東ソー株式会社
絶縁電線
1か月前
個人
フレキシブル電気化学素子
1か月前
日新イオン機器株式会社
イオン源
1か月前
ローム株式会社
半導体装置
1か月前
株式会社ユーシン
操作装置
1か月前
マクセル株式会社
電源装置
1か月前
株式会社東芝
端子台
1か月前
富士電機株式会社
電磁接触器
9日前
株式会社GSユアサ
蓄電装置
9日前
株式会社GSユアサ
蓄電設備
1か月前
株式会社GSユアサ
蓄電設備
1か月前
三菱電機株式会社
回路遮断器
17日前
株式会社GSユアサ
蓄電装置
1か月前
株式会社GSユアサ
蓄電装置
1か月前
オムロン株式会社
電磁継電器
1か月前
株式会社GSユアサ
蓄電装置
23日前
太陽誘電株式会社
コイル部品
1か月前
株式会社ホロン
冷陰極電子源
1か月前
北道電設株式会社
配電具カバー
1か月前
日新イオン機器株式会社
基板処理装置
1か月前
日本特殊陶業株式会社
保持装置
1か月前
トヨタ自動車株式会社
冷却構造
1か月前
サクサ株式会社
電池の固定構造
1か月前
トヨタ自動車株式会社
蓄電装置
1か月前
大電株式会社
電線又はケーブル
1日前
続きを見る
他の特許を見る