TOP
|
特許
|
意匠
|
商標
特許ウォッチ
Twitter
他の特許を見る
公開番号
2025171420
公報種別
公開特許公報(A)
公開日
2025-11-20
出願番号
2024076758
出願日
2024-05-09
発明の名称
熱交換器、及び熱交換器の製造方法
出願人
株式会社レゾナック
代理人
弁理士法人太陽国際特許事務所
主分類
F28F
21/06 20060101AFI20251113BHJP(熱交換一般)
要約
【課題】樹脂部品を含んで構成され、簡便に製造可能な熱交換器、及び熱交換器の製造方法を提供する。
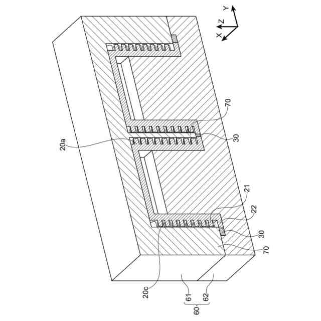
【解決手段】熱交換器は、冷熱媒の流入口及び流出口を有し、かつ上面が開口している樹脂筐体と、前記樹脂筐体内に配置され、上面が開口している複数の熱交換容器と、前記樹脂筐体の上面側に設けられる樹脂蓋部と、を備える。隣り合う前記熱交換容器同士の対向する側面の各々に、複数のフィンが配置され、前記熱交換容器は、前記フィンを有する前記側面の上部縁にフランジを有し、前記フランジの幅が、前記フィンの長さよりも長い。前記樹脂蓋部は、前記フランジの周囲に設けられている。
【選択図】図1
特許請求の範囲
【請求項1】
冷熱媒の流入口及び流出口を有し、かつ上面が開口している樹脂筐体と、
前記樹脂筐体内に配置され、上面が開口している複数の熱交換容器と、
前記樹脂筐体の上面側に設けられる樹脂蓋部と、を備え、
隣り合う前記熱交換容器同士の対向する側面の各々に、複数のフィンが配置され、
前記熱交換容器は、前記フィンを有する前記側面の上部縁にフランジを有し、前記フランジの幅が、前記フィンの長さよりも長く、
前記樹脂蓋部は、前記フランジの周囲に設けられている、熱交換器。
続きを表示(約 690 文字)
【請求項2】
冷熱媒が前記熱交換容器の側面の周囲を周回する、請求項1に記載の熱交換器。
【請求項3】
前記樹脂蓋部と前記樹脂筐体とを連結する樹脂連結部をさらに有する、請求項1又は請求項2に記載の熱交換器。
【請求項4】
第1金型に樹脂を射出し、冷熱媒の流入口及び流出口を有し、かつ上面が開口する樹脂筐体の少なくとも一部を成形する工程と、
第2金型内に複数の熱交換容器を配置して、前記第2金型内に樹脂を射出し、樹脂蓋部を成形する工程と、
を有し、
前記熱交換容器は、上面が開口し、側面の少なくとも一部に複数のフィンを有し、前記フィンを有する前記側面の上部縁にフランジを有し、前記フランジの幅が前記フィンの長さよりも長く、
前記第2金型の上型は延在部を有し、前記延在部は、隣り合う前記熱交換容器の前記フィンが対向する間を前記熱交換容器の前記側面に沿って延び、かつ、前記延在部は、前記フランジの端部よりも前記熱交換容器の前記側面側に食い込んでいる、熱交換器の製造方法。
【請求項5】
ダイスライドインジェクションモールド法によって、前記第2金型を前記第1金型と対向するように配置して、樹脂を射出し、前記樹脂蓋部から前記樹脂筐体へ連結する樹脂連結部を形成する工程を有する、請求項4に記載の熱交換器の製造方法。
【請求項6】
前記樹脂蓋部から前記樹脂筐体へ連結する樹脂連結部を、接着シート、パッキンシール又は振動溶着によって形成する工程を有する、請求項4に記載の熱交換器の製造方法。
発明の詳細な説明
【技術分野】
【0001】
本開示は、熱交換器、及び熱交換器の製造方法に関する。
続きを表示(約 2,300 文字)
【背景技術】
【0002】
スマートフォン、パーソナルコンピューター等の電子機器、電気自動車、ハイブリッド車等に搭載される電池モジュールなどの分野では、発熱対策として水冷式冷却器、ヒートパイプ等を組み込む技術が知られている。また、シリコンカーバイド製等のパワー半導体モジュールにおいても、発熱対策のために冷却板、ヒートシンク等を用いた対策が提案されている。
【0003】
例えば、ハイブリッド自動車、電気自動車等のモータを搭載する車両には、モータを駆動する駆動手段が搭載されている。駆動手段は、IGBT(Insulated Gate Bipolar Transistor)等のパワー半導体を複数備えるパワーモジュール、キャパシタ等の電子部品、これら電子部品を電気的に接合するバスバーなどから構成される。モータを駆動する際には、パワー半導体、キャパシタ等、これら電子部品を接合するバスバーに大電流が流れることがある。この場合、スイッチング損失、抵抗損失等によって駆動手段が発熱するため、駆動手段を効率的に冷却することが望まれる。また、車両に搭載された電池モジュールからの発熱についても効率的に冷却することが望まれる。
【0004】
他方、寒冷地等の低温環境下では、電気自動車のバッテリの電解液の化学反応が鈍くなり、バッテリの性能が低下することが知られている。そこで、低温環境下ではバッテリを加温することが求められる。バッテリ以外にも加温が必要な部材が存在する。
【0005】
熱交換器としては、冷却フィンを有する構造体が挙げられる。熱伝導性の高さから、アルミニウム、銅等の金属製のヒートシンクが用いられる(例えば、特許文献1参照)。
【先行技術文献】
【特許文献】
【0006】
特開平10-92965号公報
【発明の概要】
【発明が解決しようとする課題】
【0007】
しかしながら、金属製のヒートシンクを製造するためには、押出成形、スカイブ加工、カシメ加工等の複雑な製造工程を経る必要がある。そのため、金属製のヒートシンクはコストが高くなりやすい。
また、金属製のヒートシンクを被熱交換体に組み込むためには、多くの工数を要することがある。また、金属製のヒートシンクでは、組み込むためのパッキン、ボルトナット等の部品数が多くなって全体が大きくなり、かつ重量化する。自動車等の移動体にヒートシンクを組み込む場合には、ヒートシンクのサイズが大きくなると車体が大きくなり、また重量化すると燃費が低下するため望ましくない。
そのため、加工が容易で等に容易に組み込むことが可能な樹脂部品で構成される熱交換器が求められている。
【0008】
本開示は上記従来の事情に鑑みてなされたものであり、樹脂部品を含んで構成され、簡便に製造可能な熱交換器、及び熱交換器の製造方法を提供することを目的とする。
【課題を解決するための手段】
【0009】
本開示は、以下の実施形態を含む。
<1> 冷熱媒の流入口及び流出口を有し、かつ上面が開口している樹脂筐体と、
前記樹脂筐体内に配置され、上面が開口している複数の熱交換容器と、
前記樹脂筐体の上面側に設けられる樹脂蓋部と、を備え、
隣り合う前記熱交換容器同士の対向する側面の各々に、複数のフィンが配置され、
前記熱交換容器は、前記フィンを有する前記側面の上部縁にフランジを有し、前記フランジの幅が、前記フィンの長さよりも長く、
前記樹脂蓋部は、前記フランジの周囲に設けられている、熱交換器。
<2> 冷熱媒が前記熱交換容器の側面の周囲を周回する、<1>に記載の熱交換器。
<3> 前記樹脂蓋部と前記樹脂筐体とを連結する樹脂連結部をさらに有する、<1>又は<2>に記載の熱交換器。
<4> 第1金型に樹脂を射出し、冷熱媒の流入口及び流出口を有し、かつ上面が開口する樹脂筐体の少なくとも一部を成形する工程と、
第2金型内に複数の熱交換容器を配置して、前記第2金型内に樹脂を射出し、樹脂蓋部を成形する工程と、
を有し、
前記熱交換容器は、上面が開口し、側面の少なくとも一部に複数のフィンを有し、前記フィンを有する前記側面の上部縁にフランジを有し、前記フランジの幅が前記フィンの長さよりも長く、
前記第2金型の上型は延在部を有し、前記延在部は、隣り合う前記熱交換容器の前記フィンが対向する間を前記熱交換容器の前記側面に沿って延び、かつ、前記延在部は、前記フランジの端部よりも前記熱交換容器の前記側面側に食い込んでいる、熱交換器の製造方法。
<5> ダイスライドインジェクションモールド法によって、前記第2金型を前記第1金型と対向するように配置して、樹脂を射出し、前記樹脂蓋部から前記樹脂筐体へ連結する樹脂連結部を形成する工程を有する、<4>に記載の熱交換器の製造方法。
<6> 前記樹脂蓋部から前記樹脂筐体へ連結する樹脂連結部を、接着シート、パッキンシール又は振動溶着によって形成する工程を有する、<4>に記載の熱交換器の製造方法。
【発明の効果】
【0010】
本開示によれば、樹脂部品を含んで構成され、簡便に製造可能な熱交換器、及び熱交換器の製造方法が提供される。
【図面の簡単な説明】
(【0011】以降は省略されています)
この特許をJ-PlatPat(特許庁公式サイト)で参照する
関連特許
個人
排熱回収装置
3か月前
個人
冷却装置の蒸発器
1か月前
個人
放射冷却装置
1か月前
個人
熱交換装置
6か月前
個人
熱交換装置
1か月前
ホーコス株式会社
熱交換ユニット
10か月前
三恵技研工業株式会社
熱交換器
7か月前
三恵技研工業株式会社
熱交換器
7か月前
株式会社パイオラックス
熱交換器
9か月前
アンリツ株式会社
検査装置
6か月前
アンリツ株式会社
検査装置
6か月前
日産自動車株式会社
熱交換器
9か月前
株式会社ティラド
ラジエータ
10か月前
株式会社アイシン
水噴射冷却システム
10か月前
新光電気工業株式会社
蓄熱装置
2か月前
サンデン株式会社
熱交換器
9か月前
サンデン株式会社
熱交換器
9か月前
栗田工業株式会社
冷却塔システム
9か月前
株式会社デンソー
熱交換器
5か月前
株式会社アイシン
熱交換器
5か月前
株式会社デンソー
熱交換器
5か月前
栗田工業株式会社
冷却塔システム
4か月前
日新電機株式会社
化学蓄熱反応器
11か月前
サンデン株式会社
熱交換器
9か月前
株式会社アイシン
熱交換器
3日前
株式会社デンソー
熱交換器
6か月前
ZACROS株式会社
熱交換装置
7か月前
サンデン株式会社
熱交換器
7か月前
サンデン株式会社
熱交換器
7か月前
株式会社デンソー
熱交換器
6か月前
株式会社神戸製鋼所
積層型熱交換器
6か月前
中部抵抗器株式会社
密閉構造体用冷却装置
11か月前
株式会社デンソー
熱交換装置
1か月前
TPR株式会社
熱電発電機能付き熱交換器
8か月前
古河電気工業株式会社
ヒートパイプ
9か月前
新晃工業株式会社
熱交換器の底板構造
8か月前
続きを見る
他の特許を見る