TOP
|
特許
|
意匠
|
商標
特許ウォッチ
Twitter
他の特許を見る
公開番号
2025040615
公報種別
公開特許公報(A)
公開日
2025-03-25
出願番号
2023147530
出願日
2023-09-12
発明の名称
熱交換器の底板構造
出願人
新晃工業株式会社
代理人
個人
,
個人
主分類
F28F
17/00 20060101AFI20250317BHJP(熱交換一般)
要約
【課題】
フィンアンドチューブの熱交換器において、空気流の圧力損失を低減させるために、熱交換器の底板に排水孔を設けて、凝縮水を該排水孔から排水し、かつ、熱交換性能を低下させないような、底板構造を目的とする。
【解決手段】
フィンアンドチューブの熱交換器のコイルやフィンの凝縮水を受ける底板において、該底板に冷房時に生じる凝縮水のために排水孔を設け、該排水孔は、底板の少なくとも中央部近傍の排水孔と下流の端末近傍の排水孔と設け、端末近傍の排水孔の孔径が中央部近傍の排水孔の孔径よりも大きくするか、端末近傍の排水孔の数が中央部近傍の排水孔の数よりも多くするか、或いは、これらを組み合わせた熱交換器の底板構造。
【選択図】図5
特許請求の範囲
【請求項1】
フィンアンドチューブの熱交換器のコイルやフィンの凝縮水を受ける底板において、
底板に生じる凝縮水のために排水孔を設けて、常に凝縮水を排水することを特徴とする熱交換器の底板構造。
続きを表示(約 290 文字)
【請求項2】
前記排水孔は下流に行くほど多く、及び/又は、孔径を大きくしたことを特徴とする請求項1に記載の熱交換器の底板構造。
【請求項3】
前記排水孔は、底板の少なくとも中央部近傍の排水孔と下流の端末近傍の排水孔とを設け、端末近傍の排水孔の数が中央部近傍の排水孔の数よりも多くしたことを特徴とする請求項2に記載の熱交換器の底板構造。
【請求項4】
前記排水孔は、底板の少なくとも中央部近傍の排水孔と下流の端末近傍の排水孔とを設け、端末近傍の排水孔の孔径が中央部近傍の排水孔の孔径よりも大きくしたことを特徴とする請求項2に記載の熱交換器の底板構造。
発明の詳細な説明
【技術分野】
【0001】
本発明は、フィンアンドチューブの熱交換器において、空気流の圧力損失を低減させるもので、特に、熱交換器の底板構造に関するものである。
続きを表示(約 2,900 文字)
【背景技術】
【0002】
従来のフィンアンドチューブの熱交換器は、図1に示すように、フィンやコイルの主管の保護や、空気などの対象流体を確実に通過させるためにコイルを枠体で覆った構造が知られているが、一般的には、特許文献1に示すように、コイルの下に結露等の凝縮水を集めるドレンパン(図1点線部分212を参照)を配置しており、コイル底板から落下する凝縮水はもっぱらドレンパンから排水していた。
このような、フィンアンドチューブの熱交換器において、冷却や除湿の稼働時に、冷たくなったフィンやコイルの主管に結露した凝縮水を排水するために、底板に排水孔を設けて、凝縮水を排水孔から排水していた。
ところが、熱交換器のコイル底板の表面では、凝縮水が底板表面やコイルに滞留すると、空気の最下流部で滞留した凝縮水が飛散する、又は凝縮水が底板上に溜まり圧力損失が増えるという不都合があった。
【先行技術文献】
【特許文献】
【0003】
特開2023-30659号公報
【発明の概要】
【発明が解決しようとする課題】
【0004】
上記フィンアンドチューブの熱交換器において、熱交換器の底板に排水孔を設けて、凝縮水を排水孔から排水し、熱交換性能を低下させずに圧力損失を低減させるような底板構造を提供することを目的とする。
【課題を解決するための手段】
【0005】
上記の目的を達成するために、熱交換器のコイルに設けたコイルやフィンの凝縮水を受ける底板において、冷房時に生じる凝縮水のために排水孔を設ける熱交換器の底板構造である。
また、底板に設ける前記排水孔の数及び群は下流に行くほど多く、及び/又は、排水孔の孔径は下流に行くほど大きくし、さらに、前記排水孔は、底板の少なくとも中央部近傍の排水孔と下流の端末近傍の排水孔を設け、端末近傍の排水孔の孔径が中央部近傍の排水孔の孔径よりも大きくした熱交換器の底板構造である。
なお、前記排水孔は孔径の大きさと、排水孔の数は、適宜組み合わせて凝縮水を効率的に排出しバイパス空気量を抑制するように設定すれば良い。
【発明の効果】
【0006】
本発明の熱交換器の底板構造によれば、熱交換器のコイルに設けた主管やフィンの凝縮水を受ける底板において、底板に冷房時に生じる凝縮水のために排水孔を設け、該排水孔は下流に行くほど多く、及び/又は、孔径を大きくした熱交換器の底板構造としたので、熱交換器の熱交換性能を維持したまま、底板に滞留する凝縮水を適切に排出することができる。これにより、熱交換性能を維持したまま、圧力損失を低減(図6:5%程度)することができる。
【図面の簡単な説明】
【0007】
前提となる実施例の熱交換器の全体外観の斜視図、
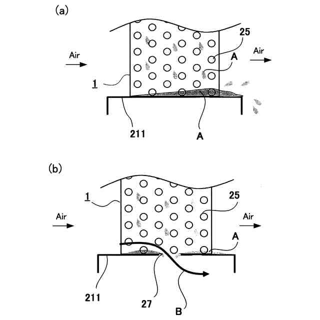
図2(a)は従来の排水孔がない底板の凝縮水の状態を説明する状態図、図2(b)は、本発明の1実施例の排水孔を底板の中央部近傍に設けただけの凝縮水の状態を説明する状態図、
図3(a)はコイル主管の列数が多数の場合(底板の風の流れ方向)、排水孔を底板の中央部近傍に設けただけの凝縮水の状態を説明する状態図、図3(b)は排水孔を底板の風下側端部近傍に設けただけの凝縮水の状態を説明する状態図、
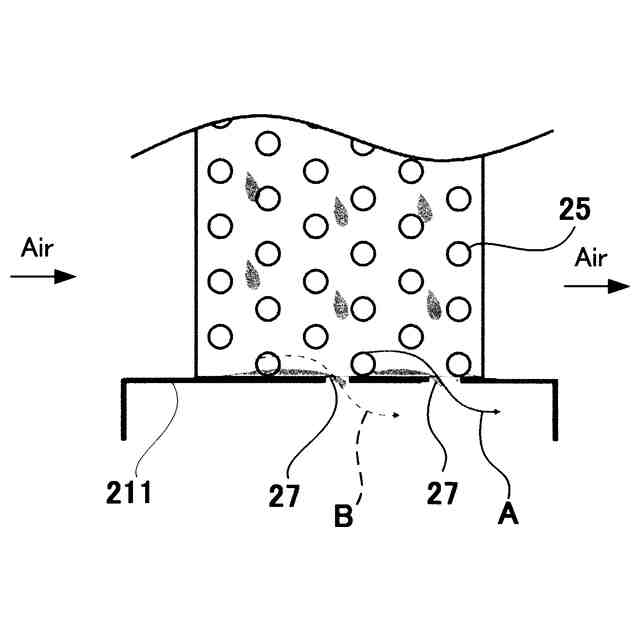
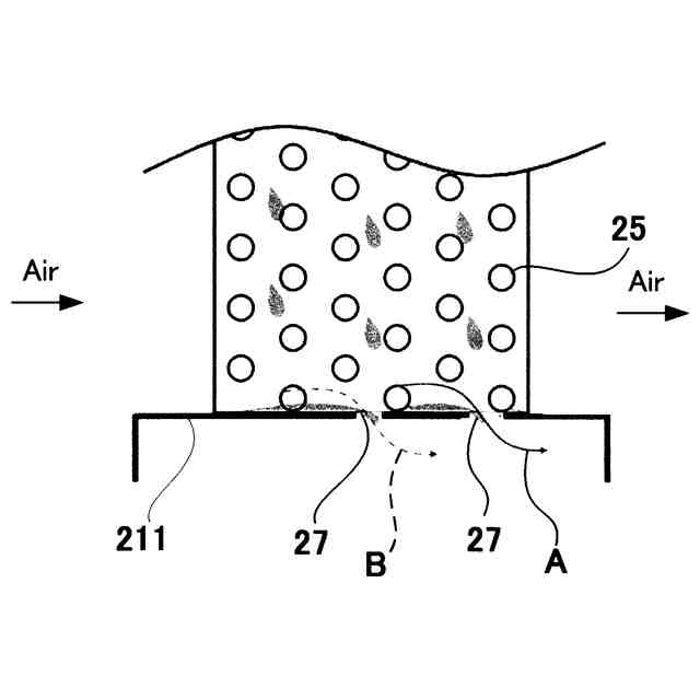
図4(a)から(c)は本発明の別の実施例を説明する図で、孔径が同じ排水孔27を少なくとも底板の中央部近傍と風下側端部近傍に設けた場合、図4(d)から(f)は本発明の別の実施例を説明する図で、孔径が異なる排水孔27を少なくとも底板の中央部近傍と風下側端部近傍に設けた場合を示す説明図、
本発明の実施例の底板構造の図で、バイパス風量の通過する状態、凝縮水の状態を説明する図、
従来の中央に排水口を設けた底板構造(図2(b)の底板)と、本発明の図5の排水孔を底板の中央部近傍と風下側端部近傍に設けた場合のコイル性能と圧力損失を比較したグラフ1の図である。
【発明を実施するための形態】
【0008】
本発明は、フィンアンドチューブの熱交換器において、コイル性能を低下させないために、熱交換器の底板に排水孔を設けて、排水孔から結露などの凝縮水を排水し、かつ、熱交換性能を低下させずに圧力損失を低減するような底板構造であり、本発明の好適な実施例を図に沿って説明する。
【実施例】
【0009】
先ず、排水孔の必要性について説明する。
図1は、フィンアンドチューブの熱交換器1であるが、熱交換器1にはコイル2が枠体21に設けられ、コイル2の片側にヘッダ22が設けられ、このヘッダ22はコイルの主管25が接続され、他方の片側にはUベンド26で主管25はヘッダ22に折り返されており、コイル枠体21には底板211が設けられている。そして、ヘッダ22は冷温水入口221側と冷温水出口222側のヘッダ部分があり、このヘッダ部分の冷温水入口221側と冷温水出口222側には冷温水入口23と冷温水出口24が設けられ、主管25に接続している。必要に応じて前記底板211の更に下部には結露等の排水を一時貯留するドレンパン212が設けられている。
【0010】
従来の排出孔が無い場合には、図2(a)に示すように、凝縮水Aが熱交換器1のコイル2群の下部の底板211に溜まることにより風の流路が制限されコイルの熱交換性能の低下や圧力損失の増加といった不都合が生じる。また、溜まった凝縮水が下流側に飛散し下流側で漏水などの不具合が発生する懸念も生じる。この場合に図2(b)に示すように、排水孔27を底板211の中央近傍に設けると、常時、排水されるのでコイルの列数が少ない場合は有効である。しかし中央近傍の1列の排水孔だと、冷却すべき空気が排水とともに、空気も一緒に流れてバイパスしてしまいこの場合も熱交換器性能の低下等の不都合が生じる。
しかし、コイル列数が多くなると、中央近傍だけの排水孔では凝縮水の排水が不十分となり、底板211に凝縮水が保持されて、フィン面の空気が通過することが阻害され、結果圧力損失の増加やコイルの熱交換性能が低減するという不都合があった。
これを空気の流れに対して直角方向の列数が多い場合を検討すれば、排水孔27を底板211の中央近傍に設けた場合には、図3(a)に示すように凝縮水Aが多くなり、中央部近傍の凝縮水Aは排水されるが、風下側の凝縮水Aが排水されないため、凝縮水Aの水溜まりができ、空気の流れを阻害し、圧力損失の増大にもつながり、また、凝縮水Aの飛散の可能性も高まる。
また、排水孔27を風下側に設けた場合、図3(b)に示すように、風下側の凝縮水Aは排出されるが、逆に、中央部近傍から風上側に凝縮水Aが溜まってしまい。圧力損失の増大につながる。
(【0011】以降は省略されています)
この特許をJ-PlatPat(特許庁公式サイト)で参照する
関連特許
新晃工業株式会社
横吹出形ユニットヒータの異音低減機構
2か月前
個人
排熱回収装置
3か月前
個人
冷却装置の蒸発器
26日前
個人
放射冷却装置
28日前
個人
熱交換装置
1か月前
個人
熱交換装置
6か月前
ホーコス株式会社
熱交換ユニット
9か月前
三恵技研工業株式会社
熱交換器
7か月前
三恵技研工業株式会社
熱交換器
7か月前
アンリツ株式会社
検査装置
6か月前
アンリツ株式会社
検査装置
6か月前
株式会社パイオラックス
熱交換器
9か月前
株式会社ティラド
ラジエータ
10か月前
日産自動車株式会社
熱交換器
9か月前
株式会社アイシン
水噴射冷却システム
9か月前
新光電気工業株式会社
蓄熱装置
2か月前
株式会社デンソー
熱交換器
5か月前
サンデン株式会社
熱交換器
9か月前
株式会社デンソー
熱交換器
6か月前
サンデン株式会社
熱交換器
9か月前
サンデン株式会社
熱交換器
7か月前
株式会社アイシン
熱交換器
5か月前
栗田工業株式会社
冷却塔システム
9か月前
サンデン株式会社
熱交換器
7か月前
ZACROS株式会社
熱交換装置
7か月前
株式会社デンソー
熱交換器
6か月前
サンデン株式会社
熱交換器
9か月前
栗田工業株式会社
冷却塔システム
4か月前
株式会社デンソー
熱交換器
4か月前
株式会社神戸製鋼所
積層型熱交換器
6か月前
TPR株式会社
熱電発電機能付き熱交換器
8か月前
株式会社デンソー
熱交換装置
27日前
古河電気工業株式会社
ヒートパイプ
9か月前
新晃工業株式会社
熱交換器の底板構造
7か月前
新晃工業株式会社
コイルのフィン構造
9か月前
石川県公立大学法人
ヒートパイプ
8か月前
続きを見る
他の特許を見る