TOP
|
特許
|
意匠
|
商標
特許ウォッチ
Twitter
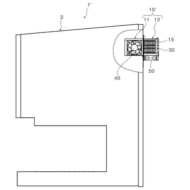
他の特許を見る
10個以上の画像は省略されています。
公開番号
2025070139
公報種別
公開特許公報(A)
公開日
2025-05-02
出願番号
2023180238
出願日
2023-10-19
発明の名称
検査装置
出願人
アンリツ株式会社
代理人
個人
,
個人
主分類
F28D
7/16 20060101AFI20250424BHJP(熱交換一般)
要約
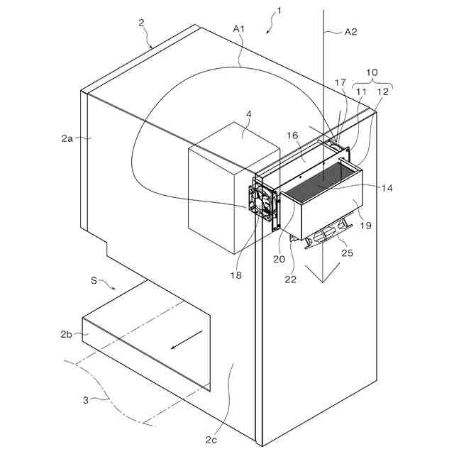
【課題】検査装置の熱交換器において必要な放熱性能を実現する。
【解決手段】X線検査装置1は、熱源を有する筐体2と、筐体2の内外に設けた吸熱部11及び排熱部12を有する熱交換器10を備える。排熱部は、上面の吸気口20と下面の第1排気口21を備えて排熱用フィン14を収納する第1ダクト19と、第1ダクトに連通する第2ダクト22と、傾斜姿勢で第2ダクトに取り付けられた排熱用ファン25を有する。排熱用ファンの吸引力が低下するデッドゾーンZ1,Z2 は第1排熱ダクト19内に入り込まない為(図5)、該ダクト内での吸い込み方向の風量分布のムラが解消し、第2ダクトにより流路が絞りこまれて該ダクト内の流速が高まり、排熱用フィンの熱伝達効率が高くなり放熱能力が良くなる。
【選択図】図1
特許請求の範囲
【請求項1】
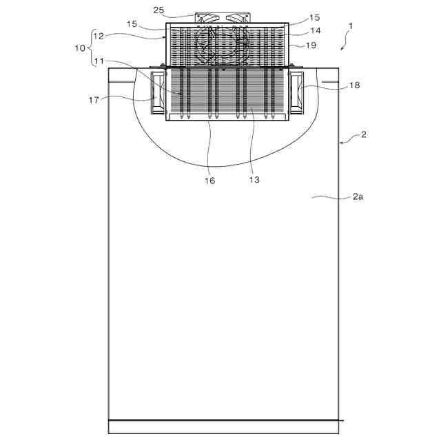
内部に熱源(4)を有する筐体(2)と、
複数枚の吸熱用フィン(13)を備えて前記筐体の内部に配置された吸熱部(11)と、複数枚の排熱用フィン(14)を備えて前記筐体の外部に設けられた排熱部(12)と、前記筐体を貫通して前記吸熱用フィンと前記排熱用フィンを熱的に連絡する熱伝導管(15)を有する熱交換器(10、10a)と、
を備えた検査装置であって、
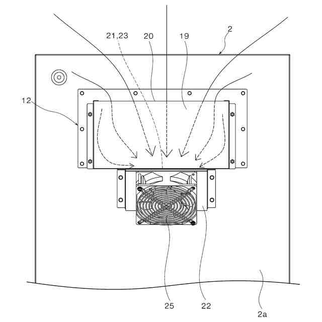
上面の吸気口と下面の第1排気口を備え、前記排熱用フィンを収納して前記筐体に取り付けられた第1ダクト(19)と、
前記第1ダクトの前記第1排気口(21)に対して、前記筐体から離れる方向かつ斜め下方向を排気方向とする傾斜姿勢で取り付けられた排熱用ファン(25)と、
を具備することを特徴とする検査装置(1,1a)。
続きを表示(約 260 文字)
【請求項2】
前記第1ダクト(19)の前記第1排気口(21)に、前記第1ダクトの内部と連通するように設けられるとともに、前記排熱用ファン(25)が前記傾斜姿勢で取り付けられた第2排気口(24)を備える第2ダクト(22)を具備することを特徴とする請求項1に記載の検査装置(1,1a)。
【請求項3】
前記検査装置が、搬送手段(3)で搬送される被検査物(W)にX線を照射し、被検査物を透過したX線から得られるX線画像に基づいて被検査物の検査を行うX線検査装置である請求項1又は2に記載の検査装置(1,1a)。
発明の詳細な説明
【技術分野】
【0001】
本発明は、筐体の内外に配置された吸熱部と排熱部を熱伝導管で結んだ熱交換器を備える検査装置に係り、特に、排熱部に空気を流通させるための外部ファンを特徴的な姿勢で配置したことにより、排熱部の伝熱量の低下を改善し、検査装置に必要な放熱性能を有する熱交換器を備えた検査装置に関するものである。
続きを表示(約 2,200 文字)
【背景技術】
【0002】
下記特許文献1には、高価なエアコンを使用せずに、筐体内に設けた熱交換器によって筐体内の熱を筐体外に放熱するX線検査装置の発明が開示されている。このX線検査装置1の第1筐体3の内部は、使用制限温度等に基づいて隔壁16によって複数の冷却区画C1~C4に仕切られており、各区画C2、C3、C4には各々固有の使用制限温度を有する熱源17~20が収納されている。使用制限温度が低い熱源19、20が、使用制限温度が高い熱源17、18の上流に配置されるように、空気の流路Bが冷却区画内に設定されているので、冷却効率は良く、また熱交換器15の吸熱部15aは第1筐体3内にあり、放熱部は外気に連通した第2筐体内にあって、筐体全体として放熱部の突出がないので清掃性が良いものとされている。
【先行技術文献】
【特許文献】
【0003】
特開2016-109488号公報
【発明の概要】
【発明が解決しようとする課題】
【0004】
上記特許文献1に記載されたX線検査装置によれば、電力を消費するエアコンを使用せず、熱交換器を用いて筐体内の熱を外部に放熱できるため、省電力の要請には応えることができた。しかしながら、熱交換機を構成する吸熱部と排熱部の両方が筐体内に収納されているため、筐体外に放熱するためには外の空気を筐体内に取り込まなければならない。X線検査装置が設置される環境が清浄であれば問題はないが、工場内の粉塵環境下や、これに類似した環境下でX線検査装置を使用する場合には、X線検査装置に取り込んだ空気を筐体内で循環させている間に、筐体内の機構及び機器類が粉塵等により汚れてしまうという問題があった。
【0005】
このような問題を解決するため、本願発明者は、エアコンではなく熱交換器を使用するX線検査装置において、粉塵を含む空気を筐体内に導入しないようにするため、吸熱部を筐体内に配置し、排熱部を筐体外に配置し、筐体を貫通する熱伝導管で吸熱部と排熱部を接続した構造の熱交換器を発明した。このような熱交換器を備えたX線検査装置であれば、冷却のために電力を消費することがなく、また工場内の粉塵環境下で使用することもできる。
【0006】
しかしながら、近年では、より性能の高いX線検査装置が求められる傾向にあり、それに従ってX線検査装置の筐体内部に設けられる構成部品の性能も高度化しており、性能の高度化に伴って構成部品の発熱量は増大している。このため、X線検査装置に設けられる熱対策手段又は冷却手段についても、求められる性能はより高いレベルに移行しつつあり、これは先に説明した、エアコンの代わりに熱交換器を使用するX線検査装置においても同様である。
【0007】
以上の事情から、熱交換器を冷却手段とするX線検査装置においても、熱交換器の性能を高める必要性が高くなっており、そのため本願発明者は前記X線検査装置の熱交換器について、以下に説明するように、放熱能力の向上を図るための研究・開発を鋭意進めてきた。
【0008】
研究・開発の初期の段階において、本願発明者は、熱交換器の吸熱部及び排熱部のフィンの表面積を大きくする構造を試した。しかしながら、この構造であると熱交換器が大きくなるため、X線検査装置としての機長も大きくなり好ましくない。そこで、フィンの表面積を大きくする代わりに、フィンとフィンの隙間を狭くしてフィンの枚数を増やす構造を試した。しかしながら、このような複雑な構造であると、フィンとフィンの隙間を空気が通過する際の圧力損失が増大し、結果として熱交換器としての熱抵抗が増大して吸熱部から排熱部に熱が流れにくくなり、熱交換器全体としての放熱性能は必ずしも改良されなかった。
【0009】
図8は、本願発明者が発明した、筐体2内の吸熱部11と筐体2外の排熱部12を複数本の熱伝導管15で接続した構造の熱交換器10’を備えたX線検査装置1’の側面図であり、図示しない熱源を収容した筐体2と、排熱部12を収容するダクト30のうち、熱交換器10’が設けられた部分を切り欠いて示したものである。また図9は、前記X線検査装置1’の背面図である。このX線検査装置1’においては、吸熱部11と排熱部12には空気を強制的に通過させるための吸熱用ファン40と排熱用ファン50がそれぞれ設けられている。
【0010】
図8及び図9に示すように、排熱部12の形状は、水平方向の長さ、すなわち奥行寸法(図8において左右方向の寸法)に対して、これと直交する幅寸法(図9において左右方向の寸法)が長い直方体である。そして、排熱部12の排熱用ファン50は、図8に示すように排熱部12の前記奥行寸法に合わせた外径のものを使用しており、従って、図9に示すように排熱部12の幅寸法よりも小さく、幅方向の略中央に取り付けられている。そして排熱用ファン50は、吸い込み側の面(図8及び図9中、上側の面)が、排熱部12の下面であるダクト20の排気口に直接接するように取り付けられている(この取り付け構造を直付けと称する。)。
(【0011】以降は省略されています)
この特許をJ-PlatPat(特許庁公式サイト)で参照する
関連特許
アンリツ株式会社
物品検査装置
13日前
アンリツ株式会社
物品検査装置
29日前
アンリツ株式会社
物品検査装置
29日前
アンリツ株式会社
物品検査装置
15日前
アンリツ株式会社
測定装置とその測定方法
15日前
アンリツ株式会社
誤り率測定装置及び誤り率測定方法
15日前
アンリツ株式会社
試験システム及び送信アンテナ相関推定方法
14日前
アンリツ株式会社
分光測定装置及びこれを備えた物品検査装置
15日前
アンリツ株式会社
分光測定装置及びこれを備えた物品検査装置
29日前
アンリツ株式会社
分光測定装置及びこれを備えた物品検査装置
6日前
アンリツ株式会社
分光測定装置及びこれを備えた物品検査装置
6日前
アンリツ株式会社
検量線生成システム及び検量線生成システムの制御方法
6日前
アンリツ株式会社
量子コンピュータ制御装置および量子コンピュータ制御方法
1か月前
アンリツ株式会社
検量線生成装置、検量線生成方法及び検量線生成プログラム
13日前
アンリツ株式会社
検量線生成装置、検量線生成方法及び検量線生成プログラム
13日前
アンリツ株式会社
検量線生成装置、検量線生成方法及び検量線生成プログラム
6日前
アンリツ株式会社
分光器の校正装置、及びこれを備えた物品検査装置、並びに分光器の校正方法
6日前
アンリツ株式会社
検量線生成装置、検量線生成装置の制御方法及び検量線生成装置の制御プログラム
1日前
個人
排熱回収装置
4か月前
個人
冷却装置の蒸発器
1か月前
個人
放射冷却装置
1か月前
個人
熱交換装置
7か月前
個人
熱交換装置
2か月前
ホーコス株式会社
熱交換ユニット
10か月前
三恵技研工業株式会社
熱交換器
8か月前
三恵技研工業株式会社
熱交換器
8か月前
アンリツ株式会社
検査装置
7か月前
株式会社パイオラックス
熱交換器
10か月前
アンリツ株式会社
検査装置
7か月前
日産自動車株式会社
熱交換器
9か月前
株式会社ティラド
ラジエータ
10か月前
株式会社アイシン
水噴射冷却システム
10か月前
新光電気工業株式会社
蓄熱装置
3か月前
株式会社デンソー
熱交換器
6か月前
株式会社アイシン
熱交換器
21日前
株式会社デンソー
熱交換器
6か月前
続きを見る
他の特許を見る