TOP
|
特許
|
意匠
|
商標
特許ウォッチ
Twitter
他の特許を見る
公開番号
2025070138
公報種別
公開特許公報(A)
公開日
2025-05-02
出願番号
2023180237
出願日
2023-10-19
発明の名称
検査装置
出願人
アンリツ株式会社
代理人
個人
,
個人
主分類
F28D
7/16 20060101AFI20250424BHJP(熱交換一般)
要約
【課題】筐体2の内外に配置した吸熱部11と排熱部12を熱伝導管15で接続した熱交換器10を有する検査装置1において、排熱部の清掃性を高め、検査装置として必要な放熱性能を確保する。
【解決手段】吸熱用フィン13の間隔よりも排熱用フィン14aの間隔を大きくして、排熱部12aを清掃し易くするとともに、吸熱用フィン13の表面積よりも排熱用フィンの表面積を小さくして排熱部の伝熱量が低下しないように、放熱性能改善構造として、排熱用フィン14aの厚さを吸熱用フィン13の厚さよりも大きく設定した。検査装置の熱交換器として必要な放熱性能を実現することができる。
【選択図】図1
特許請求の範囲
【請求項1】
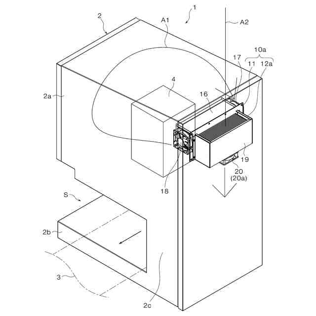
内部に熱源を有する筐体(2)と、前記熱源から放出される熱を前記筐体の外に放熱する熱交換器(10a,10b,10c)を備えた検査装置(1)であって、
前記熱交換器は、
第1間隔で配置された複数枚の吸熱用フィン(13)から構成されて前記筐体の内部に配置された吸熱部(11)と、
前記第1間隔よりも大きい第2間隔で配置された複数枚の排熱用フィン(14a,14b,14c)から構成されて前記筐体の外部に配置された排熱部(12a,12b,12c)と、
前記筐体を貫通して前記吸熱用フィンと前記排熱用フィンを熱的に連絡する複数の独立した熱伝導管(15)から構成されており、
前記排熱部の伝熱量が前記吸熱部の伝熱量よりも低いことに起因する放熱性能の低下を改善する放熱性能改善構造を、前記排熱部に設けたことを特徴とする検査装置(1)。
続きを表示(約 630 文字)
【請求項2】
前記放熱性能改善構造として、前記排熱用フィン(14b)の厚さを、前記吸熱用フィン(13)の厚さよりも大きく設定したことを特徴とする請求項1に記載の検査装置(1)。
【請求項3】
前記放熱性能改善構造として、前記排熱用フィン(14a)に空気を供給する排熱冷却ファン(20a)の送風力の大きさを、前記吸熱用フィン(13)に空気を供給する吸熱冷却ファン(17、18)の送風力の大きさよりも大きく設定したことを特徴とする請求項1に記載の検査装置(1)。
【請求項4】
前記放熱性能改善構造として、前記排熱用フィン(14c)の表面積を、前記吸熱用フィン(13)の表面積と同等以上に設定したことを特徴とする請求項1に記載の検査装置(1)。
【請求項5】
前記吸熱用フィン(13)の枚数よりも前記排熱用フィン(14a,14b,14c)の枚数の方が少なく、
前記吸熱用フィン及び前記排熱用フィンの面と直交する方向に関する前記吸熱部(11)の高さよりも、前記方向に関する前記排熱部(12a,12b,12c)の高さの方が小さいことを特徴とする請求項1乃至4に記載の検査装置(1)。
【請求項6】
前記検査装置(1)が、搬送手段(3)で搬送される被検査物(W)にX線を照射し、被検査物を透過したX線から得られるX線画像に基づいて被検査物の検査を行うX線検査装置である請求項5に記載の検査装置。
発明の詳細な説明
【技術分野】
【0001】
本発明は、筐体の内外に配置された吸熱部と排熱部を熱伝導管で結んだ熱交換器を備える検査装置に係り、特に吸熱部の吸熱フィンの間隔よりも排熱部の排熱フィンの間隔の方が大きいため清掃性に優れており、また排熱部の排熱フィンの間隔が大きいことに起因する排熱部の伝熱量の低下を改善する放熱性能改善構造を備えているため、排熱部の伝熱量が吸熱部に比べて低くなく、検査装置に必要な熱交換器の放熱性能を実現できる検査装置に関するものである。
続きを表示(約 1,900 文字)
【背景技術】
【0002】
下記特許文献1には、高価なエアコンを使用せずに、筐体内に設けた熱交換器によって筐体内の熱を筐体外に放熱するX線検査装置の発明が開示されている。このX線検査装置1の第1筐体3の内部は、使用制限温度等に基づいて隔壁16によって複数の冷却区画C1~C4に仕切られており、各区画C2、C3、C4には各々固有の使用制限温度を有する熱源17~20が収納されている。使用制限温度が低い熱源19、20が、使用制限温度が高い熱源17、18の上流に配置されるように、空気の流路Bが冷却区画内に設定されているので、冷却効率は良く、また熱交換器15の吸熱部15aは第1筐体3内にあり、放熱部は外気に連通した第2筐体内にあって、筐体全体として放熱部の突出がないので清掃性が良いものとされている。
【先行技術文献】
【特許文献】
【0003】
特開2016-109488号公報
【発明の概要】
【発明が解決しようとする課題】
【0004】
上記特許文献1に記載されたX線検査装置によれば、電力を消費するエアコンを使用せずに熱交換器を用いて筐体内の熱を外部に放熱できるため、省電力の要請には応えることができた。しかしながら、熱交換機を構成する吸熱部と排熱部の両方が筐体内に収納されているため、筐体外に放熱するためには外の空気を筐体内に取り込まなければならない。X線検査装置が設置される環境が清浄であれば問題はないが、工場内の粉塵環境下や、これに類似した環境下でX線検査装置を使用する場合には、X線検査装置に取り込んだ空気を筐体内で循環させている間に、筐体内の機構及び機器類が粉塵等により汚れてしまうという問題があった。
【0005】
このような問題を解決するため、本願発明者は、エアコンではなく熱交換器を使用するX線検査装置において、粉塵を含む空気を筐体内に導入しないようにするため、吸熱部を筐体内に配置し、排熱部を筐体外に配置し、筐体を貫通する熱伝導管で吸熱部と排熱部を接続した構造の熱交換器を採用する、という発想を得た。
【0006】
しかしながら、筐体の外部に排熱部を設けると、前述した工場内の粉塵環境下や、これに類似した環境下でX線検査装置を使用する場合には、粉塵を含む空気を排熱部に供給する必要があるため、排熱フィンと排熱フィンの間に粉塵等が詰まり易いため、排熱部の清掃性に問題があった。
【0007】
本発明は、以上説明した従来の技術における課題を解決するためになされたものであり、筐体の内外に吸熱部と排熱部を配置して熱伝導管で接続した熱交換器を有する検査装置において、排熱部の清掃性が高く、検査装置に備えつける熱交換器として必要な放熱性能を有する検査装置を提供することを目的としている。
【課題を解決するための手段】
【0008】
請求項1に記載された検査装置1は、
内部に熱源4,5を有する筐体2と、前記熱源4,5から放出される熱を前記筐体2の外に放熱する熱交換器10a,10b,10cを備えた検査装置1であって、
前記熱交換器10a,10b,10cは、
第1間隔で配置された複数枚の吸熱用フィン13から構成されて前記筐体2の内部に配置された吸熱部11と、
前記第1間隔よりも大きい第2間隔で配置された複数枚の排熱用フィン14a,14b,14cから構成されて前記筐体2の外部に配置された排熱部12a,12b,12cと、
前記筐体2を貫通して前記吸熱用フィン13と前記排熱用フィン12a,12b,12cを熱的に連絡する複数の独立した熱伝導管15から構成されており、
前記排熱部12a,12b,12cの伝熱量が前記吸熱部11の伝熱量よりも低いことに起因する放熱性能の低下を改善する放熱性能改善構造を、前記排熱部12a,12b,12cに設けたことを特徴としている。
【0009】
請求項2に記載された検査装置1は、請求項1に記載の検査装置1において、
前記放熱性能改善構造として、前記排熱用フィン14bの厚さを、前記吸熱用フィン13の厚さよりも大きく設定したことを特徴としている。
【0010】
請求項3に記載された検査装置1は、請求項1に記載の検査装置1において、
前記放熱性能改善構造として、前記排熱用フィン14aに空気を供給する排熱冷却ファン20aの送風力の大きさを、前記吸熱用フィン13に空気を供給する吸熱冷却ファン17,18の送風力の大きさよりも大きく設定したことを特徴としている。
(【0011】以降は省略されています)
この特許をJ-PlatPat(特許庁公式サイト)で参照する
関連特許
アンリツ株式会社
物品検査装置
28日前
アンリツ株式会社
物品検査装置
28日前
アンリツ株式会社
物品検査装置
14日前
アンリツ株式会社
物品検査装置
12日前
アンリツ株式会社
測定装置とその測定方法
14日前
アンリツ株式会社
誤り率測定装置及び誤り率測定方法
14日前
アンリツ株式会社
分光測定装置及びこれを備えた物品検査装置
28日前
アンリツ株式会社
分光測定装置及びこれを備えた物品検査装置
14日前
アンリツ株式会社
試験システム及び送信アンテナ相関推定方法
13日前
アンリツ株式会社
分光測定装置及びこれを備えた物品検査装置
5日前
アンリツ株式会社
分光測定装置及びこれを備えた物品検査装置
5日前
アンリツ株式会社
検量線生成システム及び検量線生成システムの制御方法
5日前
アンリツ株式会社
量子コンピュータ制御装置および量子コンピュータ制御方法
1か月前
アンリツ株式会社
検量線生成装置、検量線生成方法及び検量線生成プログラム
12日前
アンリツ株式会社
検量線生成装置、検量線生成方法及び検量線生成プログラム
5日前
アンリツ株式会社
検量線生成装置、検量線生成方法及び検量線生成プログラム
12日前
アンリツ株式会社
分光器の校正装置、及びこれを備えた物品検査装置、並びに分光器の校正方法
5日前
アンリツ株式会社
検量線生成装置、検量線生成装置の制御方法及び検量線生成装置の制御プログラム
今日
アンリツ株式会社
量子コンピュータ制御装置、量子コンピュータ制御システムおよび量子コンピュータ制御方法
1か月前
個人
排熱回収装置
4か月前
個人
冷却装置の蒸発器
1か月前
個人
放射冷却装置
1か月前
個人
熱交換装置
6か月前
個人
熱交換装置
2か月前
ホーコス株式会社
熱交換ユニット
10か月前
三恵技研工業株式会社
熱交換器
8か月前
三恵技研工業株式会社
熱交換器
8か月前
アンリツ株式会社
検査装置
7か月前
株式会社パイオラックス
熱交換器
10か月前
アンリツ株式会社
検査装置
7か月前
日産自動車株式会社
熱交換器
9か月前
株式会社ティラド
ラジエータ
10か月前
株式会社アイシン
水噴射冷却システム
10か月前
新光電気工業株式会社
蓄熱装置
3か月前
株式会社デンソー
熱交換器
6か月前
株式会社アイシン
熱交換器
6か月前
続きを見る
他の特許を見る