TOP
|
特許
|
意匠
|
商標
特許ウォッチ
Twitter
他の特許を見る
公開番号
2025159908
公報種別
公開特許公報(A)
公開日
2025-10-22
出願番号
2024062761
出願日
2024-04-09
発明の名称
放射冷却装置
出願人
個人
代理人
個人
主分類
F28F
13/18 20060101AFI20251015BHJP(熱交換一般)
要約
【課題】熱源からの熱を放射するとともに建物外部からの熱の移動を抑制することで冷却を行う放射冷却装置を提供する。
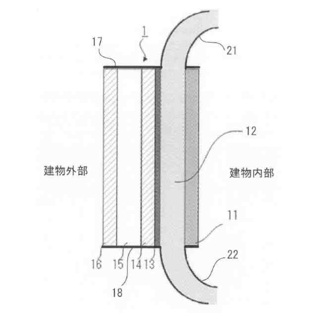
【解決手段】建物用の放射冷却装置であって、建物内の熱により加熱される熱交換媒体が流入する熱源層12と接触する熱伝導層13と、熱伝導層と接する第1表面と、前記第1表面と対向する第2表面とを有するとともに、前記熱伝導層から移動した熱を赤外線として放射する放射層14と、第2表面側に配置されるとともに前記放射層から放射された赤外線が透過可能である断熱層15と、断熱層を介して前記放射層と対向するとともに前記放射層から放射された赤外線が透過可能である透過層16とを有し、熱伝導層は、透過層を介して入射した赤外線と前記放射層からの赤外線とを反射する材質で構成されている。
【選択図】図1
特許請求の範囲
【請求項1】
建物用の放射冷却装置であって、
建物内の熱により加熱される熱交換媒体が流入する熱源層と接触する熱伝導層と、
前記熱伝導層と接する第1表面と、前記第1表面と対向する第2表面とを有するとともに、前記熱伝導層から移動した熱を赤外線として放射する放射層と、
前記第2表面側に配置されるとともに前記放射層から放射された赤外線が透過可能である断熱層と、
前記断熱層を介して前記放射層と対向するとともに前記放射層から放射された赤外線が透過可能である透過層とを有し、
前記熱伝導層は、前記透過層を介して入射した赤外線と前記放射層からの赤外線とを反射する材質で構成されている、
建物用の放射冷却装置。
続きを表示(約 740 文字)
【請求項2】
前記第1表面は、凹凸を有して前記第2表面よりも表面積が大きい、
請求項1に記載の放射冷却装置。
【請求項3】
前記第1表面は、建物に設置したときに鉛直方向に延びる方向に形成された複数の溝部を有する、
請求項1に記載の放射冷却装置。
【請求項4】
前記熱伝導層は、金属により形成され、
前記複数の溝部のそれぞれの深さは前記溝部どうしの距離よりも短く、
前記第1表面上に前記金属が蒸着により形成された、
請求項3に記載の放射冷却装置。
【請求項5】
前記熱伝導層、前記放射層、前記断熱層、及び前記透過層は中空の筒状の形状を有し、
前記熱源層を中心にして、前記中空の筒状の前記熱伝導層、前記放射層、前記断熱層、及び前記透過層がそれぞれ同心となるようにこの順に配置されている、
請求項1に記載の放射冷却装置。
【請求項6】
前記放射層は、波長範囲が8~14μmの赤外線の放射率である第1放射率と、波長範囲が14μmより長く1000μm以下の赤外線の放射率である第2放射率とを有し、前記第2放射率の値は、前記第1放射率よりも高く、
前記透過層は、波長範囲が8~14μmの赤外線の反射率が0.8以上である、
請求項1に記載の放射冷却装置。
【請求項7】
前記第1放射率は0.2以下であり、
前記第2放射率は0.8以上である、
請求項6に記載の放射冷却装置。
【請求項8】
前記第1放射率は0.1以下であり、
前記第2放射率は0.9以上である、
請求項6に記載の放射冷却装置。
発明の詳細な説明
【技術分野】
【0001】
本発明は、放射冷却作用を有する放射冷却装置に関する。
続きを表示(約 1,600 文字)
【背景技術】
【0002】
従来、放射冷却を用いた放射冷却装置が知られている。特に、省エネルギー性において放射冷却装置は有利である。
特許文献1には、テント倉庫、トラック用幌等の屋根等に使用される放射冷却式膜材が開示されている。この膜材は、昼間の日射環境下において放射冷却作用により膜材自体を冷却できる。この膜材の外面には放射冷却層が装着されている。放射冷却層は、放射面から赤外光を放射する赤外放射層と、赤外放射層の放射面とは反対側に位置する光反射層とを備える。赤外放射層は、吸収した太陽光エネルギーよりも大きな熱輻射エネルギーを放つ厚みに調整された樹脂材料層であり、光反射層は銀または銀合金を有する。この膜材をテント倉庫、トラック用幌等の屋根等に使用することで、昼間の日射環境下において、膜材の温度の上昇を抑制し、その結果、膜材で囲まれた空間の温度上昇を抑制することが可能となる。従って、このような膜材は、放射冷却装置に好適に用いることができる。
【0003】
また、建物用の放射冷却装置では、断熱も重要となる。冷却装置は、熱源からの熱を例えば建物の外部に放射等により移動させることで冷却を行う。しかし、放射冷却装置と建物内やその内部空間との断熱が不十分であると、放射冷却装置により建物や内部空間の温度が上昇してしまう。従って、放射冷却装置からの熱の移動を遮断ないしは抑制する技術も重要となる。熱の移動の形態は、放射、対流、伝導があり、これら3つの形態による熱の移動をそれぞれ抑えることが必要である。
【先行技術文献】
【特許文献】
【0004】
特開2021-143796号公報
【発明の概要】
【発明が解決しようとする課題】
【0005】
しかし、特許文献1は、放射冷却装置に用いられる膜材の温度が太陽光により上昇することを防ぐものであり、建物外部からの熱の移動を防ぐものである。従って、熱源の熱を外部に放出することについての開示はない。一方、データセンター等の建物の冷却を行う場合、建物の内部空間の冷却や、建物内にある熱源の冷却が重要となる。従って、建物外部からの熱移動による温度上昇を抑制するだけでは冷却性能は十分ではない。
【0006】
本発明の課題は、熱源からの熱を放射するとともに建物外部からの熱の移動を抑制することで冷却を行う放射冷却装置を提供することにある。
【課題を解決するための手段】
【0007】
本発明にかかる建物用の放射冷却装置は、建物内の熱により加熱される熱交換媒体が流入する熱源層と接触する熱伝導層と、前記熱伝導層と接する第1表面と、前記第1表面と対向する第2表面とを有するとともに、前記熱伝導層から移動した熱を赤外線として放射する放射層と、前記第2表面側に配置されるとともに前記放射層から放射された赤外線が透過可能である断熱層と、前記断熱層を介して前記放射層と対向するとともに前記放射層から放射された赤外線が透過可能である透過層とを有し、前記熱伝導層は、前記透過層を介して入射した赤外線と前記放射層からの赤外線とを反射する材質で構成されている。
【発明の効果】
【0008】
本発明によれば、熱源からの熱を放射するとともに建物外部からの熱の移動を抑制することで冷却を行う放射冷却装置を提供することができる。
【図面の簡単な説明】
【0009】
放射冷却装置の部分断面図。
放射冷却装置を建物に設けた場合の説明図。
放射冷却装置の他の形態の概略構成図。
【発明を実施するための形態】
【0010】
以下、本実施形態による建物用の放射冷却装置1をデータセンターなどの建物全体の冷却に用いた例を説明する。
(【0011】以降は省略されています)
この特許をJ-PlatPat(特許庁公式サイト)で参照する
関連特許
個人
排熱回収装置
3か月前
個人
冷却装置の蒸発器
25日前
個人
放射冷却装置
27日前
個人
熱交換装置
6か月前
個人
熱交換装置
1か月前
ホーコス株式会社
熱交換ユニット
9か月前
三恵技研工業株式会社
熱交換器
7か月前
三恵技研工業株式会社
熱交換器
7か月前
株式会社パイオラックス
熱交換器
9か月前
アンリツ株式会社
検査装置
6か月前
アンリツ株式会社
検査装置
6か月前
株式会社ティラド
ラジエータ
10か月前
日産自動車株式会社
熱交換器
9か月前
株式会社アイシン
水噴射冷却システム
9か月前
新光電気工業株式会社
蓄熱装置
2か月前
栗田工業株式会社
冷却塔システム
4か月前
サンデン株式会社
熱交換器
9か月前
株式会社デンソー
熱交換器
4か月前
サンデン株式会社
熱交換器
7か月前
サンデン株式会社
熱交換器
7か月前
株式会社アイシン
熱交換器
5か月前
サンデン株式会社
熱交換器
9か月前
株式会社デンソー
熱交換器
6か月前
栗田工業株式会社
冷却塔システム
9か月前
日新電機株式会社
化学蓄熱反応器
10か月前
ZACROS株式会社
熱交換装置
7か月前
株式会社デンソー
熱交換器
6か月前
サンデン株式会社
熱交換器
9か月前
株式会社デンソー
熱交換器
5か月前
株式会社デンソー
熱交換装置
26日前
株式会社神戸製鋼所
積層型熱交換器
5か月前
古河電気工業株式会社
ヒートパイプ
9か月前
TPR株式会社
熱電発電機能付き熱交換器
8か月前
中部抵抗器株式会社
密閉構造体用冷却装置
10か月前
新晃工業株式会社
コイルのフィン構造
9か月前
新晃工業株式会社
熱交換器の底板構造
7か月前
続きを見る
他の特許を見る