TOP
|
特許
|
意匠
|
商標
特許ウォッチ
Twitter
他の特許を見る
10個以上の画像は省略されています。
公開番号
2025080061
公報種別
公開特許公報(A)
公開日
2025-05-23
出願番号
2023193055
出願日
2023-11-13
発明の名称
積層型熱交換器
出願人
株式会社神戸製鋼所
代理人
個人
,
個人
主分類
F28F
3/08 20060101AFI20250516BHJP(熱交換一般)
要約
【課題】積層型熱交換器において、高温側流体の凍結リスクを低減できるとともに耐久性の低減を抑制する。
【解決手段】積層型熱交換器10は、第1流体が導入される高温流路12aと第2流体が導入される低温流路13aとを有する流体層11と、中間媒体が導入される中温流路21aを有する中間媒体層21と、を有する積層体15を備える。中温流路21aは、中間媒体と高温流路12aを流れる第1流体との間で熱交換を生じさせる加温部21bと、加温部21bを流れた後の中間媒体と低温流路13aを流れる第2流体との間で熱交換を生じさせる冷却部21cと、を含む。還流路は、中温流路21aから流出した中間媒体を中温流路21aに戻す。
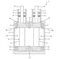
【選択図】図1
特許請求の範囲
【請求項1】
第1流体が導入される高温流路と前記第1流体よりも低温の第2流体が導入される低温流路とを有する流体層と、
前記流体層に積層され、前記第1流体よりも低温で且つ前記第2流体よりも高温の中間媒体が導入される中温流路を有する中間媒体層と、
を有する積層体を備え、
前記中間媒体層の前記中温流路が、前記中温流路を流れる前記中間媒体と前記高温流路を流れる前記第1流体との間で熱交換を生じさせる加温部と、前記加温部を流れる前又は流れた後の中間媒体と前記低温流路を流れる前記第2流体との間で熱交換を生じさせる冷却部と、を含み、
前記中温流路から流出した前記中間媒体を前記中温流路に戻す還流路をさらに備えている、積層型熱交換器。
続きを表示(約 1,000 文字)
【請求項2】
前記加温部と前記冷却部とは、前記積層体における前記流体層及び前記中間媒体層の積層方向において、互いに重ならない位置に配置されている、請求項1に記載の積層型熱交換器。
【請求項3】
前記流体層は、前記高温流路を有する一方で前記低温流路を有しない高温層と、前記低温流路を有する一方で前記高温流路を有しない低温層と、を別個に有する、請求項2に記載の積層型熱交換器。
【請求項4】
前記高温流路と前記低温流路とは、同じ層内に位置しており、
前記高温流路が設けられた高温部と前記低温流路が設けられた低温部との間に、第1流体と第2流体との間の熱交換を抑制する伝熱抑制部が設けられている、請求項2に記載の積層型熱交換器。
【請求項5】
前記還流路には、前記中温流路において前記中間媒体が前記加温部から前記冷却部に流れた後、前記冷却部から前記還流路に流出するように前記中間媒体を流動させるポンプと、前記中間媒体の冷熱を受け取る冷熱利用部と、が設けられている、請求項1又は2に記載の積層型熱交換器。
【請求項6】
前記還流路には、前記中温流路において前記中間媒体が前記冷却部から前記加温部に流れた後、前記加温部から前記還流路に流出するように前記中間媒体を流動させるポンプが設けられている、請求項1又は2に記載の積層型熱交換器。
【請求項7】
第1流体が導入される第2高温流路と前記第1流体よりも低温の第2流体が導入される第2低温流路とを有する第2流体層と、
前記第2流体層に積層され、前記第1流体と前記第2流体との間の温度を有する中間媒体が導入される第2中温流路を有する第2中間媒体層と、
を有する第2積層体を備え、
前記第2中間媒体層の前記第2中温流路が、前記中間媒体と前記第2高温流路を流れる第1流体との間で熱交換を生じさせる第2加温部と、前記第2加温部を流れた後の中間媒体と前記第2低温流路を流れる第2流体との間で熱交換を生じさせる第2冷却部と、を含み、
前記第2中温流路の前記第2冷却部から流出した前記中間媒体を前記第2中温流路の前記第2加温部に戻す第2還流路をさらに備え、
前記第2還流路には、前記中間媒体の冷熱を受け取る冷熱利用部が設けられている、請求項6に記載の積層型熱交換器。
発明の詳細な説明
【技術分野】
【0001】
本発明は、積層型熱交換器に関する。
続きを表示(約 2,500 文字)
【背景技術】
【0002】
近年、国内ではエネルギー産業の規制緩和が進み、二酸化炭素(CO2)排出係数が大きい石炭や石油から排出係数が小さいクリーンなエネルギーであるLNGへのシフトが進んでいる。また、近年、環境を考慮して、水素を発電や自動車等の燃料として用いることが考えられており、水素の需要が増大している。ところで、第1流体が流れる流路を有する第1流体層と、流体層とは温度の異なる第2流体が流れる流路を有する第2流体層と、を備え、これら第1流体層と第2流体層とが積層された構成となっている積層型熱交換器が従来、知られている。例えば、下記の特許文献1及び2には、水等の第1流体(高温側の流体)で極低温の液化ガス(第2流体)を加熱するための積層型熱交換器が開示されている。水等の第1流体によって第2流体(極低温の液化ガス)を加熱する場合には、第1流体が凍結する問題が生じ得る。この問題に鑑み、特許文献1に開示された熱交換器では、第1流体が流れる第1流体層と第2流体が流れる第2流体層との間に調整層が設けられ、この調整層が、伝熱性能が互いに異なる部分を有する構成とされている。特許文献1には、調整層において、凍結の生じやすい箇所での伝熱が抑制されることにより、第1流体の凍結が抑制されことが説明されている。一方、特許文献2に開示された熱交換器では、水等の第1流体が流れる複数の流路を互いに連結する連結チャネルが設けられている。特許文献2には、一部の流路が第1流体の凍結によって閉塞された場合でも、連結チャネルを通して第1流体を回り込ませることができ、凍結部位の拡大を防止できることが説明されている。
【先行技術文献】
【特許文献】
【0003】
特許第6118008号公報
特開2019-178807号公報
【発明の概要】
【発明が解決しようとする課題】
【0004】
特許文献1及び2には、第1流体(高温側流体)の凍結に対する技術が開示されているが、この技術には改善の余地が残されている。例えば、極低温の液化ガス(第2流体)を水(第1流体、高温側流体)によって加熱する場合、両流体間の温度差が大きいため、積層型熱交換器に大きな熱応力が発生する恐れがあるが、特許文献1及び2に開示の技術では、熱応力に対する対処はなされていない。このため、過大な熱応力により、耐久性が低減するという問題が残されている。
【0005】
そこで、本発明は、前記従来技術を鑑みてなされたものであり、その目的とするところは、積層型熱交換器において、高温側流体の凍結リスクを低減できるとともに、耐久性の低減を抑制することにある。
【課題を解決するための手段】
【0006】
前記の目的を達成するため、本発明に係る積層型熱交換器は、第1流体が導入される高温流路と前記第1流体よりも低温の第2流体が導入される低温流路とを有する流体層と、前記流体層に積層され、前記第1流体よりも低温で且つ前記第2流体よりも高温の中間媒体が導入される中温流路を有する中間媒体層と、を有する積層体を備える。前記中間媒体層の前記中温流路は、前記中温流路を流れる前記中間媒体と前記高温流路を流れる前記第1流体との間で熱交換を生じさせる加温部と、前記加温部を流れる前又は流れた後の中間媒体と前記低温流路を流れる前記第2流体との間で熱交換を生じさせる冷却部と、を含む。前記積層型熱交換器は、前記中温流路から流出した前記中間媒体を前記中温流路に戻す還流路をさらに備えている。
【0007】
本発明に係る積層型熱交換器では、中温流路を流れる中間媒体は、加温部において第1流体によって加温されるように第1流体と熱交換され、冷却部において第2流体によって冷却されるように第2流体との間で熱交換される。このため、第1流体を中間媒体によって冷却した上で流出させることができ、また、第2流体を中間媒体によって加温した上で流出させることもできる。したがって、積層型熱交換器を、第2流体を加温するための加温器として用いることも、第1流体を冷却するための冷却器として用いることもできる。
【0008】
中間媒体は、第2流体を加温する際に冷却されるが、この中間媒体は積層体内の加温部において加温されるため、中間媒体を加温するための加温器を新たに設ける必要がない。また、中間媒体は、第1流体を冷却する際に加温されるが、この中間媒体は積層体内の冷却部において冷却されるため、中間媒体を冷却するための冷却器を新たに設ける必要がない。したがって、加温器や冷却器を積層体と別個に設ける必要がないため、積層型熱交換器をコンパクトなものとすることができる。なお、中間媒体は、冷却部から加温部に直接的に流れてもよく、あるいは還流路を通して冷却部から加温部に流入してもよい。また、中間媒体は、加温部から冷却部に直接的に流れてもよく、あるいは還流路を通して加温部から冷却部に流入してもよい。
【0009】
しかも、中温流路が加温部と冷却部とを別個に有しており、積層体内において、中間媒体が第1流体によって加温されるタイミングと、中間媒体が第2流体によって冷却されるタイミングとがずれることとなる。このため、中間媒体を介して第1流体と第2流体との間で熱交換を行うとしても、第1流体の冷却と第2流体の加温を効率的に行うことができる。また、第1流体(高温側流体)が第2流体と直接的に熱交換しないため、第1流体(高温側流体)の凍結リスクを低減できるとともに、積層体に生ずる熱応力を低減することができる。このため、熱応力に起因して積層体の耐久性が低下することを抑制することもできる。
【0010】
前記加温部と前記冷却部とは、前記積層体における前記流体層及び前記中間媒体層の積層方向において、互いに重ならない位置に配置されていてもよい。
(【0011】以降は省略されています)
この特許をJ-PlatPat(特許庁公式サイト)で参照する
関連特許
株式会社神戸製鋼所
混練機
25日前
株式会社神戸製鋼所
混練装置
26日前
株式会社神戸製鋼所
混練装置
25日前
株式会社神戸製鋼所
混合装置
25日前
株式会社神戸製鋼所
混合装置
25日前
株式会社神戸製鋼所
ボルト用鋼
20日前
株式会社神戸製鋼所
浸炭窒化鋼材
20日前
株式会社神戸製鋼所
圧縮機ユニット
5日前
株式会社神戸製鋼所
残留応力推定方法
1か月前
株式会社神戸製鋼所
焼結鉱の製造方法
24日前
株式会社神戸製鋼所
ステッピングモータ
5日前
株式会社神戸製鋼所
スラグ流出予兆検知方法
24日前
株式会社神戸製鋼所
アルミニウム合金押出材
19日前
株式会社神戸製鋼所
異種金属接合体及びその製造方法
18日前
株式会社神戸製鋼所
チタン板およびチタン板の製造方法
25日前
株式会社神戸製鋼所
熱延鋼板の製造方法および熱延鋼板
1か月前
株式会社神戸製鋼所
溶接金属、溶接継手及び溶接構造物
4日前
株式会社神戸製鋼所
水素供給システムおよび水素供給方法
12日前
株式会社神戸製鋼所
ペールパック用押え板、及びペールパック
1か月前
株式会社神戸製鋼所
冷間加工用機械構造用鋼線とその製造方法
24日前
株式会社神戸製鋼所
カップリング組付用治具及び治具付き押出機
6日前
株式会社神戸製鋼所
移動機械システムおよび移動機械の運用方法
26日前
株式会社神戸製鋼所
アルミニウム合金熱間鍛造材及びその製造方法
17日前
株式会社神戸製鋼所
多孔質炭素の製造方法および二酸化炭素分離方法
25日前
株式会社神戸製鋼所
ギアボックスの製造方法並びに回転機械の製造方法
1か月前
株式会社神戸製鋼所
形状解析システム、形状解析方法、及びプログラム
1か月前
株式会社神戸製鋼所
非調質鍛造用鋼、非調質鍛造鋼および非調質鍛造部品
1か月前
株式会社神戸製鋼所
制御方法、溶接電源、溶接システム及び制御プログラム
4日前
株式会社神戸製鋼所
ガス供給システム改良方法及びガス供給システム改良装置
19日前
株式会社神戸製鋼所
二次精錬条件および連続鋳造条件の決定方法と鋼の製造方法
27日前
株式会社神戸製鋼所
サイドドア
20日前
株式会社神戸製鋼所
摩擦攪拌接合用工具
1か月前
株式会社神戸製鋼所
連続鋳造鋳片の単位長さ当たり重量の予測方法および連続鋳造鋳片の切断方法
24日前
株式会社神戸製鋼所
ジオポリマー組成物、ジオポリマー硬化体およびジオポリマー硬化体の製造方法
24日前
株式会社神戸製鋼所
ジオポリマー組成物、ジオポリマー硬化体およびジオポリマー硬化体の製造方法
24日前
株式会社神戸製鋼所
ガスシールドアーク溶接用フラックス入りワイヤ及びガスシールドアーク溶接方法
4日前
続きを見る
他の特許を見る