TOP
|
特許
|
意匠
|
商標
特許ウォッチ
Twitter
他の特許を見る
10個以上の画像は省略されています。
公開番号
2025141467
公報種別
公開特許公報(A)
公開日
2025-09-29
出願番号
2024041412
出願日
2024-03-15
発明の名称
残留応力推定方法
出願人
株式会社神戸製鋼所
代理人
個人
,
個人
,
個人
主分類
G01B
21/20 20060101AFI20250919BHJP(測定;試験)
要約
【課題】対象物の残留応力の推定時間を短縮する。
【解決手段】残留応力推定方法が、三次元形状測定器で対象物の一表面の三次元形状を示す元板形状データを取得し、対象物を切断して複数のストリップを採取し、三次元形状測定器で複数のストリップの三次元形状をそれぞれ示す複数のストリップ形状データを取得し、ストリップ長手方向に並ぶ複数の測定点をストリップ上に設定し、元板形状データ及びストリップ形状データに基づいて各測定点における対象物の板厚方向における形状変化量を算出し、形状変化量から切断によって解放されたストリップ長手方向の残留応力を推定することを備える。
【選択図】図1
特許請求の範囲
【請求項1】
金属製の板材を対象物として準備し、
三次元形状測定器で前記対象物の一表面の三次元形状を示す元板形状データを取得し、
前記対象物を切断して、前記対象物の前記一表面内の一方向に長尺であり且つ前記一表面内で前記一方向に直交する他方向に幅を有した複数のストリップを採取し、
前記三次元形状測定器で前記複数のストリップの前記一表面の三次元形状をそれぞれ示す複数のストリップ形状データを取得し、
前記ストリップの長手方向に並ぶ複数の測定点を前記ストリップの前記一表面に設定し、前記元板形状データ及び前記ストリップ形状データに基づいて前記複数の測定点の各々における前記対象物の前記板厚方向における切断前後の形状変化量を算出し、
前記形状変化量から、切断によって解放された前記ストリップの前記長手方向の残留応力を推定する、
ことを備える、残留応力推定方法。
続きを表示(約 350 文字)
【請求項2】
前記残留応力を推定することは、
前記形状変化量を前記長手方向に関して二階微分し、
前記形状変化量の変化率に基づいて前記長手方向の前記残留応力を推定する、
ことを含む、請求項1に記載の残留応力推定方法。
【請求項3】
前記対象物を準備することは、同一の前記板材から第1対象物と第2対象物とを準備することを含み、
前記複数のストリップを採取することは、前記第1対象物を切断して複数の第1ストリップを採取することと、前記第2対象物を切断して複数の第2ストリップを採取することとを含み、
前記複数の第1ストリップの長手方向は、前記複数の第2ストリップの長手方向と直交する、
請求項1又は2に記載の残留応力推定方法。
発明の詳細な説明
【技術分野】
【0001】
本発明は、残留応力推定方法に関する。
続きを表示(約 1,800 文字)
【背景技術】
【0002】
例えば鋼板等の対象物の残留応力を測定する技術は、大きくは、対象物の破壊を伴わない非破壊法と、対象物を破壊したときに解放される応力あるいはひずみを利用する破壊法とに分けることができる。非特許文献1に開示されるように、非破壊法の一種として、X線法が知られている。非特許文献2に開示されるように、破壊法の一種として、切断法が知られている。
【先行技術文献】
【非特許文献】
【0003】
鈴木ら、「X線残留応力測定の技術動向と多様化する測定ニーズへの取組み」、日本塑性加工学会会報誌、一般社団法人日本塑性加工学会、2018年11月、第1巻、第11号、第31-34頁
角谷ら、「ひずみゲージ切断解放法による残留応力測定に関する解析的検討」、材料力学部門講演会講演論文集、一般社団法人日本機械学会、2004年7月20日、第2004巻、第207-208頁
【発明の概要】
【発明が解決しようとする課題】
【0004】
X線法においては、対象物の表裏両面にX線を照射する必要がある。対象物の表面にX線を照射した後、裏面にX線を照射すべく対象物を裏返すと、対象物の形状が自重によって変化する。これに伴って残留応力の値が変化するおそれがあるため、表面と裏面とを同じ条件下で測定することが難しい。対象物が薄板である場合、この問題が顕著となる。
【0005】
更に、X線法では、1回の測定で局所的な測定結果しか得られない。このため、対象物全体の測定に時間を要する。対象物の表面積が大きい場合、この問題が顕著となる。
【0006】
従来一般的な切断法においては、対象物の表面に多数のひずみゲージを貼り付け、ひずみゲージを貼り付けた状態で対象物を細かく切断する必要がある。1回の測定で対象物全体の測定結果を得られる一方、この1回の測定に多大な時間と手間を要する。対象物の表面積が大きい場合、この問題が顕著となる。
【0007】
本発明は、対象物の残留応力の推定時間を短縮することを課題とする。
【課題を解決するための手段】
【0008】
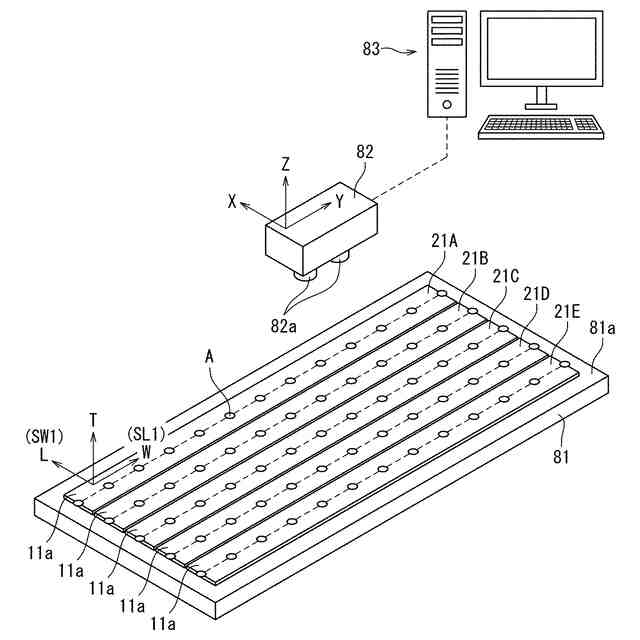
本発明の一態様は、金属製の板材を対象物として準備し、三次元形状測定器で前記対象物の当該一表面の三次元形状を示す元板形状データを取得し、前記対象物を切断して、前記対象物の前記一表面内の一方向に長尺であり且つ前記一表面内で前記一方向に直交する他方向に幅を有した複数のストリップを採取し、前記三次元形状測定器で前記複数のストリップの前記一表面の三次元形状をそれぞれ示す複数のストリップ形状データを取得し、前記ストリップの長手方向に並ぶ複数の測定点を前記ストリップの前記一表面に設定し、前記元板形状データ及び前記ストリップ形状データに基づいて前記複数の測定点の各々における前記対象物の前記板厚方向における切断前後の形状変化量を算出し、前記形状変化量から、切断によって解放された前記ストリップの前記長手方向の残留応力を推定する、ことを備える、残留応力推定方法を提供する。
【0009】
上記方法によれば、対象物を切断することにより、複数のストリップが採取される。各ストリップは、対象物の一方向に長尺である。切断によって残留応力が解放されるとき、ストリップの形状は、主としてストリップの長手方向の残留応力に基づいて、板厚方向に変化する。そこで、切断前に、対象物の一表面の三次元形状を示す元板形状データが取得され、且つ切断後に、各ストリップに対し、当該一表面の三次元形状を示すストリップ形状データが取得される。この2つの形状データを参照することで、切断前後で同じ測定点における板厚方向の形状変化量を算出できる。この形状変化量に基づいて、ストリップの長手方向の残留応力が逆算される。
【0010】
このように、本方法によれば、切断前と切断後とにおいて対象物の一表面のみの三次元形状を三次元形状測定器で測定しさえすれば、対象物の全面にわたって残留応力を推定できる。このため、X線法や従来一般的な切断法と対比して、残留応力の推定時間を短縮できる。
(【0011】以降は省略されています)
この特許をJ-PlatPat(特許庁公式サイト)で参照する
関連特許
日本精機株式会社
発光表示装置
1日前
日本特殊陶業株式会社
センサ
2日前
株式会社アイシン
回転角検出装置
8日前
株式会社イシダ
計量装置
8日前
京セラ株式会社
振動検出方法
1日前
株式会社ディスコ
試験装置、及び、試験方法
1日前
矢崎総業株式会社
光ファイバ型センサ
1日前
個人
合成開口レーダシステム
2日前
イエローテイル・ナビゲーション株式会社
衛星航法受信機
8日前
ホシデン株式会社
温度センサ
1日前
株式会社小野測器
測定装置
2日前
大同特殊鋼株式会社
アレイ探触子の振動子劣化検出方法
2日前
三菱電機株式会社
位置算出装置
1日前
株式会社 ミックウェア
ルート設定装置及びプログラム
1日前
日産自動車株式会社
支援方法及び支援装置
2日前
ミツミ電機株式会社
圧力検出素子及び圧力センサ
1日前
アンリツ株式会社
物品検査装置
2日前
キヤノン株式会社
放射線撮影装置及び放射線撮影システム
1日前
古野電気株式会社
位置推定装置
1日前
古野電気株式会社
位置推定装置
1日前
中部電力株式会社
バッテリー交換料金決定システム
1日前
株式会社デンソー
形状検査方法
2日前
いすゞ自動車株式会社
信号検出回路
2日前
矢崎総業株式会社
検査システム、および検査方法
2日前
Gセラノスティックス株式会社
測定システム、測定方法
1日前
大和製衡株式会社
計量包装システム及びこれに用いる組合せ秤
2日前
シャープ株式会社
通信端末および水道メータ
2日前
日置電機株式会社
絶縁抵抗測定装置及び絶縁抵抗測定方法
2日前
スタンレー電気株式会社
距離測定装置
8日前
ヤマハ発動機株式会社
ワーク計測装置
8日前
TDK株式会社
磁気センサおよびその製造方法
8日前
京セラ株式会社
電子機器、制御方法、及びプログラム
1日前
長野日本無線株式会社
管内情報収集装置および管内情報収集システム
2日前
大成建設株式会社
建物の健全性モニタリングシステム
1日前
住友重機械プロセス機器株式会社
診断装置、診断方法、記憶媒体
8日前
三菱重工業株式会社
評価装置および評価方法
1日前
続きを見る
他の特許を見る