TOP
|
特許
|
意匠
|
商標
特許ウォッチ
Twitter
他の特許を見る
公開番号
2025172465
公報種別
公開特許公報(A)
公開日
2025-11-26
出願番号
2024077989
出願日
2024-05-13
発明の名称
物品検査装置
出願人
アンリツ株式会社
代理人
弁理士法人日誠国際特許事務所
主分類
G01N
21/85 20060101AFI20251118BHJP(測定;試験)
要約
【課題】検査の精度が低下することを防止できる物品検査装置を提供すること。
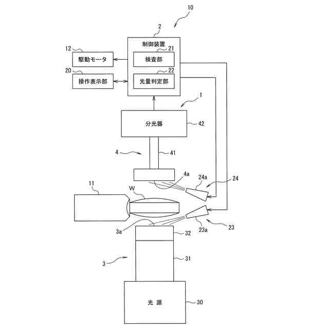
【解決手段】錠剤Wを搬送する搬送ディスク11と、搬送中の錠剤Wに投光端3aから光を照射する光源部3と、光源部3から照射され錠剤Wを透過した透過光が入射する入射端4aを有し、入射端4aを通じて入射した透過光を検出する光検出部4と、光検出部4で検出した透過光に基づき錠剤Wの検査を行う検査部21と、光源部3から照射され錠剤Wを透過せずに光検出部4に検出されたリファレンス光の光量が基準光量に対して所定値以上低いか否かを判定する光量判定部22と、光量判定部22によりリファレンス光の光量が基準光量に対して所定値以上低いと判定された場合に、投光端3a及び入射端4aの清掃を行うクリーニング部23、24と、を備える。
【選択図】図1
特許請求の範囲
【請求項1】
検査対象の物品(W)を搬送する搬送部(11)と、
搬送中の前記物品に投光端(3a)から光を照射する光源部(3)と、
前記光源部から照射され前記物品を透過した透過光が入射する入射端(4a)を有し、当該入射端を通じて入射した前記透過光を検出する光検出部(4)と、
前記光検出部で検出した前記透過光に基づき前記物品の検査を行う検査部(21)と、
前記光源部から照射され前記物品を透過せずに前記光検出部に検出された照射光の光量が基準光量に対して所定値以上低いか否かを判定する光量判定部(22)と、
前記光量判定部により前記照射光の光量が前記基準光量に対して所定値以上低いと判定された場合に、前記投光端及び前記入射端の少なくともいずれか一方の清掃を行うクリーニング部(23、24)と、を備える物品検査装置。
続きを表示(約 380 文字)
【請求項2】
前記クリーニング部は、前記照射光の光量と前記基準光量との差分が前記所定値未満となるまで前記清掃を繰り返し行うよう構成され、前記清掃を所定回数行っても前記照射光の光量と前記基準光量との差分が前記所定値未満とならない場合、前記物品の検査を停止する請求項1に記載の物品検査装置。
【請求項3】
前記光検出部が前記透過光の分光特性を測定する分光器(42)を有し、
前記光検出部は、前記照射光を検出する際は前記透過光を検出するときよりも前記分光器のゲインを小さくする請求項1に記載の物品検査装置。
【請求項4】
前記クリーニング部は、前記投光端及び前記入射端の少なくともいずれか一方にエアを吹き付けるエア噴射部(23、24)によって構成されている請求項1から請求項3のいずれか1項に記載の物品検査装置。
発明の詳細な説明
【技術分野】
【0001】
本発明は、物品検査装置に関する。
続きを表示(約 1,600 文字)
【背景技術】
【0002】
特許文献1には、成形品及び成形品を搬送する回転体を挟んで回転体の回転軸の方向である上下方向に沿って対向するように配置された光源及び受光素子であるセンサを備え、光源から放たれた光又は電磁波のうち成形品を透過した透過光を信号光としてセンサに入射させ、その信号光を分析することで、成形品に異物が混入していないか、及び/又は、成形品の成分やその他の品質が適正であるか否を検査する検査装置が開示されている。
【先行技術文献】
【特許文献】
【0003】
特開2019-112199号公報
【発明の概要】
【発明が解決しようとする課題】
【0004】
しかしながら、特許文献1に記載の検査装置にあっては、光源や受光素子であるセンサに塵等が付着し、当該光源やセンサが汚れると、光源からの光量が低下したり、又は、センサで受光する光量が低下したりしてしまう。
【0005】
光源からの光量が低下したり、又は、センサで受光する光量が低下したりすると、検査の精度が低下するおそれがある。
【0006】
本発明は、上述のような事情に鑑みてなされたもので、検査の精度が低下することを防止できる物品検査装置を提供することを目的としている。
【課題を解決するための手段】
【0007】
本発明に係る物品検査装置は、検査対象の物品(W)を搬送する搬送部(11)と、搬送中の前記物品に投光端(3a)から光を照射する光源部(3)と、前記光源部から照射され前記物品を透過した透過光が入射する入射端(4a)を有し、当該入射端を通じて入射した前記透過光を検出する光検出部(4)と、前記光検出部で検出した前記透過光に基づき前記物品の検査を行う検査部(21)と、前記光源部から照射され前記物品を透過せずに前記光検出部に検出された照射光の光量が基準光量に対して所定値以上低いか否かを判定する光量判定部(22)と、前記光量判定部により前記照射光の光量が前記基準光量に対して所定値以上低いと判定された場合に、前記投光端及び前記入射端の少なくともいずれか一方の清掃を行うクリーニング部(23、24)と、を備える。
【0008】
この構成により、本発明に係る物品検査装置は、光源部から照射され物品を透過せずに光検出部に検出された照射光の光量が基準光量に対して所定値以上低いと判定された場合に、投光端及び入射端の少なくともいずれか一方の清掃を行うクリーニング部を備えるので、光源部の投光端又は光検出部の入射端の少なくともいずれか一方が汚れたことを検知して清掃を行うことができる。これにより、光検出部で検出される光量が低下することを防止でき、その結果として検査の精度が低下することを防止できる。
【0009】
本発明に係る物品検査装置において、前記クリーニング部は、前記照射光の光量と前記基準光量との差分が前記所定値未満となるまで前記清掃を繰り返し行うよう構成され、前記清掃を所定回数行っても前記照射光の光量と前記基準光量との差分が前記所定値未満とならない場合、前記物品の検査を停止することが好ましい。
【0010】
この構成により、本発明に係る物品検査装置は、照射光の光量と基準光量との差分が所定値未満となるまで清掃を繰り返し行うので、光源部の投光端又は光検出部の入射端のいずれか、若しくは双方の汚れが解消されるまで清掃を行うことができる。また、清掃を所定回数行っても照射光の光量と基準光量との差分が所定値未満とならない場合、物品の検査を停止するので、無用に清掃が繰り返されてしまうことを防止することができ、さらに物品の検査の停止によって、ユーザにクリーニング部による清掃以外の適切な処理を促すことができる。
(【0011】以降は省略されています)
この特許をJ-PlatPat(特許庁公式サイト)で参照する
関連特許
アンリツ株式会社
物品検査装置
1日前
アンリツ株式会社
物品検査装置
3日前
アンリツ株式会社
物品検査装置
1か月前
アンリツ株式会社
X線検査装置
1か月前
アンリツ株式会社
物品検査装置
17日前
アンリツ株式会社
物品検査装置
17日前
アンリツ株式会社
測定装置および測定方法
1か月前
アンリツ株式会社
測定装置とその測定方法
3日前
アンリツ株式会社
信号発生装置及び信号発生方法
1か月前
アンリツ株式会社
物品検査装置及びX線検査装置
1か月前
アンリツ株式会社
分光器の校正装置及び校正方法
1か月前
アンリツ株式会社
物品検査装置およびその校正方法
1か月前
アンリツ株式会社
金属検出機及び金属検出システム
1か月前
アンリツ株式会社
誤り率測定装置及び誤り率測定方法
3日前
アンリツ株式会社
誤り率測定装置及び誤り率測定方法
1か月前
アンリツ株式会社
測定装置と測定システムとその測定方法
1か月前
アンリツ株式会社
分光測定装置及びこれを備えた物品検査装置
3日前
アンリツ株式会社
分光測定装置及びこれを備えた物品検査装置
17日前
アンリツ株式会社
試験システム及び送信アンテナ相関推定方法
2日前
アンリツ株式会社
ネットワーク測定装置とその遅延時間補正方法
1か月前
アンリツ株式会社
信号発生装置および信号発生装置が実行する信号発生方法
1か月前
アンリツ株式会社
検量線生成装置、検量線生成方法及び検量線生成プログラム
1日前
アンリツ株式会社
検量線生成装置、検量線生成方法及び検量線生成プログラム
1日前
アンリツ株式会社
量子コンピュータ制御装置および量子コンピュータ制御方法
1か月前
アンリツ株式会社
量子コンピュータ制御装置、量子コンピュータ制御システムおよび量子コンピュータ制御方法
1か月前
日本精機株式会社
検出装置
24日前
個人
採尿及び採便具
1か月前
個人
計量機能付き容器
19日前
個人
高精度同時多点測定装置
1か月前
個人
アクセサリー型テスター
1か月前
株式会社カクマル
境界杭
9日前
日本精機株式会社
発光表示装置
2日前
甲神電機株式会社
電流検出装置
24日前
株式会社ミツトヨ
測定器
1か月前
株式会社トプコン
測量装置
1日前
アズビル株式会社
電磁流量計
1か月前
続きを見る
他の特許を見る