TOP
|
特許
|
意匠
|
商標
特許ウォッチ
Twitter
他の特許を見る
10個以上の画像は省略されています。
公開番号
2025173150
公報種別
公開特許公報(A)
公開日
2025-11-27
出願番号
2024078578
出願日
2024-05-14
発明の名称
圧力検出素子及び圧力センサ
出願人
ミツミ電機株式会社
代理人
個人
,
個人
主分類
G01L
9/00 20060101AFI20251119BHJP(測定;試験)
要約
【課題】圧力の検出精度を向上させる圧力検出素子及び圧力センサの提供を目的とする。
【解決手段】本圧力検出素子は、ダイヤフラム部と、平面視において前記ダイヤフラム部を囲むフレーム部と、を有する半導体基板と、それぞれが前記ダイヤフラム部上に配置される複数のピエゾ抵抗部と、複数の前記ピエゾ抵抗部のうち互いに隣り合う前記ピエゾ抵抗部同士を電気的に接続する第1金属配線と、前記ピエゾ抵抗部と前記第1金属配線との間に配置される拡散配線と、を含むブリッジ回路部と、を備え、平面視において、前記各ピエゾ抵抗部と前記フレーム部の外縁との最短距離をL1とし、前記各ピエゾ抵抗部の中心から0.5L1以上L1未満の長さの半径をそれぞれ有する複数の仮想円の領域を第1領域とするとき、前記第1金属配線は、前記半導体基板において前記第1領域を除く残余の領域に配置される。
【選択図】図3
特許請求の範囲
【請求項1】
ダイヤフラム部と、平面視において前記ダイヤフラム部を囲むフレーム部と、を有する半導体基板と、
それぞれが前記ダイヤフラム部上に配置される複数のピエゾ抵抗部と、複数の前記ピエゾ抵抗部のうち互いに隣り合う前記ピエゾ抵抗部同士を電気的に接続する第1金属配線と、前記ピエゾ抵抗部と前記第1金属配線との間に配置される拡散配線と、を含むブリッジ回路部と、
を備え、
平面視において、前記各ピエゾ抵抗部と前記フレーム部の外縁との最短距離をL1とし、前記各ピエゾ抵抗部の中心から0.5L1以上L1未満の長さの半径をそれぞれ有する複数の仮想円の領域を第1領域とするとき、前記第1金属配線は、前記半導体基板において前記第1領域を除く残余の領域に配置される、
圧力検出素子。
続きを表示(約 1,600 文字)
【請求項2】
前記ブリッジ回路部に電源電位を供給する電源電位端子と、
前記ブリッジ回路部に第1基準電位を供給する第1基準電位端子と、
前記ブリッジ回路部と、前記電源電位端子又は前記第1基準電位端子と、を電気的に接続する第2金属配線と、
をさらに備え、
前記第2金属配線は、前記半導体基板において前記第1領域を除く残余の領域に配置される、
請求項1に記載の圧力検出素子。
【請求項3】
前記ブリッジ回路部から出力される圧力検出信号を増幅する増幅器と、
前記ブリッジ回路部と前記増幅器とを電気的に接続する第3金属配線と、
前記増幅器から出力される増幅信号を出力する出力端子と、
前記増幅器と前記出力端子とを電気的に接続する第4金属配線と、
をさらに備え、
前記第3金属配線及び前記第4金属配線は、前記半導体基板において前記第1領域を除く残余の領域に配置される、
請求項2に記載の圧力検出素子。
【請求項4】
前記増幅器に第2基準電位を供給する第2基準電位端子と、
前記増幅器と前記第2基準電位端子とを電気的に接続する第5金属配線と、
を備え、
前記第5金属配線は、前記半導体基板において前記第1領域を除く残余の領域に配置される、
請求項3に記載の圧力検出素子。
【請求項5】
前記電源電位は、前記電源電位端子から前記増幅器へ供給され、
前記電源電位端子と前記増幅器との間に配置される第6金属配線をさらに備え、
前記第6金属配線は、前記半導体基板において前記第1領域を除く残余の領域に配置される、
請求項4に記載の圧力検出素子。
【請求項6】
前記第1金属配線の幅は、前記第2金属配線の幅、前記第3金属配線の幅、前記第4金属配線の幅、前記第5金属配線の幅、及び前記第6金属配線の幅より太い、
請求項5に記載の圧力検出素子。
【請求項7】
前記拡散配線は、互いに離隔した位置に複数設けられ、
前記ダイヤフラム部の中心部を介して互いに向き合う2つの前記ピエゾ抵抗部の一方に接続される前記拡散配線と、他方に接続される前記拡散配線は、平面視において、前記2つの前記ピエゾ抵抗部を通る方向に対して斜めに延びる、
請求項1又は請求項2に記載の圧力検出素子。
【請求項8】
前記各拡散配線の幅は、ピエゾ抵抗部側の端部から前記第1金属配線側の端部に向かうにしたがい太くなる、
請求項7に記載の圧力検出素子。
【請求項9】
それぞれが前記フレーム部に配置される複数の金属薄膜をさらに備える、
請求項1又は請求項2に記載の圧力検出素子。
【請求項10】
圧力検出素子と、
前記圧力検出素子に連なる流体の流路と、
前記流体から受けた圧力に応じて前記圧力検出素子から出力される圧力検出信号を取得し、前記圧力を計測する計測部と、
を備え、
前記圧力検出素子は、
ダイヤフラム部と、平面視において前記ダイヤフラム部を囲むフレーム部と、を有する半導体基板と、
それぞれが前記ダイヤフラム部上に配置される複数のピエゾ抵抗部と、複数の前記ピエゾ抵抗部のうち互いに隣り合う前記ピエゾ抵抗部同士を電気的に接続する第1金属配線と、前記ピエゾ抵抗部と前記第1金属配線との間に配置される拡散配線と、を含むブリッジ回路部と、
を備え、
平面視において、前記各ピエゾ抵抗部と前記フレーム部の外縁との最短距離をL1とし、前記各ピエゾ抵抗部の中心から0.5L1以上L1未満の長さの半径をそれぞれ有する複数の仮想円の領域を第1領域とするとき、前記第1金属配線は、前記半導体基板において前記第1領域を除く残余の領域に配置される、
圧力センサ。
発明の詳細な説明
【技術分野】
【0001】
本発明は、圧力検出素子及び圧力センサに関する。
続きを表示(約 2,100 文字)
【背景技術】
【0002】
半導体基板のダイヤフラム部に設けられたピエゾ抵抗部における電気抵抗の変化に基づいて、流体からの圧力を検出する圧力検出素子が提供されている。特許文献1に、半導体で構成され、圧力を受けて変位するダイヤフラム部を有するセンサチップと、ダイヤフラム部に形成されたピエゾ抵抗部等の複数の歪みゲージと、温度変化によって複数の歪みゲージのそれぞれの位置で生じる応力変化をバランスさせるように圧力を発生する応力バランス膜とを備えた構成が、開示されている。
【先行技術文献】
【特許文献】
【0003】
特開平11-344402号公報
【発明の概要】
【発明が解決しようとする課題】
【0004】
複数のピエゾ抵抗部同士を電気的に接続する金属配線のレイアウトによって、半導体基板における応力分布が変化する。また、半導体基板での応力分布の変化に応じて、流体から圧力を受けていないとき、すなわち、初期時のピエゾ抵抗部に加わる応力も変化し得る。そのため、半導体基板のダイヤフラム部が、流体から圧力を受けて撓んだときの圧力検出信号の出力特性にも影響が生じ得る。応力バランス膜のみでは、圧力検出信号の出力特性への影響を十分に低減できない場合がある。圧力の検出精度をさらに向上させることが求められている。
【0005】
本発明は、圧力の検出精度を向上させる圧力検出素子及び圧力センサの提供を目的とする。
【課題を解決するための手段】
【0006】
本圧力検出素子は、
ダイヤフラム部と、平面視において前記ダイヤフラム部を囲むフレーム部と、を有する半導体基板と、
それぞれが前記ダイヤフラム部上に配置される複数のピエゾ抵抗部と、複数の前記ピエゾ抵抗部のうち互いに隣り合う前記ピエゾ抵抗部同士を電気的に接続する第1金属配線と、前記ピエゾ抵抗部と前記第1金属配線との間に配置される拡散配線と、を含むブリッジ回路部と、
を備え、
平面視において、前記各ピエゾ抵抗部と前記フレーム部の外縁との最短距離をL1とし、前記各ピエゾ抵抗部の中心から0.5L1以上L1未満の長さの半径をそれぞれ有する複数の仮想円の領域を第1領域とするとき、前記第1金属配線は、前記半導体基板において前記第1領域を除く残余の領域に配置される。
【0007】
本圧力センサは、
圧力検出素子と、
前記圧力検出素子に連なる流体の流路と、
前記流体から受けた圧力に応じて前記圧力検出素子から出力される圧力検出信号を取得し、前記圧力を計測する計測部と、
を備え、
前記圧力検出素子は、
ダイヤフラム部と、平面視において前記ダイヤフラム部を囲むフレーム部と、を有する半導体基板と、
それぞれが前記ダイヤフラム部上に配置される複数のピエゾ抵抗部と、複数の前記ピエゾ抵抗部のうち互いに隣り合う前記ピエゾ抵抗部同士を電気的に接続する第1金属配線と、前記ピエゾ抵抗部と前記第1金属配線との間に配置される拡散配線と、を含むブリッジ回路部と、
を備え、
平面視において、前記各ピエゾ抵抗部と前記フレーム部の外縁との最短距離をL1とし、前記各ピエゾ抵抗部の中心から0.5L1以上L1未満の長さの半径をそれぞれ有する複数の仮想円の領域を第1領域とするとき、前記第1金属配線は、前記半導体基板において前記第1領域を除く残余の領域に配置される。
【発明の効果】
【0008】
本発明によれば、圧力の検出精度を向上させることができる。
【図面の簡単な説明】
【0009】
実施形態に係る圧力センサの一例を模式的に示す分解斜視図である。
実施形態に係る圧力検出素子内の回路構成に対応する等価回路の一例を示すブロック図である。
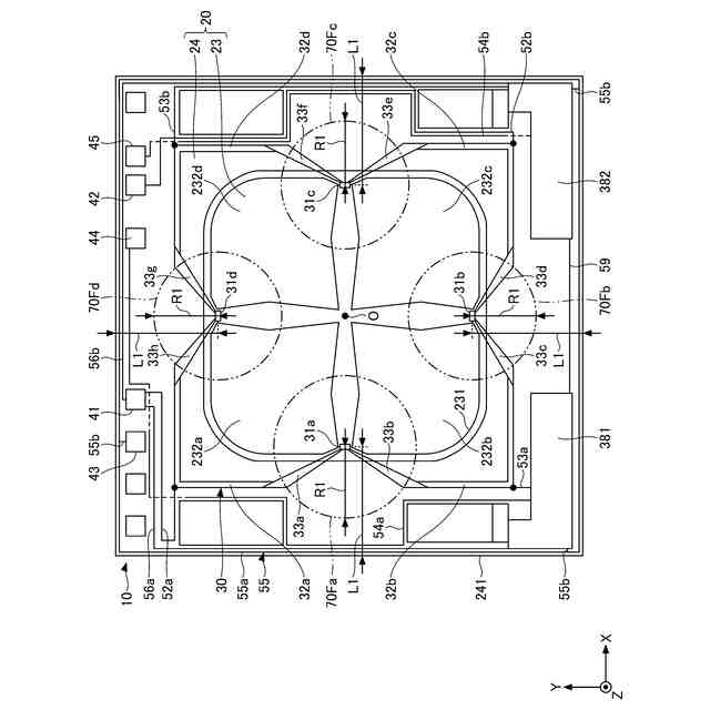
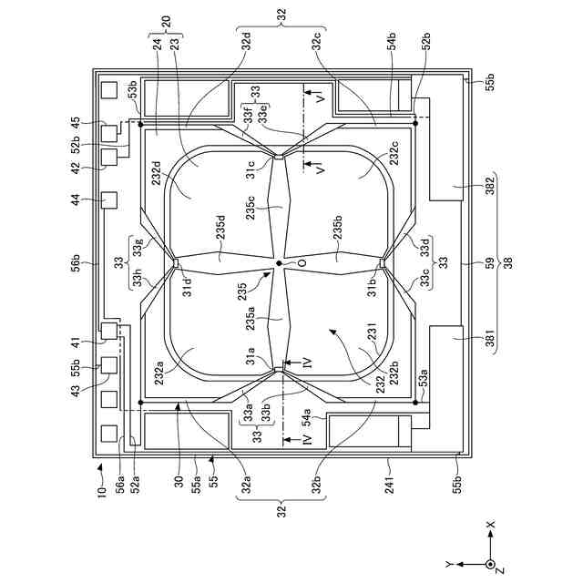
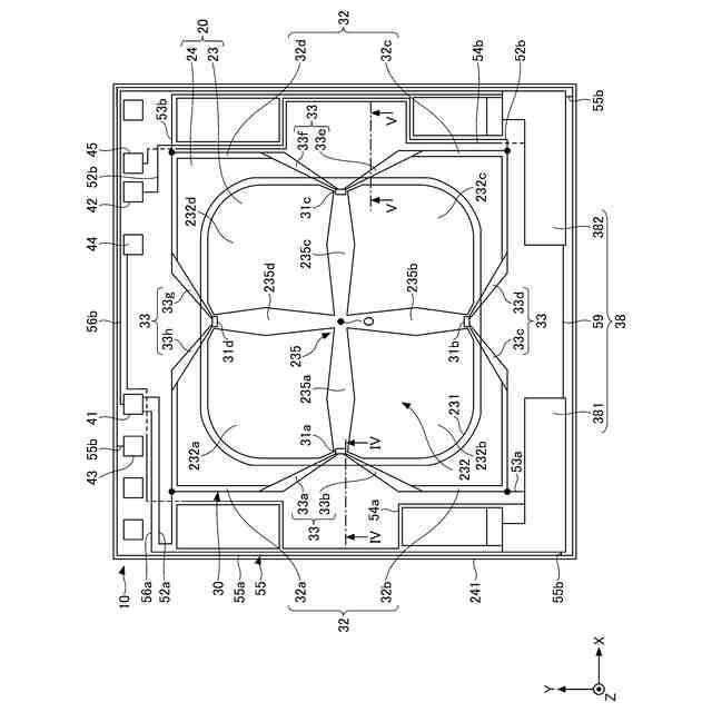
実施形態に係る圧力検出素子の全体構成の一例を模式的に示す平面図である。
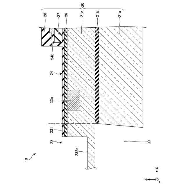
図3に示されるIV-IV線に沿って切断した、圧力検出素子の断面の一例を示す一部断面図である。
図3に示されるV-V線に沿って切断した、圧力検出素子の断面の一例を示す一部断面図である。
参考例の圧力検出素子に設けられた金属配線のレイアウトを模式的に示す平面図の一例である。
参考例の半導体基板における応力分布の一例を示す図である。
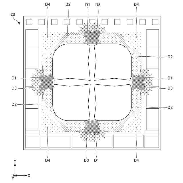
実施形態に係る圧力検出素子の金属配線を配置しない領域の一例を示す模式的な平面図である。
変形例に係る圧力検出素子の平面の一例を模式的に示す平面図である。
実施例における第1金属配線の幅の太さと、残留応力との関係の一例を示す図である。
【発明を実施するための形態】
【0010】
以下、図面を参照して発明を実施するための形態について説明する。各図面において、同一構成部分には同一符号を付し、重複した説明を適宜省略する。
(【0011】以降は省略されています)
この特許をJ-PlatPat(特許庁公式サイト)で参照する
関連特許
ミツミ電機株式会社
多方向入力装置
2日前
ミツミ電機株式会社
多方向入力装置
2日前
ミツミ電機株式会社
多方向入力装置
2日前
ミツミ電機株式会社
半導体装置の製造方法
8日前
ミツミ電機株式会社
圧力検出素子及び圧力センサ
1日前
日本精機株式会社
検出装置
23日前
個人
採尿及び採便具
29日前
個人
アクセサリー型テスター
1か月前
個人
高精度同時多点測定装置
1か月前
個人
計量機能付き容器
18日前
日本精機株式会社
発光表示装置
1日前
甲神電機株式会社
電流検出装置
23日前
株式会社カクマル
境界杭
8日前
株式会社ミツトヨ
測定器
1か月前
株式会社トプコン
測量装置
今日
アズビル株式会社
電磁流量計
1か月前
大成建設株式会社
風洞実験装置
18日前
長崎県
形状計測方法
1か月前
個人
システム、装置及び実験方法
1か月前
日本信号株式会社
距離画像センサ
21日前
日本特殊陶業株式会社
ガスセンサ
今日
愛知電機株式会社
軸部材の外観検査装置
1か月前
日本特殊陶業株式会社
ガスセンサ
16日前
大和製衡株式会社
組合せ計量装置
1か月前
愛知時計電機株式会社
ガスメータ
1か月前
ローム株式会社
半導体装置
1か月前
個人
非接触による電磁パルスの測定方法
21日前
個人
計量具及び計量機能付き容器
18日前
双庸電子株式会社
誤配線検査装置
24日前
大和製衡株式会社
組合せ計量装置
1か月前
ローム株式会社
半導体装置
1か月前
株式会社不二越
X線測定装置
21日前
日本特殊陶業株式会社
センサ
2日前
株式会社タイガーカワシマ
揚穀装置
今日
株式会社デンソー
電流センサ
1か月前
日東精工株式会社
振動波形検査装置
24日前
続きを見る
他の特許を見る