TOP
|
特許
|
意匠
|
商標
特許ウォッチ
Twitter
他の特許を見る
10個以上の画像は省略されています。
公開番号
2025172414
公報種別
公開特許公報(A)
公開日
2025-11-26
出願番号
2024077911
出願日
2024-05-13
発明の名称
多方向入力装置
出願人
ミツミ電機株式会社
代理人
個人
,
個人
,
個人
,
個人
主分類
G05G
9/047 20060101AFI20251118BHJP(制御;調整)
要約
【課題】操作軸に対する傾倒操作に応じた方向情報の入力を提供することが可能であり、かつ、製品寿命が長い多方向入力装置を提供すること。
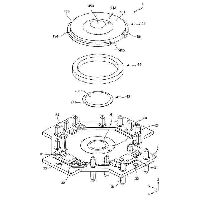
【解決手段】多方向入力装置1は、ハウジング5と、第1のスリット孔612が形成された本体部611を備える第1の回動部材61と、第2のスリット孔622が形成されたアーチ部621を備える第2の回動部材62と、第1の回動部材61および第2の回動部材62を回動させる操作軸63と、操作軸63を中立状態で弾性的に保持する保持機構7と、第1の回動部材61および第2の回動部材62のそれぞれの回動角度を検出するための検出機構8と、を含む。保持機構7は、上側板バネ91Uと、下側板バネ91Lと、を備えている。第1の回動部材61および第2の回動部材62の少なくとも一方は、金属材料により形成されている。
【選択図】図10
特許請求の範囲
【請求項1】
ハウジングと、
第1のスリット孔を有し、第1の軸方向回りに回動可能に、前記ハウジングに保持された第1の回動部材と、
第2のスリット孔を有し、前記第1の軸方向と直交する第2の軸方向回りに回動可能に、前記ハウジングに保持された第2の回動部材と、
前記第1のスリット孔および前記第2のスリット孔に挿通され、ユーザーから印加される傾倒操作に応じて、前記第1の回動部材および前記第2の回動部材を回動させる操作軸と、
前記操作軸を中立状態で弾性的に保持する保持機構と、
前記第1の回動部材および前記第2の回動部材のそれぞれの回動角度を検出するための検出機構と、を含み、
前記保持機構は、
上側板バネと、
前記上側板バネに対して高さ方向に離間して対向する下側板バネと、を備え、
前記第1の回動部材および前記第2の回動部材の少なくとも一方は、金属材料により形成されていることを特徴とする多方向入力装置。
続きを表示(約 1,300 文字)
【請求項2】
前記第1の回動部材および前記第2の回動部材の他方は、樹脂材料により形成されている請求項1に記載の多方向入力装置。
【請求項3】
前記第1の回動部材および前記第2の回動部材の他方は、前記金属材料により形成されている請求項1に記載の多方向入力装置。
【請求項4】
前記第1の回動部材は、前記第1のスリット孔が形成された板状の本体部と、前記本体部の両端部から下方に向かってそれぞれ延伸する一対の下方延伸部と、前記一対の下方延伸部のそれぞれから外側に向かって延伸する回動軸と、をさらに有し、
前記第2の回動部材は、前記第2のスリット孔が形成された上方に凸のアーチ部と、前記アーチ部の両端部からそれぞれ延伸する一対の水平延伸部と、前記一対の水平延伸部から下方に向かってそれぞれ延伸する一対の下方延伸部と、前記一対の下方延伸部のそれぞれから外側に向かって延伸する回動軸と、をさらに有し、
前記第1の回動部材の前記本体部および前記第2の回動部材の前記アーチ部の少なくとも一方は、前記金属材料により形成されている請求項1に記載の多方向入力装置。
【請求項5】
前記第1の回動部材の前記本体部および前記第2の回動部材の前記アーチ部の他方は、前記金属材料により形成されている請求項4に記載の多方向入力装置。
【請求項6】
前記第1の回動部材の前記回動軸は、前記ハウジングによって支持され、これにより、前記第1の回動部材が前記第1の軸方向回りに回動可能に保持されている請求項4に記載の多方向入力装置。
【請求項7】
前記第2の回動部材の前記回動軸は、前記ハウジングによって支持され、これにより、前記第2の回動部材が前記第2の軸方向回りに回動可能に保持されている請求項4に記載の多方向入力装置。
【請求項8】
前記第1の回動部材は、前記第1のスリット孔に取り付けられるキャップをさらに備え、
前記キャップは、樹脂材料によって形成されており、
前記キャップは、前記第1のスリット孔の内側面の少なくとも一部を覆い、
前記操作軸は、前記キャップを介して、前記第1のスリット孔の前記内側面に接触している請求項1に記載の多方向入力装置。
【請求項9】
前記上側板バネおよび前記下側板バネのそれぞれは、
外枠と、
前記外枠の内側に位置し、前記操作軸が挿通される挿通孔を有する内枠と、
前記外枠に対して前記内枠が変位可能に、前記外枠と前記内枠との間を接続する複数のバネ部と、を備えている請求項1に記載の多方向入力装置。
【請求項10】
前記保持機構は、前記上側板バネの前記外枠と前記下側板バネの前記外枠との間に位置する筒状部をさらに含み、
前記上側板バネの前記外枠は、前記筒状部の上面上に固定されており、
前記下側板バネの前記外枠は、前記筒状部の下面上に固定されている請求項9に記載の多方向入力装置。
(【請求項11】以降は省略されています)
発明の詳細な説明
【技術分野】
【0001】
本発明は、一般に、多方向入力装置に関し、より具体的には、操作軸に対する傾倒操作に応じた方向情報の入力を提供する多方向入力装置に関する。
続きを表示(約 2,700 文字)
【背景技術】
【0002】
従来、ゲーム機器等の電子機器に用いられる多方向入力装置として、操作軸に対する傾倒操作が可能な多方向入力装置が知られている。ジョイスティックまたはスティックコントローラーと呼ばれるこの種の多方向入力装置では、ユーザーは、操作軸を中立状態から任意の方向に向けて傾倒させる傾倒操作を実行することにより、操作軸に対する傾倒操作に応じた方向情報の入力を提供する。
【0003】
例えば、特許文献1は、図1に示されている多方向入力装置500を開示している。多方向入力装置500は、底板510上に固定されるハウジング520と、第1の軸方向(Y方向)回りに回動可能に、ハウジング520に保持された第1の回動部材530と、第1の軸方向と直交する第2の軸方向(X方向)回りに回動可能に、ハウジング520に保持された第2の回動部材540と、第1の回動部材530のスリット孔531および第2の回動部材540のスリット孔540aに挿通され、ユーザーから印加される傾倒操作に応じて、第1の回動部材530および第2の回動部材540を回動させると共に、ユーザーからの押下操作に応じて下方に変位可能な操作軸550と、操作軸550の下端部に、操作軸550の軸方向に沿って移動可能に設けられた作動部材560と、操作軸550と作動部材560との間に設けられたコイルバネ570と、第1の回動部材530および第2の回動部材540の回動角度を検出するためにハウジング520上に設けられたセンサー580と、底板510の一方の側壁から外側に突出する部品取り付け部510a内に設けられたプッシュスイッチ590と、を備えている。
【0004】
ユーザーから操作軸550に対して任意の方向への傾倒操作が印加されると、操作軸550の傾倒動作に伴い、第1の回動部材530および第2の回動部材540が回動する。第1の回動部材530および第2の回動部材540の回動角度のそれぞれは、センサー580によって検出され、操作軸550に対するユーザーの傾倒操作に応じた方向情報の入力が提供される。また、ユーザーから操作軸550に対して押下操作が印加されると、操作軸550と係合している第2の回動部材540が下方に変位し、第2の回動部材540がプッシュスイッチ590を押下する。これにより、操作軸550に対するユーザーの押下操作に応じた押下情報の入力が提供される。
【0005】
作動部材560は、底面が皿状に湾曲された基部561と、基部561の中央部に形成され、操作軸550の下端部が挿入される筒状のボス部562と、基部561の外周部から外側に突出する円弧部563と、を備えている。このような多方向入力装置500では、ユーザーが操作軸550に対して傾倒操作を印加した場合、操作軸550の傾倒角度が小さい初期段階においては、作動部材560が底板510上をスライドする。その後、操作軸550の傾倒角度が一定値を超えると、作動部材560の円弧部563の下面が、底板510上に形成された突部510bに当接しながら作動部材560が傾斜し、コイルバネ570の弾性力に抗して、作動部材560が操作軸550の軸方向に持ち上げられる。その後、操作軸550に対する傾倒操作が解除されると、コイルバネ570の弾性復元力と基部561の底面の形状によって、操作軸550が直立の中立状態に復帰する。このように、作動部材560は、操作軸550を直立の中立状態で弾性的に保持する機能を提供している。
【0006】
しかしながら、多方向入力装置500では、操作軸550が傾倒動作を実行する際に、作動部材560が底板510上をスライドするので、作動部材560と底板510との間に摩擦が生じる。さらに、作動部材560が操作軸550の軸方向に沿って移動するので、作動部材560と操作軸550との間に摩擦が生じる。そのため、操作軸550に対する傾倒操作が繰り返し実行されると、作動部材560が摩耗してしまい、多方向入力装置500の製品寿命が短くなってしまうという問題があった。
【先行技術文献】
【特許文献】
【0007】
特開2000-305650号公報
【発明の概要】
【発明が解決しようとする課題】
【0008】
本発明は、上記従来の問題点を鑑みたものであり、その目的は、操作軸に対する傾倒操作に応じた方向情報の入力を提供することが可能であり、かつ、製品寿命が長い多方向入力装置を提供することにある。
【課題を解決するための手段】
【0009】
このような目的は、以下の(1)によって規定される本発明により達成される。
(1)ハウジングと、
第1のスリット孔を有し、第1の軸方向回りに回動可能に、前記ハウジングに保持された第1の回動部材と、
第2のスリット孔を有し、前記第1の軸方向と直交する第2の軸方向回りに回動可能に、前記ハウジングに保持された第2の回動部材と、
前記第1のスリット孔および前記第2のスリット孔に挿通され、ユーザーから印加される傾倒操作に応じて、前記第1の回動部材および前記第2の回動部材を回動させる操作軸と、
前記操作軸を中立状態で弾性的に保持する保持機構と、
前記第1の回動部材および前記第2の回動部材のそれぞれの回動角度を検出するための検出機構と、を含み、
前記保持機構は、
上側板バネと、
前記上側板バネに対して高さ方向に離間して対向する下側板バネと、を備え、
前記第1の回動部材および前記第2の回動部材の少なくとも一方は、金属材料により形成されていることを特徴とする多方向入力装置。
【発明の効果】
【0010】
本発明の多方向入力装置においては、操作軸が、高さ方向に互いに離間して対向する上側板バネおよび下側板バネによって、中立状態で弾性的に保持される。また、操作軸が傾倒動作を実行する際、上側板バネおよび下側板バネが、ハウジング内の他の部材上をスライドしない。そのため、本発明の多方向入力装置に対して、ユーザーが繰り返し傾倒操作を印加したとしても、上側板バネおよび下側板バネが摩耗せず、多方向入力装置の製品寿命を大幅に伸ばすことができる。
(【0011】以降は省略されています)
この特許をJ-PlatPat(特許庁公式サイト)で参照する
関連特許
ミツミ電機株式会社
多方向入力装置
3日前
ミツミ電機株式会社
多方向入力装置
3日前
ミツミ電機株式会社
多方向入力装置
3日前
ミツミ電機株式会社
半導体装置の製造方法
9日前
ミツミ電機株式会社
圧力検出素子及び圧力センサ
2日前
ミツミ電機株式会社
駆動装置、カメラモジュールおよびカメラ搭載装置
22日前
ミツミ電機株式会社
駆動装置、カメラモジュールおよびカメラ搭載装置
22日前
ミツミ電機株式会社
DC-DCコンバータおよび電源用半導体集積回路
1か月前
ミツミ電機株式会社
羽根駆動装置、カメラモジュール及びカメラ搭載装置
10日前
ミツミ電機株式会社
モーター、羽根駆動装置、カメラモジュール及びカメラ搭載装置
10日前
個人
生産早送り装置
3か月前
株式会社豊田自動織機
産業車両
3か月前
株式会社カネカ
製造システム
2か月前
オムロン株式会社
スレーブ装置
2か月前
株式会社熊谷組
障害物の検出方法
1か月前
愛知製鋼株式会社
車両用システム
3か月前
ローム株式会社
基準電圧源
2か月前
株式会社クボタ
作業車
1か月前
新電元工業株式会社
作業用ロボット
1か月前
株式会社クボタ
作業車
1日前
ローム株式会社
半導体集積回路
2日前
豊田合成株式会社
機器制御装置
1か月前
株式会社アサヒエンタープライズ
調整弁
17日前
株式会社ダイフク
搬送設備
2か月前
株式会社ダイフク
搬送設備
2か月前
エイブリック株式会社
電流補償回路及び半導体装置
1か月前
トヨタ自動車株式会社
クラッチペダル
3か月前
株式会社ダイフク
物品搬送設備
2か月前
株式会社ダイフク
物品搬送設備
9日前
株式会社ダイフク
物品搬送設備
1か月前
キヤノン株式会社
配送システム
2か月前
カヤバ株式会社
減圧弁
1か月前
トヨタ自動車株式会社
制御装置
2か月前
株式会社CAOS
移動体の制御システム
2か月前
ルネサスエレクトロニクス株式会社
半導体装置
3か月前
株式会社TMEIC
安全性診断装置
2か月前
続きを見る
他の特許を見る