TOP
|
特許
|
意匠
|
商標
特許ウォッチ
Twitter
他の特許を見る
10個以上の画像は省略されています。
公開番号
2025173194
公報種別
公開特許公報(A)
公開日
2025-11-27
出願番号
2024078659
出願日
2024-05-14
発明の名称
位置推定装置
出願人
古野電気株式会社
代理人
弁理士法人 楓国際特許事務所
主分類
G01S
5/14 20060101AFI20251119BHJP(測定;試験)
要約
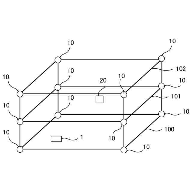
【課題】移動局の屋内における階層の位置を推定する位置推定装置を提供する。
【解決手段】位置推定装置は、無線通信機能を有し、屋内のうち高さ方向に異なる複数の階層にそれぞれ設置されている複数の基準局の位置情報を取得し、前記複数の基準局と移動局とのそれぞれの通信時の電波強度を取得し、前記電波強度に基づいて、前記移動局の前記屋内における前記階層の位置を推定する、演算部を備えたことを特徴とする。
【選択図】図1
特許請求の範囲
【請求項1】
無線通信機能を有し、屋内のうち高さ方向に異なる複数の階層にそれぞれ設置されている複数の基準局の位置情報を取得し、
前記複数の基準局と移動局とのそれぞれの通信時の電波強度を取得し、
前記電波強度に基づいて、前記移動局の前記屋内における前記階層の位置を推定する、
演算部を備えた位置推定装置。
続きを表示(約 850 文字)
【請求項2】
請求項1に記載の位置推定装置であって、
前記複数の基準局は、前記複数の階層の各階層にそれぞれ複数設置され、
前記演算部は、前記電波強度を階層毎に平滑化し、平滑化後の前記電波強度に基づいて前記移動局の前記屋内における前記階層の位置を三点測位法で推定する、
位置推定装置。
【請求項3】
請求項1または請求項2に記載の位置推定装置であって、
前記演算部は、前記複数の階層の各階層に定められた減衰定数で前記電波強度を補正し、補正後の該電波強度に基づいて、前記移動局の前記屋内における前記階層の位置を推定する、
位置推定装置。
【請求項4】
請求項1または請求項2に記載の位置推定装置であって、
前記複数の基準局は気圧センサを有し、
前記演算部は、前記気圧センサの値に基づいて、推定した階層の位置における、前記移動局の高さ方向の位置を推定する、
位置推定装置。
【請求項5】
請求項4に記載の位置推定装置であって、
前記演算部は、前記複数の基準局の地点の基準気圧を取得して前記気圧センサの値を補正する、
位置推定装置。
【請求項6】
請求項1または請求項2に記載の位置推定装置であって、
前記移動局は気圧センサを有し、
前記演算部は、前記移動局の地点の基準気圧を取得して前記気圧センサの値を補正し、
補正後の前記気圧センサの値に基づいて、推定した階層の位置における、前記移動局の高さ方向の位置を推定する、
位置推定装置。
【請求項7】
請求項1または請求項2に記載の位置推定装置であって、
前記演算部は、前記複数の基準局毎に定められたアンテナ利得で前記電波強度を補正し、補正後の該電波強度に基づいて、前記移動局の前記屋内における前記階層の位置を推定する、
位置推定装置。
発明の詳細な説明
【技術分野】
【0001】
この発明は、移動局の屋内における位置を推定する位置推定装置に関する。
続きを表示(約 1,000 文字)
【背景技術】
【0002】
従来、GNSS信号を用いることなく移動局の屋内平面位置を推定する方法として、ビーコン信号等の無線通信の電波強度を用いた三点測位法が知られている(例えば特許文献1を参照)。三点測位法は、少なくとも3つの基準局と移動局との距離を求め、各基準局からの距離に対応する複数の円の交点を移動局の屋内平面上の位置とみなす手法である。
【先行技術文献】
【特許文献】
【0003】
特開2012-255673号公報
【発明の概要】
【発明が解決しようとする課題】
【0004】
特許文献1の構成は、移動局の屋内における階層の位置を推定するものではない。
【0005】
そこで、この発明は、移動局の屋内における階層の位置を推定する位置推定装置を提供することを目的とする。
【課題を解決するための手段】
【0006】
この発明の位置推定装置は、無線通信機能を有し、屋内のうち高さ方向に異なる複数の階層にそれぞれ設置されている複数の基準局の位置情報を取得し、前記複数の基準局と移動局とのそれぞれの通信時の電波強度を取得し、前記電波強度に基づいて、前記移動局の前記屋内における前記階層の位置を推定する、演算部を備えたことを特徴とする。
【0007】
これにより、位置推定装置は、移動局の屋内平面位置だけでなく高さ方向に異なる複数の階層のどの階層に存在するか検出することができる。
【0008】
前記複数の基準局は、前記複数の階層の各階層にそれぞれ複数設置され、前記演算部は、前記電波強度を階層毎に平滑化し、平滑化後の前記電波強度に基づいて前記移動局の前記屋内における前記階層の位置を三点測位法で推定してもよい。
【0009】
演算部は、前記複数の基準局毎に定められたアンテナ利得で前記電波強度を補正し、補正後の該電波強度に基づいて、前記移動局の前記屋内における前記階層の位置を推定してもよい。これにより、位置推定装置1は、複数の基準局のそれぞれのアンテナ利得が異なる場合であっても高い精度で移動局の屋内における階層の位置を推定することができる。
【0010】
演算部は、前記複数の階層の各階層に定められた減衰定数で前記電波強度を補正し、補正後の該電波強度に基づいて、前記移動局の前記屋内における前記階層の位置を推定してもよい。
(【0011】以降は省略されています)
この特許をJ-PlatPat(特許庁公式サイト)で参照する
関連特許
古野電気株式会社
装置
1か月前
古野電気株式会社
送受波器
1か月前
古野電気株式会社
監視装置
1か月前
古野電気株式会社
位置推定装置
1日前
古野電気株式会社
位置推定装置
1日前
古野電気株式会社
ヘリカルアンテナ
8日前
古野電気株式会社
アンテナ装置、送信機、及びレーダー
8日前
古野電気株式会社
監視装置、レンズ識別方法、及びプログラム
1か月前
古野電気株式会社
画像表示装置、画像表示方法およびプログラム
8日前
古野電気株式会社
船舶航行支援システム、および、船舶航行支援方法
21日前
古野電気株式会社
遊泳速度測定装置、遊泳速度測定方法、及びプログラム
1か月前
古野電気株式会社
気象予測装置、気象予測方法および気象予測プログラム
1か月前
古野電気株式会社
海図情報表示システム、海図情報表示方法、及びプログラム
1か月前
古野電気株式会社
レーダ装置、エコー画像生成方法およびエコー画像生成プログラム
24日前
古野電気株式会社
船体制御装置、船体制御システム、船体制御方法、船体制御プログラム
1か月前
個人
採尿及び採便具
29日前
日本精機株式会社
検出装置
23日前
個人
アクセサリー型テスター
1か月前
個人
高精度同時多点測定装置
1か月前
個人
計量機能付き容器
18日前
日本精機株式会社
発光表示装置
1日前
株式会社ミツトヨ
測定器
1か月前
甲神電機株式会社
電流検出装置
23日前
株式会社カクマル
境界杭
8日前
株式会社トプコン
測量装置
今日
アズビル株式会社
電磁流量計
1か月前
株式会社ヨコオ
ソケット
1か月前
株式会社ヨコオ
ソケット
1か月前
大成建設株式会社
風洞実験装置
18日前
ダイキン工業株式会社
監視装置
1か月前
トヨタ自動車株式会社
監視装置
1か月前
ローム株式会社
半導体装置
1か月前
日本特殊陶業株式会社
ガスセンサ
今日
TDK株式会社
磁気センサ
1か月前
ローム株式会社
半導体装置
1か月前
双庸電子株式会社
誤配線検査装置
24日前
続きを見る
他の特許を見る