TOP
|
特許
|
意匠
|
商標
特許ウォッチ
Twitter
他の特許を見る
公開番号
2025150239
公報種別
公開特許公報(A)
公開日
2025-10-09
出願番号
2024051023
出願日
2024-03-27
発明の名称
気象予測装置、気象予測方法および気象予測プログラム
出願人
古野電気株式会社
代理人
弁理士法人ワンディ-IPパ-トナ-ズ
主分類
G01W
1/10 20060101AFI20251002BHJP(測定;試験)
要約
【課題】降雨に関する予測を簡単に行う。
【解決手段】気象予測装置は、水蒸気センサにより計測された、大気中における水蒸気量を示す水蒸気情報を取得する取得部と、前記水蒸気情報に基づいて、前記大気中における将来の前記水蒸気量の予測値を算出する予測処理を行う予測部と、前記予測値に基づいて、将来の降雨に関する判定処理を行う判定部とを備える。
【選択図】図1
特許請求の範囲
【請求項1】
水蒸気センサにより計測された、大気中における水蒸気量を示す水蒸気情報を取得する取得部と、
前記水蒸気情報に基づいて、前記大気中における将来の前記水蒸気量の予測値を算出する予測処理を行う予測部と、
前記予測値に基づいて、将来の降雨に関する判定処理を行う判定部とを備える、気象予測装置。
続きを表示(約 1,300 文字)
【請求項2】
前記水蒸気情報は、前記大気中における可降水量を前記水蒸気量として示す、請求項1に記載の気象予測装置。
【請求項3】
前記取得部は、計測時刻が互いに異なる複数の前記水蒸気量をそれぞれ示す複数の前記水蒸気情報を取得し、
前記予測部は、前記複数の水蒸気情報に基づいて、前記予測処理を行う、請求項1または請求項2に記載の気象予測装置。
【請求項4】
前記取得部は、第1時刻における前記水蒸気量を示す第1の前記水蒸気情報と、前記第1時刻よりも前の時刻である第2時刻における前記水蒸気量を示す第2の前記水蒸気情報とを、前記複数の水蒸気情報として取得し、
前記予測部は、前記第1の水蒸気情報および前記第2の水蒸気情報に基づく関係式であって、時刻と前記水蒸気量との関係を示す前記関係式を用いて、前記予測処理において、前記第1時刻よりも後の時刻における前記予測値を算出する、請求項3に記載の気象予測装置。
【請求項5】
前記取得部は、第1時刻における前記水蒸気量を示す第1の前記水蒸気情報と、前記第1時刻よりも前の時刻である第2時刻における前記水蒸気量を示す第2の前記水蒸気情報とを、前記複数の水蒸気情報として取得し、
前記予測部は、前記第1の水蒸気情報の示す前記水蒸気量と前記第2の水蒸気情報の示す前記水蒸気量との差、および前記第1時刻と前記第2時刻との時間差の少なくともいずれか一方を用いて前記予測処理を行う、請求項3に記載の気象予測装置。
【請求項6】
前記判定部は、前記予測値と閾値との比較結果に基づいて、前記判定処理を行う、請求項1または請求項2に記載の気象予測装置。
【請求項7】
前記閾値は、季節および前記水蒸気センサの設置場所の少なくともいずれか一方に応じた値である、請求項6に記載の気象予測装置。
【請求項8】
前記取得部は、計測時刻が互いに異なる複数の前記水蒸気量をそれぞれ示す複数の前記水蒸気情報を取得し、
前記気象予測装置は、さらに、
前記複数の水蒸気量の統計値に基づいて、前記閾値を更新する閾値設定部を備える、請求項6に記載の気象予測装置。
【請求項9】
前記気象予測装置は、さらに、
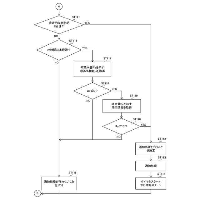
前記判定部が前記降雨について肯定的な判定を行った場合、前記判定部の判定結果を通知する通知処理を行う通知部を備える、請求項1または請求項2に記載の気象予測装置。
【請求項10】
前記取得部は、さらに、前記通知部によって前記通知処理が行われた後の時刻である通知後時刻における前記水蒸気量を示す前記水蒸気情報を取得し、
前記判定部は、定期的または不定期に前記判定処理を行い、
前記通知部は、前記通知後時刻における前記水蒸気量が所定条件を満たし、かつ前記判定部が前記判定処理において前記降雨について肯定的な判定を再び行った場合、前記通知処理を再び行う、請求項9に記載の気象予測装置。
(【請求項11】以降は省略されています)
発明の詳細な説明
【技術分野】
【0001】
本開示は、気象予測装置、気象予測方法および気象予測プログラムに関する。
続きを表示(約 1,400 文字)
【背景技術】
【0002】
従来、レーダ装置等によって取得された、上空の気象状態に関する観測データを用いて、将来の気象状態をシミュレーションすることにより気象予報を行う技術が開発されている。たとえば、特許文献1(特開2019-45146号公報)には、以下のような技術が開示されている。すなわち、気象予測装置は、レーダ装置によって得られた上空の気象状態に基づいて、地上における降水のリスクを導出する降水リスク導出部と、前記降水リスク導出部により導出された前記降水のリスクに基づく情報を出力する出力部と、を備える。
【先行技術文献】
【特許文献】
【0003】
特開2019-45146号公報
【発明の概要】
【発明が解決しようとする課題】
【0004】
気象予報において、降雨のタイミングを予測する場合がある。特許文献1に記載の技術のように、レーダ装置を用いて降雨のタイミングを予測する場合、大がかりなレーダ装置を配備する必要がある。また、特許文献1に記載の技術では、レーダ装置によって取得される観測データが、上空を複数の領域に分割した場合における領域ごとの観測結果を示すため、当該観測データを用いてシミュレーションを行う場合、多くの計算時間および労力を要する。
【0005】
本開示は、上述の課題を解決するためになされたもので、その目的は、降雨に関する予測を簡単に行うことが可能な気象予測装置、気象予測方法および気象予測プログラムを提供することである。
【課題を解決するための手段】
【0006】
(1)本開示の実施の形態に係る気象予測装置は、水蒸気センサにより計測された、大気中における水蒸気量を示す水蒸気情報を取得する取得部と、前記水蒸気情報に基づいて、前記大気中における将来の前記水蒸気量の予測値を算出する予測処理を行う予測部と、前記予測値に基づいて、将来の降雨に関する判定処理を行う判定部とを備える。
【0007】
このように、水蒸気センサの計測結果に基づく予測値を用いて、将来の降雨に関する判定を行う構成により、たとえば、上空の気象状態に関する観測結果を用いて、シミュレーションにより当該判定を行う構成と比較して、上空の気象状態を観測するための、大がかりなレーダ装置を配備する必要がないため、降雨に関する判定を行うための設備を小型化することができる。また、判定結果を取得するまでに要する計算時間および労力を削減することができる。したがって、降雨に関する予測を簡単に行うことができる。
【0008】
(2)上記(1)において、前記水蒸気情報は、前記大気中における可降水量を前記水蒸気量として示してもよい。
【0009】
可降水量は、地表から上空までの大気中に含まれる水蒸気が擬結して雨となったと仮定した場合における降水量を表す物理量である。上記のような構成により、水蒸気センサによる可降水量の計測結果に基づいて、将来の可降水量の予測値を算出することができるため、将来の降雨に関する判定をより正確に行うことができる。
【0010】
(3)上記(1)または(2)において、前記取得部は、計測時刻が互いに異なる複数の前記水蒸気量をそれぞれ示す複数の前記水蒸気情報を取得し、前記予測部は、前記複数の水蒸気情報に基づいて、前記予測処理を行ってもよい。
(【0011】以降は省略されています)
この特許をJ-PlatPat(特許庁公式サイト)で参照する
関連特許
古野電気株式会社
装置
1日前
古野電気株式会社
監視装置
1日前
古野電気株式会社
監視装置、レンズ識別方法、及びプログラム
1日前
古野電気株式会社
気象予測装置、気象予測方法および気象予測プログラム
9日前
古野電気株式会社
海図情報表示システム、海図情報表示方法、及びプログラム
1日前
古野電気株式会社
船体制御装置、船体制御システム、船体制御方法、船体制御プログラム
1日前
個人
メジャー文具
11日前
個人
高精度同時多点測定装置
3日前
個人
アクセサリー型テスター
4日前
ユニパルス株式会社
ロードセル
10日前
株式会社チノー
放射光測温装置
10日前
ダイキン工業株式会社
監視装置
8日前
株式会社ヨコオ
ソケット
9日前
トヨタ自動車株式会社
監視装置
9日前
株式会社ヨコオ
ソケット
10日前
TDK株式会社
ガスセンサ
10日前
TDK株式会社
磁気センサ
9日前
ローム株式会社
半導体装置
2日前
長崎県
形状計測方法
4日前
TDK株式会社
ガスセンサ
15日前
ローム株式会社
半導体装置
2日前
三菱マテリアル株式会社
温度センサ
11日前
日本特殊陶業株式会社
センサ
8日前
日本特殊陶業株式会社
センサ
8日前
日本特殊陶業株式会社
センサ
8日前
株式会社デンソー
電流センサ
2日前
トヨタ自動車株式会社
測定システム
1日前
日本特殊陶業株式会社
センサ
8日前
日本特殊陶業株式会社
センサ
8日前
三恵技研工業株式会社
融雪レドーム
9日前
中国電力株式会社
電柱管理システム
8日前
多摩川精機株式会社
冗長エンコーダ
9日前
ダイハツ工業株式会社
移動支援装置
9日前
TDK株式会社
電磁波センサ
10日前
住友電気工業株式会社
分析方法
11日前
日鉄テックスエンジ株式会社
聴音装置
10日前
続きを見る
他の特許を見る