TOP
|
特許
|
意匠
|
商標
特許ウォッチ
Twitter
他の特許を見る
10個以上の画像は省略されています。
公開番号
2025158532
公報種別
公開特許公報(A)
公開日
2025-10-17
出願番号
2024061164
出願日
2024-04-05
発明の名称
船体制御装置、船体制御システム、船体制御方法、船体制御プログラム
出願人
古野電気株式会社
代理人
弁理士法人 楓国際特許事務所
主分類
B63H
25/04 20060101AFI20251009BHJP(船舶またはその他の水上浮揚構造物;関連艤装品)
要約
【課題】自動航行への切り替えを簡単な操作で実現する。
【解決手段】
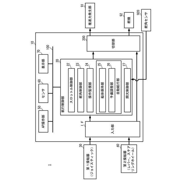
船体制御装置10は、入力部IF、操作監視部24、および、船体保持部25を備える。入力部IFは、船体の移動方向または推進力を制御する操船器の操作位置が入力される。操作監視部24は、操船器の操作位置の時間変化に基づいて、操船器の操作位置が所定時間に亘って変化しない操作静止状態を検知する。船体保持部25は、操作静止状態の検知を含む船体保持条件を満たすと、船体の挙動を保持する船体保持制御を行う。
【選択図】 図1
特許請求の範囲
【請求項1】
船体の移動方向または推進力を制御する操船器の操作位置が入力される入力部と、
前記操船器の操作位置の時間変化に基づいて、前記操船器の操作位置が所定時間に亘って変化しない操作静止状態を検知する操作監視部と、
前記操作静止状態の検知を含む船体保持条件を満たすと、前記船体の挙動を保持する船体保持制御を行う船体保持部と、
を備える、船体制御装置。
続きを表示(約 1,400 文字)
【請求項2】
請求項1に記載の船体制御装置であって、
前記操船器は、ジョイスティックを備え、
前記ジョイスティックは前記操作位置に応じて前進操作、ニュートラル、後進操作が可能であり、
前記操作監視部は、前記ジョイスティックによる前記前進操作または前記後進操作に対応する前記操作位置が所定時間に亘って変化しない前記操作静止状態を検知し、
前記船体保持部は、前記操作監視部の検知が生じた時点での前記推進力の保持を行う、
船体制御装置。
【請求項3】
請求項1に記載の船体制御装置であって、
前記操船器は、ジョイスティックを備え、
前記操作監視部は、前記ジョイスティックの操作位置が中立である状態が継続することで前記操作静止状態を検知し、
前記船体保持部は、前記操作監視部の検知が生じた時点での前記船体の移動方向の保持を行う、
船体制御装置。
【請求項4】
請求項1に記載の船体制御装置であって、
前記操船器は、手動航行から自動航行への切替を受け付ける第1スイッチを備え、
前記船体制御装置は、
前記第1スイッチによる自動航行への切替の操作を検出すると、前記船体の推進力の目標値を船体保持用の初期推進力に設定する予備調整部と、
前記船体の推進力が前記初期推進力になった後に、前記初期推進力を保持する前記船体保持制御を行う前記船体保持部と、を有する自動航行部を備える、
船体制御装置。
【請求項5】
請求項4に記載の船体制御装置であって、
前記予備調整部は、前記第1スイッチによる前記自動航行への切替を検出すると、その時点の推進力から前記船体保持用の初期推進力に加速度を調整しながら近づける、
船体制御装置。
【請求項6】
請求項4に記載の船体制御装置であって、
前記操作監視部は、前記初期推進力を保持する前記船体保持制御が開始した後に、ジョイスティックの操作位置が中立である状態が継続することで前記操作静止状態を検知し、
前記船体保持部は、前記操作静止状態の検知が生じた時点での前記船体の移動方向の保持を行う、
船体制御装置。
【請求項7】
請求項4に記載の船体制御装置であって、
前記船体保持部は、前記船体保持制御中においてジョイスティックの前後方向の操作に基づいて、船体保持時の推進力を調整する、
船体制御装置。
【請求項8】
請求項1に記載の船体制御装置であって、
前記操船器は、前記推進力の間欠制御の操作を受け付ける第2スイッチを備え、
前記船体制御装置は、前記船体保持制御中における前記第2スイッチの操作に基づいて、前記間欠制御を開始する間欠制御部を備える、
船体制御装置。
【請求項9】
請求項8に記載の船体制御装置であって、
前記間欠制御部は、前記操船器における前記間欠制御の制御パターンを切り替える操作を受け付ける第3スイッチの操作に基づいて、前記間欠制御の制御パターンを切り替える、
船体制御装置。
【請求項10】
請求項9に記載の船体制御装置であって、
前記第2スイッチは、前記第3スイッチを兼用する、
船体制御装置。
(【請求項11】以降は省略されています)
発明の詳細な説明
【技術分野】
【0001】
本発明は、船体に対する低速での自動航行制御に関する。
続きを表示(約 1,100 文字)
【背景技術】
【0002】
特許文献1には、ジョイスティックを用いた操船を可能とする自動操船装置が記載されている。
【先行技術文献】
【特許文献】
【0003】
特許第3493345号明細書
【発明の概要】
【発明が解決しようとする課題】
【0004】
しかしながら、特許文献1の装置では、定点保持用の操作部とジョイスティックとを備えている。このため、ジョイスティックを用いた手動航行と、定点保持用の操作部を用いた自動航行との切り替え操作は、操作者にとって煩雑であった。また、このような手動航行と自動航行とを個別に操作する構成を備えない場合、自動航行に対する各種の調整から自動航行に復帰させる操作は容易ではなかった。
【0005】
したがって、本発明の目的は、自動航行への切り替えを簡単な操作で実現することにある。
【課題を解決するための手段】
【0006】
この発明の一実施形態に係る船体制御装置は、入力部、操作監視部、および、船体保持部を備える。入力部は、船体の移動方向または推進力を制御する操船器の操作位置が入力される。操作監視部は、操船器の操作位置の時間変化に基づいて、操船器の操作位置が所定時間に亘って変化しない操作静止状態を検知する。船体保持部は、操作静止状態の検知を含む船体保持条件を満たすと、船体の挙動を保持する船体保持制御を行う。
【0007】
この構成では、操船器を所定時間変化させないという操作で、船体保持(自動航行)への切り替えをできるため、自動航行への切り替えを簡単な操作で実現できる。
【0008】
この発明の一実施形態に係る船体制御装置では、操船器は、ジョイスティックを備える。ジョイスティックは操作位置に応じて前進操作、ニュートラル、後進操作が可能である。操作監視部は、ジョイスティックによる前進操作または後進操作に対応する操作位置が所定時間に亘って変化しない操作静止状態を検知する。船体保持部は、操作監視部の検知が生じた時点での推進力の保持を行う。
【0009】
この構成では、自動航行への切り替えを受け付ける前の操作状態による船舶の挙動(移動方向、推進力)が自動航行時に反映される。
【0010】
この発明の一実施形態に係る船体制御装置では、操船器は、ジョイスティックを備える。操作監視部は、ジョイスティックの操作位置が中立である状態が継続することで操作静止状態を検知する。船体保持部は、操作監視部の検知が生じた時点での船体の移動方向の保持を行う。
(【0011】以降は省略されています)
この特許をJ-PlatPat(特許庁公式サイト)で参照する
関連特許
古野電気株式会社
装置
1か月前
古野電気株式会社
送受波器
1か月前
古野電気株式会社
監視装置
1か月前
古野電気株式会社
位置推定装置
1日前
古野電気株式会社
位置推定装置
1日前
古野電気株式会社
ヘリカルアンテナ
8日前
古野電気株式会社
アンテナ装置、送信機、及びレーダー
8日前
古野電気株式会社
監視装置、レンズ識別方法、及びプログラム
1か月前
古野電気株式会社
画像表示装置、画像表示方法およびプログラム
8日前
古野電気株式会社
船舶航行支援システム、および、船舶航行支援方法
21日前
古野電気株式会社
遊泳速度測定装置、遊泳速度測定方法、及びプログラム
1か月前
古野電気株式会社
気象予測装置、気象予測方法および気象予測プログラム
1か月前
古野電気株式会社
海図情報表示システム、海図情報表示方法、及びプログラム
1か月前
古野電気株式会社
レーダ装置、エコー画像生成方法およびエコー画像生成プログラム
24日前
古野電気株式会社
船体制御装置、船体制御システム、船体制御方法、船体制御プログラム
1か月前
個人
水上遊具
6か月前
個人
洋上研究所
4か月前
個人
補助機構
8か月前
個人
津波防災ウエア
3か月前
個人
船用横揺防止具
9か月前
個人
コンパクトシティ船
8か月前
個人
渦流動力推進構造
8か月前
石田造船株式会社
内航船
21日前
個人
セールのバテンガイド装置
4か月前
個人
水質浄化・集熱昇温システム
5か月前
炎重工株式会社
浮標
10か月前
炎重工株式会社
浮標
10か月前
住友重機械工業株式会社
船舶
5か月前
株式会社フルトン
水中捕捉装置
8か月前
個人
船舶
10か月前
株式会社ラフティ
サーフボード
4か月前
個人
スクリュープロペラ
8か月前
オーケー工業株式会社
係留フック
9か月前
ペアリ株式会社
海の環境改善装置
1か月前
個人
回転式による流体流出防止タンカー
8か月前
ヤマハ発動機株式会社
船外機
10か月前
続きを見る
他の特許を見る