TOP
|
特許
|
意匠
|
商標
特許ウォッチ
Twitter
他の特許を見る
公開番号
2025170892
公報種別
公開特許公報(A)
公開日
2025-11-20
出願番号
2024075728
出願日
2024-05-08
発明の名称
ヘリカルアンテナ
出願人
古野電気株式会社
代理人
弁理士法人 楓国際特許事務所
主分類
H01Q
11/08 20060101AFI20251113BHJP(基本的電気素子)
要約
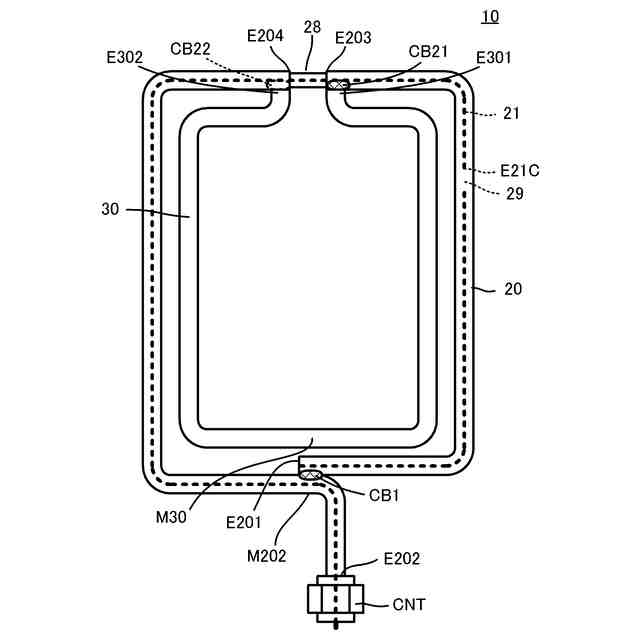
【課題】空電に強い簡素な構成のヘリカルアンテナを提供する。
【解決手段】ヘリカルアンテナ10は、同軸ケーブル20および線状導体30を備える。線状導体30は、外導体第1端部E203に一方端E301が接続され、外導体第2端部E204に他方端E302が接続される環状である。同軸ケーブル20と線状導体30は、ギャップ部28を基準として、90°の間隔で配置され、かつ、それぞれ、180°に捻れた形状である。同軸ケーブル20の内導体21は、外導体第1端部E203の位置から先端部E201側の部分に切断部29を有する。nを正の整数とし、放射する電波の周波数の同軸ケーブル1波長の電気長をλとして、外導体第1端部E203から切断部29までの内導体21の長さは、(2n-1)λ/4である。
【選択図】図1
特許請求の範囲
【請求項1】
先端部と延びる方向の途中との外導体が互いに接続され、接続部と前記先端部との中間位置において前記外導体が無いギャップ部を備え、前記ギャップ部の前記先端部側に外導体第1端部および前記ギャップ部の前記接続部側に外導体第2端部を備える環状の同軸ケーブルと、
前記外導体第1端部に一方端が接続され、前記外導体第2端部に他方端が接続される環状の線状導体と、
を備え、
前記同軸ケーブルと前記線状導体は、前記ギャップ部を基準として、90°の間隔で配置され、かつ、それぞれ、180°に捻れた形状であり、
前記同軸ケーブルの内導体は、前記外導体第1端部の位置から前記先端部側の部分に前記内導体の切断部を有し、
nを正の整数とし、放射する電波の周波数の同軸ケーブル1波長の電気長をλとして、
前記外導体第1端部から前記切断部までの前記内導体の長さは、(2n-1)λ/4である、
ヘリカルアンテナ。
続きを表示(約 420 文字)
【請求項2】
請求項1に記載のヘリカルアンテナであって、
前記外導体第1端部から前記切断部までの前記内導体の長さは、λ/4である、
ヘリカルアンテナ。
【請求項3】
請求項1に記載のヘリカルアンテナであって、
前記同軸ケーブルの環状部分の長さは、λであり、
前記線状導体の長さは、0.95λである、
ヘリカルアンテナ。
【請求項4】
請求項1に記載のヘリカルアンテナであって、
前記線状導体の断面積と前記同軸ケーブルの断面積は同じである、
ヘリカルアンテナ。
【請求項5】
請求項1に記載のヘリカルアンテナであって、
円形の端面と円筒形の周面を有する絶縁性の支持体を備え、
前記ギャップ部は、前記端面上に配置され、
前記同軸ケーブルと前記線状導体とは、前記周面に沿って配置される、
ヘリカルアンテナ。
発明の詳細な説明
【技術分野】
【0001】
本発明は、円偏波を放射する4線分数巻きヘリカルアンテナに関する。
続きを表示(約 1,100 文字)
【背景技術】
【0002】
従来、水平方向の指向特性が無指向性で、垂直方向が半球状の指向性を持ち、円偏波を送受信するQFHアンテナが各種実用化されている。その一種として、特許文献1に示すようなヘリカルアンテナが考案されている。
【先行技術文献】
【特許文献】
【0003】
特許第3266466号
【発明の概要】
【発明が解決しようとする課題】
【0004】
しかしながら、従来のヘリカルアンテナは、簡素な構造と空電に強いこととを両立することが難しかった。
【0005】
したがって、本発明の目的は、空電に強い簡素な構成のヘリカルアンテナを実現することにある。
【課題を解決するための手段】
【0006】
この一実施形態に係るヘリカルアンテナは、同軸ケーブル、および、線状導体を備える。同軸ケーブルは、先端部と延びる方向の途中との外導体が互いに接続され、該接続部と先端部との中間位置において外導体が無いギャップ部を備え、ギャップ部の先端部側に外導体第1端部およびギャップ部の接続部側に外導体第2端部を備える環状である。線状導体は、外導体第1端部に一方端が接続され、外導体第2端部に他方端が接続される環状である。
【0007】
同軸ケーブルと線状導体は、ギャップ部を基準として、90°の間隔で配置され、かつ、それぞれ、180°に捻れた形状である。同軸ケーブルの内導体は、外導体第1端部の位置から先端部側の部分に切断部を有する。nを正の整数とし、放射する電波の同軸ケーブル1波長の電気長をλとして、外導体第1端部から切断部までの内導体の長さは、(2n-1)λ/4である。
【0008】
この構成では、環状の同軸ケーブルと環状の線状導体とによって、George Badger氏のW6TCに類するバランが形成される。さらに、外導体第1端部と外導体第2端部とを放射素子として円偏波が放射される。これにより、簡素な構成のヘリカルアンテナが実現され、かつ、外導体が放射素子になり、内導体は放射素子にならないので、空電に強くなる。
【0009】
また、この発明の一実施形態に係るヘリカルアンテナでは、外導体第1端部から切断部までの内導体の長さはλ/4である。この構成では、同軸ケーブルおよび線状導体を必要最小限に短くでき、ヘリカルアンテナを小型化できる。
【0010】
また、この発明の一実施形態に係るヘリカルアンテナでは、同軸ケーブルの環状部分の長さはλであり、線状導体の長さは略0.95λである。この構成では、ヘリカルアンテナを小型化できる。
(【0011】以降は省略されています)
この特許をJ-PlatPat(特許庁公式サイト)で参照する
関連特許
APB株式会社
蓄電セル
28日前
ローム株式会社
半導体装置
29日前
マクセル株式会社
電源装置
22日前
株式会社東芝
端子台
22日前
株式会社GSユアサ
蓄電装置
23日前
三菱電機株式会社
回路遮断器
9日前
株式会社GSユアサ
蓄電装置
15日前
富士電機株式会社
電磁接触器
1日前
株式会社GSユアサ
蓄電装置
23日前
株式会社GSユアサ
蓄電装置
1日前
トヨタ自動車株式会社
バッテリ
28日前
北道電設株式会社
配電具カバー
28日前
日新イオン機器株式会社
基板処理装置
25日前
日本特殊陶業株式会社
保持装置
14日前
トヨタ自動車株式会社
蓄電装置
23日前
甲神電機株式会社
変流器及び零相変流器
16日前
ローム株式会社
半導体モジュール
2日前
ヒロセ電機株式会社
電気コネクタ
1日前
日本無線株式会社
レーダアンテナ
16日前
株式会社レゾナック
冷却器
9日前
トヨタ自動車株式会社
密閉型電池
24日前
日亜化学工業株式会社
半導体レーザ素子
25日前
住友電装株式会社
コネクタ
1日前
株式会社デンソー
電子装置
25日前
矢崎総業株式会社
コネクタ
1日前
株式会社デンソー
半導体装置
1日前
株式会社デンソー
熱交換部材
16日前
マクセル株式会社
扁平形電池
29日前
日本航空電子工業株式会社
コネクタ
14日前
富士電機株式会社
半導体モジュール
17日前
三協立山株式会社
バッテリーケース
29日前
新電元工業株式会社
半導体装置
1日前
トヨタ自動車株式会社
蓄電モジュール
23日前
TDK株式会社
電子部品
1日前
クレザス株式会社
半導体装置の製造方法
15日前
FDK株式会社
組電池及びその作製方法
11日前
続きを見る
他の特許を見る