TOP
|
特許
|
意匠
|
商標
特許ウォッチ
Twitter
他の特許を見る
10個以上の画像は省略されています。
公開番号
2025166861
公報種別
公開特許公報(A)
公開日
2025-11-07
出願番号
2024071014
出願日
2024-04-25
発明の名称
船舶航行支援システム、および、船舶航行支援方法
出願人
古野電気株式会社
代理人
弁理士法人 楓国際特許事務所
主分類
B63H
25/04 20060101AFI20251030BHJP(船舶またはその他の水上浮揚構造物;関連艤装品)
要約
【課題】航行の目的位置と自船との距離を精度良く計測する。
【解決手段】
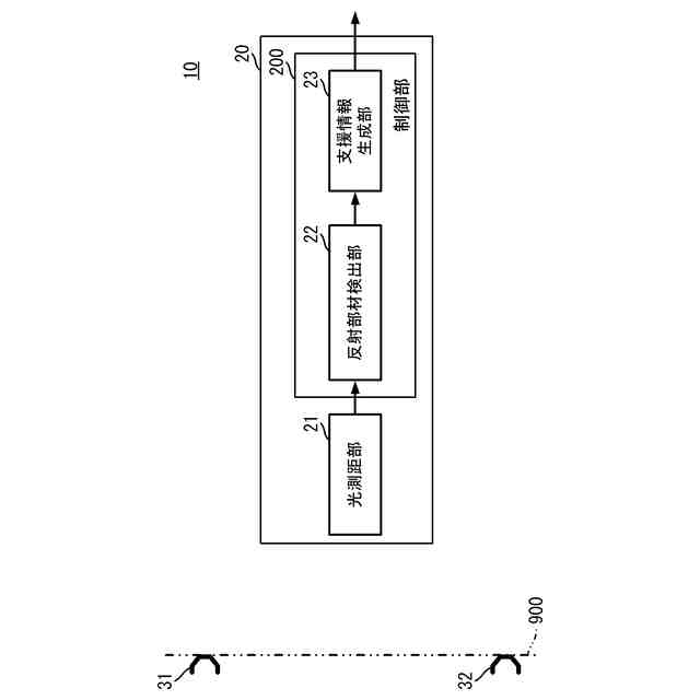
航行支援システムは、反射部材、光測距部、反射部材検出部、および、支援情報生成部を備える。反射部材は、船舶が着岸する目標物に対応した複数の箇所に配置される。光測距部は、船舶に設置され、三次元測距を行う。反射部材検出部は、三次元測距の結果から複数の反射部材の位置座標を検出する。支援情報生成部は、複数の反射部材の位置座標に基づいて、船舶と目標物との距離および偏角を計測する。
【選択図】 図1
特許請求の範囲
【請求項1】
船舶が着岸する目標物に対応した複数の箇所に配置された反射部材と、
前記船舶に設置され、三次元測距を行う光測距部と、
前記三次元測距の結果から前記複数の反射部材の位置座標を検出する反射部材検出部と、
前記複数の反射部材の位置座標に基づいて、前記船舶と前記目標物との距離および偏角を計測する支援情報生成部と、
を備える、航行支援システム。
続きを表示(約 1,300 文字)
【請求項2】
請求項1に記載の航行支援システムであって、
前記目標物は、前記船舶が着岸する岸壁線を含み、
前記複数の反射部材と前記岸壁線との位置座標によって設定されるオフセット補正値に基づいて、前記船舶と前記岸壁線との距離および偏角のオフセット補正を行うオフセット補正部を備える、
航行支援システム。
【請求項3】
請求項2に記載の航行支援システムであって、
前記オフセット補正部は、初回着岸時の測距結果または前記複数の反射部材の設置時の実測結果に基づいて、前記オフセット補正値を設定する、
航行支援システム。
【請求項4】
請求項1に記載の航行支援システムであって、
前記目標物は、前記船舶が着岸する岸壁線を含み、
前記複数の反射部材は、前記岸壁線に平行に配置される、
航行支援システム。
【請求項5】
請求項3に記載の航行支援システムであって、
前記複数の反射部材は、
3つ以上であり、
前記岸壁線に配置された2つの反射部材と、前記岸壁線から水平方向に離れた位置に配置された反射部材を含む、
航行支援システム。
【請求項6】
請求項1に記載の航行支援システムであって、
前記複数の反射部材は、
3つ以上であり、
前記目標物に含まれる岸壁線に平行に配置された2つの反射部材と、前記2つ反射部材に対して高さ方向に離れて配置された反射部材を含む、
航行支援システム。
【請求項7】
請求項6に記載の航行支援システムであって、
前記2つ反射部材に対して高さ方向に離れて配置された反射部材は、前記2つの反射部材の少なくとも1つに対して、前記岸壁線に平行な方向の位置が同じであり、
前記高さ方向に離れて配置され、互いの高さ関係が既知の2つの反射部材と前記船舶との距離に基づいて、前記船舶のロール角を推定するロール角推定部を備える、
航行支援システム。
【請求項8】
請求項2に記載の航行支援システムであって、
前記複数の反射部材は、
4つ以上であり、
設置位置の高さが異なる2つの反射部材を1組として、2組以上で構成され、
前記2組以上の反射部材の組は、前記岸壁線に平行な方向に間隔を空けて配置されている、
航行支援システム。
【請求項9】
請求項1に記載の航行支援システムであって、 互いの高さ関係が既知で前記目標物に含まれる岸壁線に平行に配置された2つの反射部材と前記船舶との距離に基づいて、前記船舶のピッチ角を推定するピッチ角推定部を備える、
航行支援システム。
【請求項10】
請求項9に記載の航行支援システムであって、
潮汐情報をさらに用いて、前記船舶の喫水を推定する喫水推定部を備える、
航行支援システム。
(【請求項11】以降は省略されています)
発明の詳細な説明
【技術分野】
【0001】
本発明は、船舶の離着岸時等に利用する航行支援技術に関する。
続きを表示(約 950 文字)
【背景技術】
【0002】
距離センサを用いて自船舶と岸壁等の対象物との距離を計測する着岸支援装置が知られている。
【先行技術文献】
【特許文献】
【0003】
特許第5000244号明細書
【発明の概要】
【発明が解決しようとする課題】
【0004】
しかしながら、従来の着岸支援装置では、例えば着岸する岸壁等のような航行の目的位置と自船との距離を精度良く測定できないことがある。
【0005】
したがって、本発明の目的は、航行の目的位置と自船との距離を精度良く計測することにある。
【課題を解決するための手段】
【0006】
この発明の一実施形態に係る航行支援システムは、反射部材、光測距部、反射部材検出部、および、支援情報生成部を備える。反射部材は、船舶が着岸する目標物に対応した複数の箇所に配置される。光測距部は、船舶に設置され、三次元測距を行う。反射部材検出部は、三次元測距の結果から複数の反射部材の位置座標を検出する。支援情報生成部は、複数の反射部材の位置座標に基づいて、船舶と目標物との距離および偏角を計測する。
【0007】
この構成では、船舶が着岸する目標物に複数の反射部材を配置するだけで、航行の目的位置と自船との距離および偏角を精度良く計測できる。
【0008】
この発明の一実施形態に係る航行支援システムでは、目標物は、船舶が着岸する岸壁線を含む。航行支援システムは、オフセット補正部を備える。オフセット補正部は、複数の反射部材と岸壁線との位置座標によって設定されるオフセット補正値に基づいて、船舶と岸壁線との距離および偏角のオフセット補正を行う。
【0009】
この構成では、反射部材を岸壁線上に設置できなくても、船舶と岸壁線との距離および偏角を計測できる。
【0010】
この発明の一実施形態に係る航行支援システムでは、オフセット補正部は、初回着岸時の測距結果または複数の反射部材の設置時の実測結果に基づいて、オフセット補正の補正値を設定する。
(【0011】以降は省略されています)
この特許をJ-PlatPat(特許庁公式サイト)で参照する
関連特許
古野電気株式会社
装置
1か月前
古野電気株式会社
送受波器
24日前
古野電気株式会社
監視装置
1か月前
古野電気株式会社
ヘリカルアンテナ
今日
古野電気株式会社
アンテナ装置、送信機、及びレーダー
今日
古野電気株式会社
電磁波整合装置、電磁波通過装置、及び壁
1か月前
古野電気株式会社
監視装置、レンズ識別方法、及びプログラム
1か月前
古野電気株式会社
画像表示装置、画像表示方法およびプログラム
今日
古野電気株式会社
船舶航行支援システム、および、船舶航行支援方法
13日前
古野電気株式会社
遊泳速度測定装置、遊泳速度測定方法、及びプログラム
23日前
古野電気株式会社
気象予測装置、気象予測方法および気象予測プログラム
1か月前
古野電気株式会社
海図情報表示システム、海図情報表示方法、及びプログラム
1か月前
古野電気株式会社
レーダ装置、エコー画像生成方法およびエコー画像生成プログラム
16日前
古野電気株式会社
船体制御装置、船体制御システム、船体制御方法、船体制御プログラム
1か月前
個人
水上遊具
5か月前
個人
洋上研究所
4か月前
個人
川下り用船
11か月前
個人
船用横揺防止具
9か月前
個人
津波防災ウエア
3か月前
個人
補助機構
8か月前
個人
コンパクトシティ船
8か月前
個人
渦流動力推進構造
8か月前
個人
セールのバテンガイド装置
4か月前
石田造船株式会社
内航船
13日前
炎重工株式会社
浮標
10か月前
炎重工株式会社
浮標
10か月前
個人
水質浄化・集熱昇温システム
5か月前
住友重機械工業株式会社
船舶
4か月前
個人
スクリュープロペラ
8か月前
個人
船舶
10か月前
株式会社ラフティ
サーフボード
4か月前
株式会社フルトン
水中捕捉装置
8か月前
個人
回転式による流体流出防止タンカー
8か月前
ペアリ株式会社
海の環境改善装置
24日前
オーケー工業株式会社
係留フック
9か月前
スズキ株式会社
船外機
6か月前
続きを見る
他の特許を見る